
| Blättern |
TEIL C

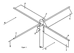
Über diesen Rotor findet sich nichts in der Literatur - er ist mir auch nur durch die persönliche Bekanntschaft mit seinem Erfinder, dem Iraker Tahsin Al-Majed, Mitte der 1980er Jahre bekannt geworden. Dieser wird uns später noch als Entwickler des geschlitzen Rotorblatts begegnen.

Im Grunde handelt es sich um die Weiterentwicklung eines erstmals
(?) 1719 in Frankreich entwickelten Systems mit waagrecht
umklappenden Flügeln an Querachsen, die in mehreren, versetzt übereinander
angeordneten Lagen durch eine senkrechte Rotationsnabe geführt werden.
Im
Nachlaß des DDR-Archivars Günter Rapp, der sich vor allem intensiv mit
der Erforschung von Windmühlen in Ostdeutschland beschäftigte und 14.000
schwarzweiße Kleinbildaufnahmen von Mühlen und deren Umgebung aufgenommen
hatte, deren Negative im Jahr 2005 von der Deutschen
Fotothek übernommen und digitalisiert worden sind, fand ich auch das
abgebildete Foto eines Windrades in Leipzig-Sellerhausen-Stünz, das ebenfalls
zur Hammurabi-Klasse gezählt werden kann.

Die Originalaufnahme stammt aus der Zeitung Der Leipziger vom 9.3.1907.
Nathaniel
Strickland aus Carlsbad, New Mexico, meldet 1972 einen
Rotor mit Klappflügeln an (US-Nr. 3.743.848, erteilt 1973),
ebenso wie Leo C. Krazinski aus Boca Raton, Florida (US-Nr. 3.902.072,
angemeldet 1974, erteilt 1975), wobei
es sich in beiden Fällen um Senkrechtachser handelt.
Interessant ist, daß es ein noch ein weiteres, sehr ähnliches
deutsches Patent von Herrn Josef Wisniewski aus Celle gibt, das fast
zeitgleich 1978 mit
der Erfindung von Al-Majed eingereicht wird.

Doch damit nicht genug!
So bekommen z.B. bei dem europäischen Wissenschafts-Wettbewerb ‚Jugend forscht’ im Jahr 1995 zwei ungarische Schüler einen Preis für das im Grunde exakt gleiche System zugesprochen.
Es scheint also, als ob diese Idee unbedingt umgesetzt werden ‚will’ – selbst wenn dieser Vertikal-Rotor (nur) ein Widerstands- und Langsamläufer ist, dessen Attribute auf einen geringen Leistungsbeiwert hinweisen, wie verschiedene Aerodynamiker gemeint haben.
Bei unseren eigenen Experimenten, die wir in meiner damaligen Solarwerkstatt in Damakus durchgeführt haben, kamen wir jedoch zu einem sehr interessanten Ergebnis:

Ein kleines Modell des Rotors wurde auf einem dreirädrigen Wagen installiert, der als Getriebe einen umgewidmeten Handbohrer besaß.
Richtete man nun einen Zimmerventilator auf das Gerät, so fing dieses überraschenderweise an, mit schnell zunehmender Geschwindigkeit auf die Windquelle zuzufahren.
Und je stärker der Wind blies, desto schneller fuhr ihm das Wägelchen entgegen!
Über die Technologie der Gegewindfahrzeuge berichte ich ausführlich in dem entsprechenden Kapitelteil (s.d.).

Die Technolgie der Klappflügel ist also nicht nur schon früh
erfunden worden, sondern sie ist auch äußerst hartnäckig.
Da sie bislang noch immer nicht im praktischen Einsatz ist, taucht sie einfach immer wieder von neuem auf - so z.B. auch in dem 2002 beantragten und 2003 erteilten Internationalen Patent WO-Nr. 2003/14564 des griechischen Erfinders Vladimiros Manelidis.

Anhand der Grafik erkennt man schnell, daß sich der Erfinder auf die essentielle Technik der um 90° versetzten Klappflügel konzentriert hat.
2004 kommt die Erfindung von Robert D. Hunt in die Presse, der ebenfalls einen Senkrechtachser mit Klappflügeln vorstellt, der einen Wirkungsgrad von 44 % besitzen soll.
Während die Modelle der Hunt Aviation Corp. in Pass Christian,
Mississippi, noch abgerundete Klappen haben (Disc-Rotor),
sehen die zukünftigen Konzepte ebenfalls eckige Flächen vor – wobei
das System als schwimmende Barke sowohl die Wind- als auch die Strömungsenergie
nutzen soll, natürlich mit jeweils angepaßten Systemen aufgrund
der unterschiedlichen Dichte von Luft und Wasser.

Mitte 2005 berichten einige Blogs in den USA ein weiteres
Mal über die wiederum gleiche Erfindung – die diesmal
ein John M. Thalmann aus Crown Point, Indiana, gemacht hat, der auf seinem
Dach ein Modell mit einem Durchmesser von immerhin 365 cm vorführt.

Inzwischen bin ich mir ziemlich sicher, daß eine gezielte internationale Recherche noch Hunderte weiterer Parallelerfindungen des Klappflügel-Rotors zum Vorschein bringen würde... denn sogar schon eine erste, eher oberflächliche Suche erbrachte eine wahre Flut ähnlicher Entwicklungen.
Ein weiteres System, das ich hier einordnen möchte, ist
der patentierte Rotor des spanischen Entwicklungsunternehmen Barco WM,
bei dem die Einzelblätter
wiederum senkrecht angeordnet sind.
2002 erhält diese Erfindung die Silbermedaille der Erfindermesse Gálactica, danach hört man jedoch nichts mehr darüber.

Außer dem hier abgebildeten Modell scheinen auch keine weiteren Rotoren gebaut worden zu sein.
Das im Jahr 2006 gegründete
Büro Alternativer Lokaler Kreativer Energien BALKE GmbH in Wendeburg,
hinter dem der Dipl.-Ing. Klaus-Dieter Balke steht, will dessen Erfindung
kommerzialisieren, einen Vertikal-Achser, der ebenfalls wie ein etwas
groß geratener Hammurabi-Rotor aussieht.
Balke führt ab 2001 Modellversuche in einem selbstgebauten Windkanal durch, und meldet 2002 das erste Patent an (DE-Nr. 102 12 827.8, erteilt 2003). Die zweite Anmeldung im Jahr 2003 erfolgt bereits unter dem seltsamen Namen ,Windkraftmaschine Ö|Ö|L|-Quelle’, was ,Ökonomisch Ökologische Leistungs-Quelle’ bedeuten soll (DE-Nr. 103 18 231.4, erteilt 2004), während gleichzeitig mit der Konstruktion und dem Bau einer Anlage in voller Größe begonnen wird.
Im März 2007 wir die Konzeptphase abgeschlossen, und 2008 ein 3. Patent angemeldet (DE-Nr. 10 2008 025 513.0, erteilt 2009).
Eine erste Maschine KH1 wird im August 2011 aufgebaut, die Testläufe starten im Januar 2012, und auch Orkane mit bis zu 162 km/h können der Wind-Maschine nichts antun. In der darauffolgenden Zeit wird die Anlage weiter optimiert, teilweise mit gravierenden Konzept-Änderungen.

Bereits 1994 läßt sich der Erfinder Vladimir Markovic aus dem slowenischen Ljubljana eine Laufwasser-Pumpe für Flüsse patentieren, deren Klappflügel ebenfalls nach dem hier beschriebenen System funktionieren.
Es dauert allerdings bis 2008, als Markovics Firma Izumi die Produktreife der Anlage bekanntgibt.
Der vorgestellte Prototyp besitzt drei Blattpaare, hat einen Durchmesser von 2,4 m und soll in der Lage sein, bis zu 300 m3 Wasser pro Tag zu pumpen (allerdings wird nicht angegeben, bei welchem Höhenunterschied).

Der erwartete Preis variiert zwischen 3.500 $ für die Einzelpumpe und 11.000 $ für ein System mit angeschlossenem Generator.
Der Erfinder Tom J. Gilmour aus Toronto stellt im April 2007 ein weiteres System vor, das dem von Barco WM ähnelt.
Gilmour nennt seine patentierte Windenergieanlage, die mit 8 tragflächenartigen Flügeln bestückt ist, welche von einer etwas kompliziert erscheinenden exzentrischen Mechanik gesteuert werden, Tom’s Whirligig. Bislang scheint es von dem System aber nur einige Grafiken zu geben.

Ein Pierre Dieudonné wiederum läßt sich 2007 einen
Senkrechtachser patentieren, der ebenfalls mit einer Blattverstellung
ausgestattet ist, die dem hier vorgestellten Prinzip entspricht.
Der Erfinder vergleicht sein System mit einem Segelboot, das im Kreis herumfährt. Obwohl die Erfindung auf verschiedenen Messen und Ausstellungen mehrere 2. und 3. Preise gewinnt, scheint sie bislang noch nicht umgesetzt worden zu sein.

Im April 2008 veröffentlicht Dieudonné immerhin einen Clip, auf dem ein Prototyp namens Carma zu sehen ist, der das Prinzip seiner automatischen Blattnachstellung demonstrieren soll.
Das Modell wiegt 217 kg, hat einen Durchmesser von knapp 2 m, und eine Höhe von 1 m, während die fünf klappbaren Einzelblätter eine Höhe von jeweils 0,84 m haben.
Ebenfalls ab 2007 publiziert der
polnische Erfinder Maciej Żurek sein Modell eines Senkrechtachsers mit
zwei senkrecht gelagerten Klappflügeln, das im Vergleich zu der Vielzahl
anderer Systeme jedoch relativ beschränkt wirkt.

Aufgrund seiner Konstruktionsmerkmale gehört es jedoch mit in diese Auflistung. Von einer Umsetzung ist bislang nichts bekannt.
Im
Jahr 2007 meldet Ray-hung Liang aus Morris Plains,
New Jersey, ein Patent für einen Klapptotor an (US-Nr. 20090066088).
Diverse Systeme erscheinen ab 2007 auch
in Form kurzer YouTube-Clips – zumeist leider ohne Angaben zu ihren
Entwicklerb, von technischen Details ganz zu schweigen.

Aus der Vielzahl entsprechender Rotordesigns, die häufig auch nur als grafische Umsetzungen vorgestellt werden, habe ich einige ausgewählt, die mir besonders erwähnenswert erscheinen.
Die Butler
Windmill von G. L. Gore beispielsweise besteht aus mehreren,
sich automatisch anstellenden Blättern, die auf einer Fahrradfelge montiert
sind. Bislang scheint es bei dem kleinen Demonstrationsmodell geblieben
zu sein.
Fast genau wie der Hammurabi-Rotor ist ein Wing
Tree oder Clap Trap-Rotor aufgebaut, der
Mitte 2008 in einem Clip präsentiert wird.

Er hat allerdings nur zwei waagrechte Achsen, an deren Seiten jeweils zwei nach oben und unten aus- bzw. einklappbare Blatthälften angebracht sind. Über Herkunft des Konzepts gibt es keine Angaben.
Verschiedene Klappflügel werden auch in einigen Clips
vom September 2008 vorgestellt, wobei der Erfinder zumindest
umfassende Kenntnisse bei der grafischen Darstellung beweist.
Die aufklappbaren Segel sind mal senkrecht, mal waagrecht angeordnet, rotieren allerdings stets um ihre senkrechte Achse.
Leider gibt es auch hier keinerlei Hinweise auf die Urheberschaft.

Sehr aktiv ist Marc Olivé aus Spanien, der sich u.a.
riesige Türme mit vertikal rotierenden Blättern vorstellt, die Leitern
ähnlich sehen, und mit Reihen von Einzelklappen versehen sind.

Neben unzähligen Designs, wie z.B. dreiarmige Klappen-Rotoren mit gebogenen Flügeln, sowie unzähligen Umsetzungsvorschlägen, wie z.B. Anwendungen auf Schiffen und Gebäuden, stellt Olivé 2007 einen Prototypen MOD.05 mit drei großen, gebogenen Blättern vor, der groß genug ist, um begehbar zu sein.
Das Modell unter dem Namen Molino Inteligente erlaubt es, sich den Mechanismus der automatisch auf- und zuklappenden Blattsegmente aus den Nähe anzuschauen.
Die geschätzte Leistung eines derart dimensionierten Segments mit drei Flügeln und insgesamt 21 Klappen soll 180 kW betragen. Die Flügel sind 3 m hoch.

Um einen Eindruck von der Vielfalt des innovativen Oeuvres mit mehr als 20 Mühlenmodellen zu erhalten, hatte ich bislang empfohen, einen Besuch auf der Homepage des Erfinders und Designers zu machen - die zwischenzeitlich jedoch verschwunden ist, zusammen mit allen weiteren informationen über das interessante Projekt. Im Netz sind allerdings noch diverse YouTube Clips zu finden.
Das Ganze firmiert unter dem Namen Oliran Magevais s.l. in Barcelona, auf deren Homepage eine Vielzahl neuer Designs zu sehen ist, bei denen die Rotoren in eckigen Türmen untergebracht sind.

Es scheint einige praktischen Versuche gegeben zu haben - doch das übrige kann einem Spanisch vorkommen...
Seit 2009 verfolgt Olivé auch die Idee großer, zylindrischer Windkraftanlagen, bei denen auf Schienen laufenden Rotationssysteme, die mit vielen außen umlaufenden Klapp-Schaufeln versehen sind, etagenweise übereinander gestapelt sind. Zur Energiespeicherung schlägt er Wasserstoff vor.
Vom Mai 2009 datiert
die Animation eines weiteren senkrecht rotierenden Mehrblattrotors mit
vielen einzelnen Klappblättern, die lamellenartig dem Prinzip des Hammurabi-Rotors
folgen.

Das System hat große Ähnlichkeit mit den Modellen von Olive. Leider ließ sich dazu nur eruieren, daß der Designer in den USA tätig ist, technische Details gibt es keine.
Die Pivoted
Panel Wind Turbine erscheint im April 2009 als
Clip im Netz. Von ihrem Erfinder ist nur bekannt, daß er in einer Waldregion
in Norden des US-Bundesstaates Minnesota wohnt.
Auch dieses Konzept entspricht dem Hammurabi-Rotor, wobei die Blätter diesmal wieder senkrecht stehen und damit dem Modell von Olive ähneln. Bislang gibt es nur das abgebildete Kleinmodell.

Zumindest grafisch überzeugt ein weiterer Senkrechtachser mit vielen klappbaren, waagrechten Tragflächen, dessen Design ebenfalls als ‚open source’ betrachtet werden soll.
Der Entwickler Bill Jenkins aus den USA hofft, daß Ingenieure seine Konstruktion nun durchrechnen und umsetzen.
Bei dem im April 2009 ebenfalls als
YouTube-Clip veröffentlichten und Wind Gin genannten
System sind die viereckigen Klappen an senkrechten Einzelachsen befestigt
(J 3).

In einem weiteren Entwurf wird aber auch eine waagrechte Bauweise vorgeschlagen, bei der die Klappen als Tragflächen konzipiert sind, die von Minimotoren gesteuert werden (J 2) – was die Technik allerdings sehr kompliziert macht.
Eher dem weiter oben präsentierten Disc-Rotor
gleicht ein vermutlich aus Italien stammendes Design, das unter dem Namen Gyromag (aus:
Gyroscopic und Magnus, ein anderer Name ist mb3k bzw. Mirabolatore
3000)
vorgestellt wird.

In dem Clip sieht man ein Modell mit zwei Sätzen aus jeweils vier Scheiben, wobei sich der obere Satz in gegenläufiger Richtung zum unteren dreht. Die Einzelklappen befinden sich auf den Scheiben selbst.
Die mittige Lagerung der Rotorenachse erlaubt dem Ganzen aufgrund des Magnuseffekts, auch um diese Achse zu rotieren – wobei allerdings nicht klar ist, was der Nutzen dieser Anordnung sein soll.
Der Erfinder scheint auch schon ein kleines Funktionsmodell gebaut zu haben, von dem in dem Clip allerdings nur unbefriedigende Ausschnitte gezeigt werden.

Im August 2009 wird ein weiterer YouTube-Clip
veröffentlicht, auf dem ein fast schon exakter Nachbau des Hammurabi-Rotors
zu sehen ist.
An den vier waagrechten Achsen, die um 90° hin- und herklappen können, sind rechteckige Blätter angebracht.
Der nicht genannte Erfinder aus Italien erwähnt nur, daß er diesen Prototyp „nach einer Reihe von Studien über die Aerodynamik“ im März 2005 gebaut habe, und daß dieser sehr rund läuft.

Unter dem Namen Silent Wind Turbine
wird auf der Chicago Wind Conference 2009 ein Senkrechtachser
mit geraden Blattflächen und variablen Anstellwinkeln vorgestellt, der
das Resultat einer 15-jähriger Forschungsarbeit ist.
Das herstellende Unternehmen JL CarbonFree Energy Co. Ltd. aus Changchun/Jilin in China, das neben Standard-Kleinwindanlagen und Solarkollektoren auch verschiedene Darrieus-Modelle anbietet, macht durch die veränderbaren Blattwinkel den Schritt zur Hammurabi-Technologie.

Die Firma bietet die neue Turbine in drei verschiedenen Größen an (3 kW, 5 kW und 10 kW).
Ein
Henry Kroll III. behauptet 2009,
daß die Technologie sogar schon von den alten Ägyptern genutzt wurde
– und unterstützt seine unbelegte Aussage mit selbsgeschaffenen Animationen,
auf denen man eine Reihe von mechanischen Horus-Falken sieht, die auf
Djed-Säulen thronen und mit ihren ausgebreiteten (Klapp-)Flügeln Energie
aus dem Wind umsetzen.

Zumindest gibt der phantasievolle Kroll zu, keinerlei Beweise für seine These zu haben.
Im März 2010 zeigt ein Sam Weiss ein
Video seiner Abschlußarbeit am MIT.
Sein Senkrechtachser besitzt Blätter mit Tragflächenprofil und sich automatisch nachstellenden Winkeln, um stets die maximale Auftriebsenergie abfangen zu können – bzw. auf der gegenüberliegenden Seite den höchsten Grad an Widerstand.

Ich selbst habe Ende 2009 damit begonnen,
ein etwas größeres Modell des originalen Hammurabi-Rotors zu
bauen, der einen dreirädrigen ‚Windwagen’ bewegen soll.
Nachtrag 2012: Das Hochskalieren ist nicht so einfach wie gedacht.
Es sind noch verschiedene weitere Veränderungen notwendig, bevor das Teil seine ersten Testfahrten machen kann.
Da ich hier in Berlin - im Gegensatz zur damaligen Situatiuon in Damaskus - keine eigene Werkstatt habe, muß ich immer wieder Freunde um ihre Mithilfe bitten.
Insbesondere bei Jannis Kapatenakis möchte ich mich für seine bisherige Unterstützung bedanken. Und irgendwann wird sich das Teil auch noch in Bewegung setzen...!
Im
Jahr 2014 wird
das System ein weiteres Mal ,erfunden’,
diesmal von einem Austen Barnes aus Buffalo, New York, der sich damit
am Create The Future Wettbewerb beteiligt.

Das chinesische Konzept eines riesigen Senkrechtachsers mit 1 GW Leistung, der in der Lage sein soll, alleine bis zu 750.000 Haushalte mit Strom zu versorgen, wird im Juni 2006 auf der Wind Power Asia Exhibition in Peking vorgestellt. Über 50 Länder zeigen Interesse an dieser Entwicklung. Es handelt sich um die gigantischste Vision im Windenergiebereich, von der ich bislang gehört habe. Andererseits haben bislang aber auch noch über 70 Millionen Haushalte in China keinen Stromanschluß...
Eine Besonderheit der MagLev Windturbine sind magnetische und daher so gut wie vollständig reibungsfreie Lager – was ein schnellen Anlaufen und die Nutzung von Windgeschwindigkeiten bereits ab 1,5 m/s erlauben soll. Man rechnet daher mit einem Stromabgabepreis von unter 5 US-Cent pro kWh. Eine 1 GW Anlage soll sich dadurch bereits innerhalb nur eines einzigen Jahres amortisieren.
Im Gegensatz zu bisherigen Ansätzen magnetischer Lagerungen werden hier keine elektrischen Spulen eingesetzt sondern Permanentmagnete, was die Betriebskosten signifikant senkt. Für die Herstellung dieser Magnete werden große Mengen an Neodym benötigt, das zu den seltenen Erden gehört – allerdings beherrscht China schon heute 90 % des Weltmarktes für Magnete aus seltenen Erden.

Auch die Umsetzung des Konzepts erfolgt schnell – jedoch (noch) in wesentlich kleinerem Maßstab. Im November 2007 beginnen in Zentralchina die Bauarbeiten an einer Fabrik zur Herstellung von Maglev-Windturbinen in einem Leistungsbereich zwischen 300 W und 20 kW. In den Bau der Fabrik investiert die Zhongke Hengyuan Energy Science & Technology Co. Ltd. aus Guangzhou 400 Millionen Yuan (= ca. 37,5 Mio. €). Die ersten Produkte sollen bereits Mitte 2008 ausgeliefert werden, anschließend soll mit dem Bau von Anlagen im Leistungsbereich von 400 kW bis 5 MW begonnen werden.
Die Technik selbst wurde von der Firma in Zusammenarbeit mit dem Energy Research Institute der Chinesischen Akademie der Wissenschaften in Guangzhou entwickelt, geleitet wird das Projekt vom Firmenchef Guokun Li.
In den USA soll die in Sierra Vista, Arizona, beheimatete Firma MagLev Wind Turbine Technologies Inc. unter der Leitung des Energieforschers Ed Mazur die neuen Turbinen herstellen. Dieser geht davon aus, daß mit der neuen Technologie ein kWh-Preis unterhalb von 1 US-Cent erreichbar wird. Die Baukosten für eine 1 GW-Anlage veranschlagt er auf nur 53 Mio. US-$, was wesentlich günstiger wäre als konventionelle Windparks gleicher Leistung.

Im Februar 2009 gibt es auf der Homepage des Unternehmens einen animierten 4-Minuten Clip, der die Großversion („...leistet so viel wie 500 Standard-Windrotoren!“) unter dem Namen Regenedyne vermarkten soll. Diese gewaltige Anlage, die stark an das obige chinesische Konzept erinnert, soll 2 GW leisten. Neben den zentralen Rotor, der aus riesigen Halbschalen besteht und auf einem magnetischen Feld gelagert ist, gibt es drei große, segelähnliche Leitflächen, die auf Kreisschienen laufen und den Wind auf die Schaufeln lenken sollen. Der Flächenbedarf einer derartigen Anlage wird auf 40 ha beziffert.
Im Januar 2010 soll das inzwischen als Regenedyne firmierende Unternehmen ein Joint-Venture mit der Gazoo Energy Group Inc. aus Irvine, Kalifornien, eingegangen sein, um die Finanzierung einer ersten Anlage zu ermöglichen.

Ein ähnliches, aber wesentlich kleineres System für Hausdächer, wurde bereits vor einigen Jahren von Thomas Priest-Brown und Jim Rowan in Kanada erfunden. Ihre ebenfalls magnetische gelagerte ‚MagWind VAWT’ Windturbine ist um 2006 von der Mag-Wind Company LLC in Texas zur Produktreife weiterentwickelt worden und soll von der ebenfalls texanischen Firma Vector Systems Inc. in Richardson produziert werden. Dieser Senkrechtachser läuft in den USA unter dem Namen ‚Magnetically-Levitated Axial Flux Alternator with Programmable Variable Coil Resistance’.
Als erstes will man das Modell ,MagWind MW1100’ auf den Markt bringen, das etwa 1,2 m hoch ist und einen größten Durchmesser von ebenfalls 1,2 m besitzt. Bei einer durchschnittlichen Windgeschwindigkeit von 21 km/h soll es 1.100 kW/h im Monat produzieren. Der Preis scheint allerdings über 10.000 $ zu liegen.
Anfang 2007 teilt das Unternehmen mit, daß der Rotor 1,8 hoch wird – doch danach gibt es lange keine neuen Informationen mehr über das Projekt. Erst 2009 erscheint Rowan mit einem stark abgewandelten Design, bei dem sich nur noch drei, dafür aber wesentlich größere Flügel drehen. Das System ähnelt damit wieder stärker seinem Ahnen, dem Savonius-Rotor.
Das neu gegründete Unternehmen Enviro Energies Holdings Inc. in Delaware übernimmt die Lizenz und will die MagWind Rotoren für den Dachaufbau nun unter dem Namen Enviro Energies Turbine in Baugrößen von 2,5 kW, 5 kW und 10 kW auf den Markt bringen, zu Basispreisen von 10.000 $, 21.000 $ und 40.000 $ (zuzüglich Inverter usw.).

Den Verlautbarungen während der Produktpräsentation auf der International Builders’ Show in Las Vegas im Januar 2009 ist zu entnehmen, daß die Enviro-Mutterfirma, die Niagara Center Research Corp., im Laufe der vergangenen Dekade rund 4 Mio. $ in die Entwicklung der MagWind-Technologie investiert hätte, der Ende 2007 auch das US-Patent erteilt wurde. Inzwischen drehen sich bereits rund 30 Prototypen in den USA, Kanada und Italien.
Ebenfalls im Januar bekommt der berühmte Talkshow-Moderator Jay Leno eine 1,5 kW Anlage auf sein Garagendach montiert.
Ab 2009 erscheinen zunehmend YouTube-Clips von kleinen, selbstgebauten Maglev-Rotoren, bei denen zumeist Neodym Ringmagnete zum Einsatz kommen. Von der Struktur her sind sich alle ähnlich, im Grunde handelt es sich um Mehrblatt-Savonius-Rotoren, die statt auf Rollen- oder Wälzlager auf einem Magnetfeld schweben. Es ist allerdings fraglich, ob dies bei kleinen Modellen überhaupt einen Sinn macht.
Eine sehr eigene Form von Windkraftwerk, bei der eine magnetisch levitierende Schwungscheibe mit einem Gewicht von 30 t zum Einsatz kommt, habe ich bereits in der betreffenden Länderübersicht präsentiert (s.u. Südkorea - in Arbeit).
Ansonsten hat sich auf diesem Gebiet in den Folgejahren nichts mehr getan.
Nach dieser Übersicht der Vertikalachsen-Anlagen folgen nun weitere
Windenergie-Systeme wie Drachen, Zeppeline, Tornadotürme oder Abwindkraftwerke.
Es ist wirklich bemerkenswert, was sich der menschliche Erfindungsgeist
im Laufe der Jahrhunderte alles so ausdenkt.