
| Blättern |
TEIL C
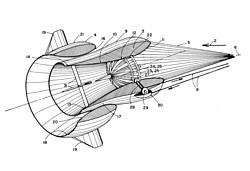
Dieser Rotor bildet eine interessante Variante im Vergleich zu den konventionellen
Systemen, und beruht auf einer bis heute einmaligen technischen Konzeption.
Das Patent hierfür wird Jean
Edouard Andreau im Oktober 1949 erteilt (US-Nr.
2.485.543, beantragt 1946). Andreau wird
in den 1930er Jahren als ein Pionier der Aerodynamik im Fahrzeugbau bekannt.

Anstatt, wie üblicherweise, die erzielte Drehenergie des Rotors mechanisch über Generatoren in elektrischen Strom umzuwandeln, wird die Zentrifugalkraft der Rotation pneumatisch übertragen. Dabei wird die Fliehkraft dazu genutzt, die Luft aus den hohlen Rotorblättern durch Öffnungen an den Spitzen herauszudrücken bzw. herauszuschleudern.
Durch den Unterdruck, der sich dadurch im Innenraum des Rotors aufbaut, wird durch den ebenfalls hohlen Turm Luft von unten angesaugt, wobei die erzeugte schnelle Strömung eine im Sockel untergebrachte Luftturbine antreibt, die den Strom erzeugt.

Das Verfahren vermeidet zwar die problematische, drehzahlstarre Verbindung vom Rotor zum Generator, kann jedoch mit seinem Wirkungsgrad von ca. 20 % (andere Quellen: 22 %) nicht überzeugen. Hauptsächlich Schuld daran scheinen hohe Reibungsverluste sowie Dichteprobleme an den Drehgelenken zu sein.
1952 (andere Quellen: 1955) wird von der Enfield Cable Company eine 100 kW Versuchsanlage mit einem Rotordurchmesser von 24,4 m und einer Turmhöhe von 30 m aufgebaut, die wegen des ungünstigen Standorts in St. Albans, Herfordshire, später jedoch wieder demontiert, und 1957 noch einmal für kurze Zeit in Grand Vent (Algerien, damals französische Kolonie) durch die Electricité et Gaz d’Algerie aufgestellt wird.
1960 wird die Anlage dann auf der Isle of Man aufgestellt (unbestätigt).

Ein ähnliches Patent unter dem Titel ,Anemo-electric power plant’ erhält übrigens Robert John Perdue im März 1957 (US-Nr. 2.784.556).
Beantragt hat er es bereits 1955 - und der Zeichnung zufolge scheint es sich um einen Leeläufer zu handeln. Von einer Umsetzung ist mir nichts bekannt.
Erst wieder im Jahr 2004 beschäftigt sich eine ungarische
Firma mit dieser Technologie. Das Unernehmen setzt sich das Ziel, den
Enfield-Andreau Rotor weiter zu optimieren. Leider habe ich bislang
keine weiteren Informationen darüber finden können.
Interessanterweise taucht der Enfield-Andreau Rotor in dem 2005 erschienenen
und sehr empfehlenswerten Öko-Thriller ‚Die Schmelze’ von Risto Isomäki
auf: Um das zunehmende Abschmelzen der Polkappen zu verhindern, werden
dort zig-tausende dieser Rotoren errichtet, deren Hohlblätter Meerwasser
hinaufsaugen und zerstäuben, um frische und stärker reflektierende
Schnee- bzw. Eisschichten zu erzeugen (S. 51, 258 ff.).
In einem weiteren, 2009 erschienenen und ebenfalls sehr spannenden Roman mit dem Titel ,Gottes Kleiner Finger’ beschäftigt sich der Autor übrigens mit dem Thema Aufwindkraftwerk (s.u.).
Anmerkung:
Auch Systeme, die auf dem Venturi-Effekt basieren,
werden hier präsentiert.
Bei der ursprünglichen Vortec-Windkraftanlage handelt
es sich um eine Idee von Ingenieuren der US-Luft- und Raumfahrtfirma
Grumman Aerospace Corp. in Bethpage, New York (später:
Northrop Grumman Corp.), denen in den 1970er Jahren
bei Windkanalversuchen auffällt, daß die Energieausbeute eines ummantelten
Windrotors etwas sechs Mal so hoch ist wie die eines herkömmlichen
Windrades. 1973 wird mit ersten
Versuchen an der Umsetzung des Prinzips der Mantelturbine im Windkraftbereich
begonnen.
Im Laufe einer späteren, achtjährigen und vom Department of Energy finanzierten Entwicklung werden die Diffusor-Technologie verbessert, detaillierte Fluiddynamik-Analysen durchgeführt, und die neue Windturbinentechnologie patentiert. Dabei wird auch ein 5 m großes Windkanalmodell hergestellt und getestet, was die Ergebnisse der vorangegangenen Analyse bestätigt. Ein erster Bericht unter dem Titel ,Cost Effective Diffuser Augmentation of Wind Turbine Power Generators’ von R. A. Oman und K. M. Foreman wird im Juni 1975 auf dem Second Workshop on Wind Energy Conversion Systems in Washington, D.C., präsentiert, gefolgt von dem ERDA-Report ,Investigation of Diffuser-Augmented Wind Turbines’ im Januar 1977.

Der Trichter des ummantelten Windrads öffnet sich nach hinten, d.h. stromabwärts. Dadurch entsteht hinter den Rotorblättern, welche an der engsten Stelle des Trichters angebracht sind, ein Unterdruck, dessen Sogwirkung die effektive Windgeschwindigkeit um den Rotor multipliziert.
Die 1994 von Robin Johannink gegründete Firma Vortec Energy Ltd. aus Auckland, Neuseeland, erwirbt globalen Patentlizenzrechte der Diffusor-Technologie, nebst allen Aufzeichnungen und Berichten der Entwicklungsperiode, während sich Northrop Grumman nur den eigenen internen Gebrauch vorbehält. Kenneth M. Foreman, der ehemalige Forschungsteamleiter der Grumman Space Co., wird Berater bei der Vortec Energy (die auch unter dem Namen Vortec Energy World Power Co. bekannt wird).
Das neue Unternehmen hofft, daß man mit einer Umsetzung der Technologie mindestens fünf, und möglicherweise bis acht Mal soviel Energie wie herkömmliche Windturbinen produzieren kann.

Im Mai 1997 wird an der Westküste Neuseelands in Waikaretu, bei Huntly, etwa 110 km südlich von Auckland, eine 17 m (andere Quellen: 22 m) hohe Demonstrationsanlage Vortec-7 in Betrieb genommen, die für eine Spitzenleistung von 1 MW ausgelegt ist, und im Juni sogar ans Netz geht. Die Leistung der Anlage wird von Forschern der University of Auckland und der Firma Crown Research Institute Industrial Research Ltd. ausgewertet.
Bei diesem Prototyp im Maßstab 1:3 hat der Rotor einen Durchmesser von 7,3 m, die Windeintrittsöffnung mißt 8 m und die Austrittsöffnung 12 m. Die Anlage ist so ausgeführt, daß sie sogar extrem starkem Wind von bis zu 70 m/s standhält, indem die Rotorblätter der Vortec Diffuser Augmented Wind Turbine (DAWT) bestehen aus drahtverstärkten Eisenzementfasern, die im Biegetest der dreifachen Belastung von Stahl standhalten. Auch der etwa 22 t schwere Trichter besteht aus hochdehnbarem Stahlfaserzement. Damit die Anlage in den Wind gedreht werden kann, ist auf einer Kreisschiene montiert.
Die Entwicklung wird vom Neuseeländischen Wissenschaftsministerium bzw. der Foundation for Research, Science and Technology mit einer halben Million NZ $ unterstützt. Der restliche Anteil der Gesamtkosten von 5 Mio. NZ $ wird von rund 100 privaten Investoren getragen.
Im Betrieb erweist sich, daß die Ummantelung noch eine weitere positive Wirkung hat: Schon in 300 m Entfernung ist die Anlage nicht mehr zu hören. Durch die starke Verwirbelung des Windes an der Austrittsöffnung des Trichters ist es allerdings nicht möglich, die Anlagen nah beieinander in Windparks aufzustellen.
Später stellt die Firma Prosolve Ltd. in Auckland für Vortec Energy außerdem ein 2 kW Modell unter dem Namen DPV3 her. Möglicherweise handelt es sich dabei um den sogenannten Mini Vortec, der eigentlich im ersten Quartal 1999 errichtet werden soll.

Es bestehen ferner Pläne zum Bau von zwei kommerziellen Vortec-20 Anlagen, so benannt nach dem Flügeldurchmesser von 20 m, deren Trichter etwa 120 t wiegen und eine Eintrittsöffnung von 24 m, sowie eine Austrittsöffnung von 36 m haben sollen. Die Gesamthöhe wird 52 m betragen, die Rotordrehzahl 27 U/min, und die erwartete Leistung 3 – 3,5 MW. Für die Realisierung braucht die Firma allerdings 10 Mio. NZ $. Als geplanter Endpreis für eine Kommerzialisierung wird ein Betrag zwischen 2,9 und 3,5 Mio. NZ $ genannt. Eine ebenfalls geplante Offshore-Version mit 5 MW soll einen Rotordurchmesser von sogar 66 m bekommen.
Im Januar 1998 veröffentlicht die University of Auckland die Ergebnisse ihrer Messungen, denen zufolge die erwartende Steigerung der Windgeschwindigkeit durch den Diffusor keineswegs so einheitlich ist, wie von Grumman Aerospace angenommen, da der Effekt in Richtung der Turbinennabe stetig abnimmt. Der erzielte Verstärungsfaktor beträgt nur 2,4. Die Universität führt daraufhin mehrere Nachrüstungen der DAWT-Anlage durch, wie das Anbringen eines aerodynamisch geformten Nasenkegels, die Optimerung der Stromlinienform der Gondel, und den Einbau von Wirbelgeneratoren, um die Strömung an der Diffusorwand zu halten. Diese Verbesserungen erbringen eine rund dreifache Verstärkung bei hoher Windgeschwindigkeit, und eine ca. vierfache bei niedrigen Windgeschwindigkeiten.
Im Jahr 2000 werden drei neue Diffusor-Patent angemeldet (WIPO-Nr. WO/2000/050769, Nr. WO/2000/055440 und WO/2001/006122), die im selbem Jahr bzw. 2001 auch erteilt werden.
Nachdem die Vortec Energy im Lauf von 5 Jahren rund 23 Mio. NZ $ investiert hat, wird 2001 allerdings die Auflösung des Unternehmens gemeldet, da sich die Technologie als unwirtschaftlich erweist. Die Prototyp-Anlage scheint dann 2002 abgebaut worden zu sein.
Bei einer vertiefenden Recherche
habe ich auch im Fall der Diffusor-Technologie (auch als Shrouded Wind
Turbines bekannt) einige interessante Vorläufer gefunden, die bis in
die 1950er Jahre zurückreichen, und von denen einige
auf der entsprechenden Seite von Heiner
Dröner aufgelistet sind. Zum Teil befassen sich jene
Konzepte mit mehrfach gestaffelten Tragflächenringen als Diffusoren.
Besonders aktiv sind in den 1960er Jahren A. Kogan und E. Nissim vom Department of Aeronautical Engineering des Technion in Israel, sowie in den 1970er Jahren Ozer Igra an der Ben Gurion University of the Negev in Beersheba (siehe US-Nr. 4.132.499, beantragt 1977, erteilt 1979; Priorität IL-Nr. 48928 von 1976).
Dem deutschen Physiker Hans Graßmann zufolge (s.u.) sind Igras Messungen im freien Wind nicht überzeugend, da zwar ein Gerät von mehreren Metern Ausmaßen gebaut wurde, mit diesem jedoch nur sechs Messungen durchgeführt worden sind. Dazu sind diese verblüffend genau und stimmen innerhalb weniger Prozent mit der angeblichen theoretischen Vorhersage überein – dabei war die Anlage noch nicht einmal im Wind frei drehbar, sodaß sie nicht nur für Schwankungen der absoluten Windgeschwindigkeit, sondern auch für die der Windrichtung empfindlich gewesen sein muß. Igras Modell bildete dann die Grundlage für den oben beschriebenen Vortec-Prototyp.
Weitere Patente stammen von J. G. Lee aus Farmington, Connecticut (US-Nr. 3.123.285, beantragt 1963, erteilt 1964); Anton M. Harff aus Wetter (DE-Nr. 2518405, beantragt 1975, erteilt 1976, erloschen 1980); Nicholas F. Pedersen aus Farmington, und Gaylord O. Ellis aus Rochester, beide in Michigan (US-Nr. 4.021.135, beantragt 1975, erteilt 1977); Alfred L. Weisbrich aus Windsor, Connecticut (US-Nr. 4.156.579, beantragt 1977, erteilt 1979, Prioritätsdatum von 1974); William J. Mouton Jr. aus New Orleans, Louisiana, und David F. Thompson aus Chester, Pennsylvania (US-Nr. 4.166.596, beantragt 1978, erteilt 1979); Clifton D. Finney aus Baton Rouge, Louisiana (US-Nr. 5.464.320, beantragt 1994, erteilt 1995, sowie Nr. 5.836.738, beantragt 1994, erteilt 1998); sowie Igor Sergeevich Orlov, Emmanuil Avraamovich Sobol und Mikhail Andreevich Egorov (WO-Nr. 1999049214, beantragt 1998, erteilt 1999).
Nach der Millenniumswende beginnen sich weitere Firmen mit der Diffusor-Technologie zu beschäftigen – allerdings in wesentlich kleinerem Maße.
Im September 2000 startet das Windturbinen-Projekt
ENFLO – und schon 2001 wird in Sulz am Neckar, Deutschland, die Enflo
WindPower GmbH gegründet und der erste Prototyp enflo
0150/2.5 präsentiert.

Im Laufe der Jahre 2001/2002 wird im Böenwindkanal am Institut für Aerodynamik und Gasdynamik (IAG) der Universität Stuttgart die Leistungsfähigkeit der Anlage sowie die Richtigkeit und Machbarkeit des technischen Konzeptes nachgewiesen. Der Prototyp wird auf der windtech Husum 2001 erstmals der Öffentlichkeit vorgestellt. 2002 folgt die Gründung der Enflo-Systems AG und die Fertigstellung des enflo 0060/0.5 Prototypen.
Die gegenüber freifahrenden Windenergieanlagen – zumindest behauptete – wesentlich erhöhte Energieausbeute der enflo Turbine beruht darauf, daß der die Turbine um- und durchströmende Wind durch einen Diffusor beschleunigt wird, entsprechend dem aerodynamischen Prinzip einer Flugzeugtragfläche.

Der speziell bei kleineren Anlagen entstehende Staudruck hinter der Turbine wird außerdem durch sogenannte Fowler wirkungsvoll auf ein Minimum reduziert. Der spezielle, aerodynamische Mantel soll dem Unternehmen zufolge eine bis zu 2,5 mal so hohe Effizienz erbringen, wie bei gleichgroßen, freifahrenden Rotorsystemen.
Nach der weiteren Optimierung und Durchführung von Tests beginnt 2005 das operative Geschäft, das bereits 2006 mit der Vergabe des iF gold award für die enflo 0060/0.5 Windenergieanlage belohnt wird.

Allerdings wird schon Mittes des Jahres gemeldet, daß die Enflo-Systems AG Insolvenz angemeldet hat, wobei alle Rechte und Pflichten an die neue Firma Enflo AG übertragen werden. Anderen Informationen zufolge wird die Firma im Juli 2007 aufgelöst, da das Gericht ein Insolvenzverfahren mangels Masse abweist.
Im August 2006 erfolgt eine Neustrukturierung des ENFLO-Projektes durch die Gründung der WindTec Systems AG im Schweizer Kreuzlingen, die im Juli 2008 ihre ersten drei Turbinen vom optimierten Typ Enflo 0071 mit einer Leistung von 500 W auf dem Voralberg in Betrieb nimmt. Die 25 kg schweren 5-Blatt-Rotoren haben einen Durchmesser von 0,71 m, während der Diffusor einen Außendurchmesser von 0,87 m und eine Tiefe von 0,39 m hat (inkl. Windfahne 1,02 m).
Angeboten werden zu diesem Zeitpunkt Anlagen mit einer Leistung von bis zu 1,5 kW, während Modelle bis 500 kW in Planung sind.
Wobei es allerdings bleibt, denn von weiteren Umsetzungen ist nicht mehr zu finden. Im Februar 2014 geht die WindTec Systems AG in Liquidation.
Der deutsche Physiker, Autor
und Unternehmer Hans Graßmann, der im Jahr 1994 im
Fermilab bei Chicago an der Entdeckung des Top-Quarks beteiligt war,
und der später an der Universität Udine in der italienischen Stadt
Udine im Friaul unterrichtet, beschäftigt sich ab 2001 mit
der Entwicklung einer neuen Art ummantelter Windkraftanlage.

Die Arbeit erfolgt mit Unterstützung und in Zusammenarbeit mit Fabiano Bet von der Thermotec Computational Fluid Dynamics GmbH (2011 erloschen).
Im Jahr 2004 gründet Graßmann in Italien die isomorph s.r.l. mit Sitz in Duino-Aurisina, wo auch zwei Prototypen gebaut werden, die von Prof. Mosetti im Windkanal der Fakultät für Maschinenbau der Universität Triest getestet werden.
Die verwendete Windturbine kostet etwa 300 €, und die Ummantelung, welche die Leistung der Turbine um einem Faktor von 2,5 erhöht, noch einmal 100 €.

Daneben werden Strömungssimulation-Modellierungstests durchgeführt. Es erweist sich, daß es die Technik der teilstatischen Turbine (d.h. eines Rotors mit Hüllstruktur) ermöglicht, die Leistung eines Windrads über die für konventionelle Systeme geltende physikalische Grenze zu steigern.
Laut Graßmann beweisen die Tests ein für alle Mal, daß das sogenannte Betz-Gesetz nur für von Rotoren angetriebene Windkraftanlagen gilt, bei denen die relative Geschwindigkeit der Luft nicht erhöht werden kann. Außerdem wird gezeigt, daß auch bei Wasserturbinen die Strömung von Wasser durch die Turbine mittels einer gekrümmten Oberfläche um die Turbine beschleunigt werden kann. Eine detaillierte Analyse des Systems findet sich in der Diplomarbeit von M. L. Ganis.
Trotz der erfolgreich verlaufenen wissenschaftlichen Entwicklung, sowie des ökonomischen Vorteils geringer Stromkosten, findet die Entwicklung in der Industrie keinen Abnehmer, und ein bereits erteiltes europäisches Patent wird aus finanziellen Gründen wieder aufgegeben (noch nicht verifiziert).
Ende 2010 geht Grassmanns andere Firma isomorph Deutschland GmbH aus Bamberg mit einem innovativen und patentierten Linearspiegelsystem in Serienproduktion, über das ich im Kapitelteil zu den solaren Verstärkungstechniken berichte (s.d.).

Nur sehr kurz beschäftigt
sich die 2004 in Frankreich gegründete Firma Cita
Wind in Alfortville
cedex mit der DAWT-Technologie, wobei ein Modell Cap
Horn 10 mit 12
kW Nennleistung vorgestellt wird.
Die ab Oktober 2008 als Tochtergesellschaft der Enerfrance S.a.s und dem Dienstleistungsunternehmen Gestion Financière agierende Firma, die von der Enerfrance-Mutterfirma ERG Renew für 3 Mio. € zu 50 % übernommen wird, engagiert sich im weiteren allerdings nur noch in der Entwicklung von Windparks im Norden von Frankreich, während von dem ummantelten Rotor nie wieder etwas zu hören ist.
Im
Mai 2008 stellt Prof. Yuji Ohya vom RIAM Renewable
Energy Center an der japanischen Kyūshū University auf
der Umwelt-Messe in Kobe eine ummantelte Windturbine vor, an der bereits
seit einigen Jahren gearbeitet wird.
Der neue Entwurf wird unter dem Namen Windlens bekannt.
Im Unterschied zu den anderen Vortec- und Diffusor-Systemen besitzt der Trichter der ,Windlinse, eine Krempe um die weite Auslaßöffnung, um außen starke Wirbel zu induzieren, die der Erzeugung von Unterdruck dienen.
Nach ersten Versuchen mit einer 500 W Anlage, bei der ein Verstärkungsfaktor von 4 gemessen wird, werden oberhalb eines Parks in Fukuoka mehrere 5 kW Rotoren mit 2,5 m Durchmesser installiert, bei denen ein 2 – 3-facher Output im Vergleich zu gleichgroßen, nicht ummantelten Rotoren erzielt wird.
Drei weitere 5 kW Anlagen werden an der Küste vor Fukuoka City errichtet, und auf einigen Videos sieht man auch den Einsatz von 4 Rotoren bei einem Bewässerungsprojekt sowie eine Dachinstallation.

Nach weiteren Optimierungsarbeiten werden auf dem Ito Campus der Universität zwei 34 m hohe 100 kW Windturbinen errichtet (bei 12 m/s), deren Rotoren auf einen Durchmesser von 12,8 m kommen, während die Diffusoren einen Durchmesser von 15,4 m haben.
Dieses Projekt gilt als wichtiger Meilenstein in Richtung einer geplanten Offshore-Windfarm mit 112 m durchmessenden Wind Lens-Anlagen, deren futuristisches Design im Jahr 2010 auf der Renewable Energy International Exhibition in Yokohama präsentiert wird – und dadurch auch in die westliche Presse kommt.

In eine Entfernung von 20 - 40 km vor der Küste und am Meeresboden verankert, sollen die sechseckigen Plattformen mit Wind-Lens-Anlagen sicher über Tsunamiwellen schweben können. Und von Erdbeben können sie auch nicht betroffen werden.
Zu diesem Zeitpunkt hat die erste Stufe des Offshore-Windparkentwicklung bereits begonnen, in Form einer Reihe von Experimenten im Wassertank.

Diesen soll sich im Herbst 2011 der Bau einer schwimmenden Struktur mit ein paar 5 kW Wind-Lens Anlagen anschließen, die mit einem Schwimmerdurchmesser von 18 m in der Hakata-Bucht zu Wasser gelassen werden soll.
In der zweiten Stufe ist dann eine schwimmende Struktur mit einem Durchmesser von 60 m und mehreren 100 kW Anlagen geplant, als deren Standort das Genkai-nada Meer, bei Fukuoka, vorgesehen ist.
Bislang ist allerdings nichts darüber zu finden, daß diese Planungen auch umgesetzt worden sind. Die Firma Windlens, die leider nur eine japanischsprachige Seite besitzt, produziert und installiert in den Folgejahren allerdings erfolgreich weiter.
Die 1990 von Prof. Walter
M. Presz Jr. und Michael J. Werle gegründete Luft- und Raumfahrtfirma
FloDesign bildet im Jahr 2008 das Spin-off FloDesign
Wind Turbine Corp. in Wilbraham, Massachusetts, um eine Windturbine zu kommerzialisieren,
an dem das Unternehmen seit zwei Jahren arbeitet, und welche den Strom
zum halben Preis herkömmlicher Windkraftanlagen herstellen soll.

Die Technologie beruht auf einer Erfindung von Presz und Mark H. Hammond, deren Patent von der Hubschrauberfirma Sikorsky Aircraft Corp. angemeldet wird. Hierbei handelt es sich um die Entwicklung eines mehrstufigen Mischer/Ejektors zur Unterdrückung von Infrarotstrahlung (Multi-stage mixer/ejector for suppressing infrared radiation, US-Nr. 6.016.651, angemeldet 1997, erteilt 2000).
Die Rotorblätter der ebenfalls patentierten FloDesign FD700 Shrouded Turbine (bzw. Mixer/Ejector Wind Turbine, MEWT), sind von einer Abdeckung umgeben, welche die Luft durch sie hindurch lenkt und beschleunigt. Die Erfinder sprechen sogar von einer ‚Archimedischen Schraube’ aus Luft, die sich innerhalb ihres System herausbildet. Die Technologie, die ursprünglich für Jet-Triebwerke entwickelt worden ist und auch so aussieht, verdoppelt oder verdreifacht die Leistung der Windturbinen im Vergleich zu konventionellen Anlagen gleichen Durchmessers (s. Anmeldungen Nr. 20090257862 und 20090087308 von 2008; vgl. US-Nr. D665351 und D665350 von 2010, sowie diverse weitere).

Der Wind trifft im Stator-Bereich zunächst auf eine Anzahl feststehender Blätter, welche die Luft auf die beweglichen Blätter des Rotor-Segments weiterleiten. Außerdem ist die Abdeckung so geformt, daß die sich schnell bewegende Außenluft in den Bereich kurz hinter dem Rotor gelenkt wird, und die dort austretende, verlangsamte Luft durch die gezielte Verwirbelung beschleunigt. Anders ausgedrückt arbeitet die Ummantelung nach dem Prinzip, die Luft in zwei Ströme zu trennen, von denen einer die Rotorblätter durchläuft, während der andere um sie herum strömt.
Wenn die beiden Ströme im Schwanzende der Turbine wieder zu einem zusammenlaufen, wird ein Wirbel erzeugt, dessen zusätzlicher Sog die Turbinenblätter veranlaßt, sich schneller und/oder mit größerer Effizienz zu drehen.
FloDesign gewinnt im Mai 2008 beim Ignite Clean Energy Business Plan Wettbewerb des MIT Enterprise Forum den ersten Preis, der mit 100.000 $ dotiert ist. Ebenso gibt es den Clean Energy Entrepreneurship Prize. Mitte des Jahres sammelt die Firma bei einer ersten Risikokapitalrunde 6 Mio. $ ein, Hauptinvestor ist die kalifornische Firma Kleiner Perkins Caufield & Byers. Das Unternehmen kündigt erste Partnerschaften mit Windparkentwicklern an.
Im Jahr 2009 wird ein kleiner Prototyp im Windkanal des MIT untersucht. Bis Ende des Jahres oder Anfang 2010 soll in Wilbraham ein 10 kW System mit einem Durchmesser von 3,65 m gebaut, und anschließend in North Carolina in Zusammenarbeit mit dem Department of Energy getestet werden. Die Kosten dieser Versuchsanlage werden auf 4 Mio. $ geschätzt. Anschließend ist die Errichtung einer 150 kW Turbine geplant. Auf dem kommerziellen Sektor denkt das Unternehmen schon an Anlagen mit einem Durchmesser von bis zu 15 m und einer Leistung von 700 kW – sowie noch größeren 1 MW Turbinen. Es läßt sich nichts darüber finden, daß irgend etwas davon bislang tatsächlich verwirklicht worden ist.

Im Januar 2010 gelingt es FloDesign, sich in einer neuen Finanzierungsrunde Risikokapital in Höhe von 34,5 Mio $ zu sichern, wiederum hauptsächlich von Kleiner Perkins Caufield and Byers. Neu hinzu kommt ein Konsortium aus drei anderen hochkarätigen Investoren: ein von Goldman Sachs verwalteter Investmentfonds, Technology Partners and VantagePoint Venture Partners. Weitere Investoren sind BASF Chemical und Dow Chemical.
Zusätzlich dazu gibt es im Februar aus dem ARPA-E-Programm des US-Energieministeriums eine dreijährige und gut 8,3 Mio $ schwere Förderung. Mit den Mitteln will man nun den Übergang von einer Forschung- und Entwicklungsfirma zu einem führenden Hersteller schaffen.
Im März wird gemeldet, daß FloDesign vom Massachusetts Clean Energy Center (MassCEC) mit 3 Mio. $ unterstützt wird, um in inWaltham, innerhalb der historischen Waltham Watch Factory, eine neue Unternehmenszentrale und ein Produktentwicklungszentrum zu gründen, während das aerodynamische Forschungszentrum in Wilbraham beibehalten wird. Das Unternehmen beabsichtigt nun, die ersten Windkraftanlagen in Massachusetts zu montieren.

Im April 2011 erfolgt eine weitere Patentanmeldung (US-Nr. 20110229315), erste Feldtests werden durchgeführt, im Windkanal wird ein großes Modell getestet – und die Technologie zum Einsatz als Wasserturbine adaptiert, wobei umgehend Tests im Schleppkanal erfolgen. 2012 folgen Versuche im offenen Wasser, bei denen die Anlage 1,3 kW bei 2 m/s erzeugt. Hierfür wird ein weiteres Spin-off gegründet (FloDesign Water Turbine), ebenso wie eines für die Anwendung im Bereich der – auch waffentechnisch umsetzbaren – Schallunterdrückung (FloDesign Sonics).
In November 2013 ändert die FloDesign Wind Turbine Corp. ihren Namen in Ogin Inc. - und kassiert 55 Mio. $ Investitionsmittel von dem New Zealand Superannuation Fund. Was u.a. von Prof. Jim Manwell, Direktor des Wind Energy Centre an der University of Massachusetts, sowie von dem in Kalifornien ansässigen Windenergie-Analyst Paul Gipe scharf kritisiert wird.

Auf der neuen Homepage ist nun allerdings ein stark abgewandeltes Design zu sehen, das aus einfachen, vorfabrizierten Elementen besteht. Mit dem ursprünglichen, von den Jet-Turbinen eines Flugzeuges inspirierten Ansatz hat das Ganze aber nichts mehr zu tun. Nicht geändert haben sich dagegen die großspurigen Versprechungen, denen zufolge in diesem Jahr noch 10, und im nächsten Jahr am kalifornischen Altamont Pass sogar 850 Anlagen errichtet werden sollen.
Dafür, daß man im Laufe von rund 6 Jahren mehr als 100 Mio. $ von Venture-Kapital-Firmen und Pensionsfonds abgegriffen hat, vermutlich aufgrund der ausgezeichneten Verbindungen zu dem ehemaligen Vizepräsidenten und fragwürdigen CO2-Händler Al Gore, sind die Ergebnisse äußerst dürftig, um es zurückhaltend zu formulieren, denn es gibt bislang nur zwei nachgewiesene Installationen des Ogin-Modells: auf Deer Island, Bosten Harbor, sowie bei Rosamund, im kalifornischen Kern County.
Und als Argumente für die Technologie müssen plötzlich die toten Vögel und Fledermäuse herhalten, die von herkömmlichen Windkraftanlagen zuhauf erschlagen werden. Was ebenfalls sehr fragwürdig ist, denn die Ergebung, auf die sich die Firma beruft, wurde von ihr selbst beauftragt (s.u. Grenzen der Windkraftnutzung).
Im Mai 2014 wird gemeldet, daß das Projekt am Altamont Pass, östlich von Livermore, eine bedingte Genehmigung des East County Board of Zoning Adjustments erhalten hat, um in der ersten Phase 40 ummantelte Windkraftanlagen zu bauen.
Im Rahmen des Sand Hill Windprojekts wird Ogin 73 herkömmliche Windturbinen ersetzen – wobei in der Zukunft weitere 300 oder 330 ummantelte Anlagen installiert werden sollen. Das Projekt hat die Unterstützung von Audubon California, dem US Fish and Wildlife Service und der Naturschutzgruppe Defenders of Wildlife.
Man darf gespannt sein, wie es nun weitergeht...
Auch die 2006 gegründete
Firma Marquiss Wind Power Inc. (MWP) aus Folsom, Kalifornien, kann
Anfang 2008 Investitionsmittel von Velocity Venture Capital LLC und
Strategis Early Ventures in Höhe von 1,3 Mio. $ einwerben, um ihre
Dach-Windkraftanlagen weiterzuentwickeln und zu vermarkten.
Die Ducted Wind Turbine (DWT) oder auch Aeropoint Wind Turbine genannte Anlage besteht aus einem sehr einfachen Mehrblatt-Rotor, der von einem eckigen Diffusor umgeben ist.

Das bislang entwickelte Modell Aeropoint T500 wiegt 2 t, hat eine Kantenlänge von gut 6 m, und soll 5 kW leisten. Die Untersuchungen laufen am Desert Research Institute of Nevada, und zwei Ausfertigungen sollen bereits verkauft worden sein.
Im Juli 2008 kauft Marquiss die Windfirma Cirrus Technologies Inc. aus Carson City, um deren 7 Windenergie-Patente zu nutzen. Während der Arbeit am ersten Prototyp kommt das Unternehmen aber in finanzielle Schwierigkeiten, außerdem gelingt es nicht, verschiedene, beim Anlagenbau auftretende strukturelle Probleme zu lösen.
Farid Dibachi, ein Teilhaber von Velocity, übernimmt im Januar 2009 die Geschäfte des Unternehmens und gibt zu, daß die Aeropoint-Anlage nicht wirklich die Menge an Energie generiert, die sie eigentlich hätte erzeugen sollen. Statt dessen soll nun eine kleinere, zylindrische Drawtube Turbine weiterentwickelt werden, die auf einer von Cirrus entwickelten Technologie beruht, die ich allerdings nicht ganz verstanden habe.
Die Idee geht auf den Unternehmensgründer John E. Roskey aus Carson City, Nevada, zurück, dessen erstes Patent aus dem Jahr 1999 datiert (US-Nr. 6.239.506, erteilt 2001). Dieses betrifft eine Vorrichtung mit einen Strömungsprofil aus einem rohrförmigen Element, bei dem durch den Bernoulli-Effekt ein Bereich mit verringertem Druck entsteht. Die Grundlage der Drawtube Turbine wird dann mit dem Patent von 2003 gelegt (US-Nr. 6.911.744, erteilt 2005), dem im Laufe der Jahre mehrere weitere Anmeldungen folgen. Ein Patent von Roskey wird 2008 von der Firma JLM Energy Inc. aus Folsom, Kalifornien, angemeldet (US-Nr. 8080896, erteilt 2011), während die ersten direkt von Marquiss Wind Power erfolgten Anmeldungen ebenfalls von 2008 stammen (US-Nr. 20090102201 und 20090102202).

Die Cirrus Turbine ist kleiner (etwa 3 m hoch und 60 cm breit), preiswert herzustellen, und erlaubt eine Beschleunigung der Windgeschwindigkeit um 1,3 bis zwei Mal. Das Unternehmen baut rund fünf Maschinen, die auf Gebäuden und Autos getestet werden, und plant im Laufe des Jahres 2009 etwa 10 bis 20 weitere Anlagen herzustellen und potentiellen Kunden kostenlos zum ausprobieren zur Verfügung zu stellen.
Außerdem wird nun der Name des Unternehmens in WINDensity Inc. geändert und der Hauptsitz nach Lincoln, Kalifornien, verlegt. Die Produktion soll Anfang des Folgejahres starten.
Daraus wird aber nichts – statt dessen reicht im August 2009 die Firma NMI Industrial Contractors eine Klage gegen WINDensity wegen Vertragsbruch ein. NMI hatte zwischen April 2007 und November 2008 für Marquiss Prototypen der Originalturbine hergestellt und installiert – und war auf Rechnungen in Höhe von 849.559 $ sitzengeblieben.
Diese Klage wird zwar im Februar 2011 außergerichtlich beigelegt – doch wohl nur, weil NMI bereits im April 2010 in Konkurs gegangen ist, wobei der Gerichtsstreit mit WINDensity einer der Faktoren war, der zur Liquidation der NMI geführt hatte. Bereits im März 2011 wird WINDensity von dem Investor Clark’s Corner Investments LLC aus Sacramento verklagt, da das Unternehmen zwei Darlehen in Höhe von zusammen 200.000 $ nicht zurückgezahlt hat.
Zwar melden Roskey und Dibachi gemeinsam 2010 nochmals eine Variation ihrer Windkraftanlage an, die nun ,Sail Augmented Wind Turbine and Arrays thereof’ genannt wird (US-Nr. 20120086214), doch danach konzentriert sich WINDensity auf den Verkauf eines TurboStak genannten Geräts, das auf einem Lkw-Abgaskamin angebracht den Kraftstoffverbrauch um bis zu 7 % senken soll. Allerdings scheint damit das Geschäft mit der Windenergie endgültig gestorben zu sein.
Eine weitere Firma, die
im April 2008 in einer ersten Finanzierungsrunde Venture-Capital erhält,
ist die 2007 in Torrington, Connecticut, gegründete Optiwind
Corp.,
die im Mai 2009 mit ihrer Compact Wind Accelerating Turbine (CWAT)
in die Presse kommt.

Connecticut Innovations, die quasi-öffentliche Stelle des Bundesstaates für Technologie-Investitionen und innovative Entwicklungen investiert 1 Mio. $ in Optiwind, während eine zweite Investition vom Connecticut Clean Energy Fund (CCEF) kommt, und auch eine Förderung aus dem operativen Demonstrationsprogramm des Fonds enthält. Weitere Finanzierung kommt von Charles River Ventures aus Cambridge, sowie von Enhanced Capital Partners aus New York.
Die insgesamt 28 m durchmessende Anlage besteht aus zwei Reihen mit mehreren, untereinander angeordneten, ummantelten 5-Blatt-Rotoren von jeweils 6,5 m Durchmesser, die um einen hoch aufgeständerten, drehbar gelagerten Zylinder angeordnet sind, um den herum sich der Wind beschleunigt. Mit dieser Technologie soll die Windausbeute über 75 % betragen.
Optiwind bietet zwei Modelle an: Optiwind 150 besteht aus einem 61 m hohen Turm mit einem 13 m durchmessenden Zylinder, an dem 2 x 3 Rotoren mit insgesamt 150 kW Leistung angebracht sind, während das gleichgroße Modell Optiwind 300 durch die doppelte Anzahl an Rotoren 300 kW Leistung bereitstellt.

Die erste Anlage soll eigentlich bei Woodridge Lake in Goshen, Connecticut, installiert werden, doch die Anwohner stimmten aus ästhetischen Gründen dagegen. Dafür kann im September 2010 eine 61 m hohe 50 kW Demonstrationsanlage mit 2 Rotoren auf der Klug Hill Farm, einem einem Milchviehbetrieb in Torrington, Connecticut, in den Testbetrieb gehen. Im Rahmen der Vereinbarung pachtet Optiwind das Land, während der Betrieb die von der Turbine erzeugte Energie nutzt. Bereits einen Monat später wird der Kopf wieder abgesenkt, um „Teile der 2. Generation“ anzubringen.
Nachdem es anschließend lange Zeit still bleibt, kommt im Februar 2013 die Meldung, daß Optiwind seine Tore schließt, da es nicht gelungen war, weitere Investoren zu finden, um die noch immer notwendige Forschung und Entwicklung zu finanzieren.
CNN veröffentlicht einen mit dramatischer Musik unterlegten Filmbericht, in welchem eine Drohne den extremen Abriß des Windturbinenturms filmt – dessen Stahlgittermast einfach angesägt wird, worauf die gesamte Anlage umstürzt und zerbirst. Hoffen wir, daß der Link zu dem sehenswerten Clip lange Online bleibt (02:14).
Anmerkung: Die Firma ist nicht zu verwechseln mit Optiwind,
einem im 7. EU-Rahmenprogramm mit 1,2 Mio. € finanzierten, und 2012 gestarteten
dreijährigen Forschungsprojekt, um die Leistung von Kleinwindanlagen
von weniger als 50 kW zu verbessern (Optimum Power Extraction of Wind
Energy by Small to Medium Scale Wind Turbines).
Die hieran beteiligten Forschungspartner sind das britische Intelligent Systems Research Institute (ISRI), das spanische private und unabhängige Forschungs- und Technologie-Unternehmen Technalia, und die Firmen ATech elektonika d.o.o aus Slovenien, Insteler S.l und Geolica Innovations (Kliux) aus Spanien, Pars Makina aus der Türkei, sowie Gendrive Ltd. und Windcrop Ltd. aus Großbritannien.
Die
im April 2009 gegründete Firma Eléna
Energie mit Sitz in Voiron nahe
Grenoble, Frankreich, präsentiert nach fünfjähriger Entwicklungsarbeit
ein weiteres patentiertes „revolutionäres Konzept von Windkraftanlagen“,
bei dem es sich ebenfalls um eine ummantelte Diffusor-Anlage handelt,
die den Vorteil von zwei gegenläufig drehenden Rotoren hat. Der Name
der Firma bzw. Anlage stammt aus den ersten Buchstaben des Begriffes
,électricité naturelle’.

Bei der Entwicklung der Idee, die auf den Geschäftsführer der Firma, Frédéric Carré, zurückgeht wird mit führenden Labors im Bereich der Energie in der Region Rhône-Alpes kooperiert, wie dem Institut polytechnique de Grenoble INP (CREMHyG, G2Elab und LEGI) sowie dem Institut Carnot. Die Unterstützung dafür kommt vom Inkubator GRAIN, der CEA, der CNRS und dem Tenerrdis Cluster. Die ersten Tests werden auf dem Campus des INP durchgeführt.
Ende März 2010 werden zwei DAWTs des Modells Eléna 15 auf dem Dach des Maison de l’Air in Paris installiert, die bei einer durchschnittlichen Windgeschwindigkeit von 6 m/s jeweils 15.000 kWh pro Jahr erzeugen sollen.

Immerhin behauptet das Unternehmen nicht, daß die Turbinen, die bei 3 m/s anlaufen und 19.000 € kosten (andere Quellen: 15.000 € pro Stück), auch an diesem innerstädischen Standort so viel Strom produzieren können.
Ein weiteres Modell namens Eléna 30 verwendet einen Rotor mit 1,2 m im Durchmesser, dessen 2 m lange Ummantelung einen Durchmesser von 1,6 m hat. Der Durchmesser des Diffusors selbst beträgt ca. 2 m. Dieses System soll an einem Standort mit ähnlichem Windaufkommen sogar 30.000 kWh pro Jahr produzieren.
Im Juni 2011 wird allerdings gemeldet, daß die zwei Eléna-Anlagen im Laufe eines vollen Betriebsjahrs Null-Netto-Strom produziert hätten. Auf Anweisung der Bürgermeisterin von Paris werden sie daraufhin wieder abmontiert.
Im Dezember 2012 folgt die Insolvenz des Unternehmens.
Anmerkung: Die Firma ist nicht zu verwechseln
mit ELENA, einer gemeinsamen Initiative der Europäischen Investitionsbank
(EIB) und der Europäischen Kommission, die Gebietskörperschaften bei
der Vorbereitung von Vorhaben in den Bereichen Energieeffizienz und
erneuerbare Energieträger unterstützt. Die Mittel dafür stammen aus
dem Programm ,Intelligente Energie – Europa II’ (IEE)
der Europäischen Kommission, aus dem 49 Mio. € bereitgestellt werden.
Auch
die im Jahr 2002 gegründete Firma WindTamer
Corp. in Geneseo,
Livingston County (später in Rochester), New York, will eine
ummantelte Windturbinen-Technologie kommerzialisieren, deren
Erfindung auf den Unternehmensgründer Gerald E. Brock zurückgeht.
Dessen erstes, 2002 angemeldetes und 2003 erteiltes
Patent (US-Nr. 6.655.907) wird noch unter dem Namen seines 2001 gegründeten
Firmenvorläufers Future Energy Solutions Inc. aus
Rochester, New York, angemeldet. Miterfinder sind Garry P. Haltof und
Howard J. Greenwald. Von 2007 bis 2010 nimmt
das Unternehmen rund 4,1 Mio. $ aus Privatmitteln ein.

Mitte 2008 installiert die Firma zwei 1,5 kW Prototypen am Center for Sustainable Energy Systems der Clarkson Universität in Potsdam, New York, wo sie von Prof. Ken Visser getestet werden. Dessen Bericht, der im November 2009 erscheint, ist auf der Homepage des Unternehmens nicht mehr zu finden, möglicherweise, weil die Testergebnisse zeigen, daß die Leistung der Turbine nicht besser ist als die herkömmlicher Windturbinen gleicher Größe.
Vorwärts zu gehen scheint es aber trotzdem mit dem Börsengang im November 2009, als WindTamer auch mit dem Verkauf der Turbinen beginnt, von denen in kurzer Zeit 27 Stück abgesetzt werden können, die zwischen 10.000 $ und 25.000 $ kosten. Immerhin wird behauptet, daß bei Versuchen an der Universität festgestellt worden war, daß die Energieanlage Wirkungsgrade von 60 – 80 % erreicht, gegenüber der von Betz formulierten theoretischen Grenze von 59,3 %. Außerdem wird gesagt, daß die Turbine 2,1 bis 2,5 mal soviel Energie erzeugen würde, wie eine konventionelle Windkraftanlage gleicher Größe. Reale Daten sind bis dato noch immer nicht veröffentlicht worden.

In den Jahren 2009 und 2010 erweitert sich das Unternehmen um eine Gruppe von Führungskräften und Ingenieuren mit langjähriger Erfahrung im Bereich der Energiespeicherung und -verteilung, deren Know-how nun mit der patentierten Windturbinen-Technologie kombiniert wird. Die Verantwortung für die Produktentwicklung beispielsweise übernimmt im Dezember 2009 Adeeb Saba. Im Geschäftsjahr 2009 meldet das Unternehmen keine Einnahmen, dafür aber Betriebsverluste von fast 3 Mio. $.
Im Januar 2010 wird die Installation einer WindTamer-Windkraftanlage am Perry-Warschau-Flughafen in Wyoming County, New York, bekanntgegeben, weitere Anlagen werden bei privaten Kunden errichtet. Bereits einen Monat später wird der Firma das erste Diffuser-Patent erteilt (US-Nr. D608.736, beantragt 2009). Weitere Patente waren 2008 angemeldet worden (WIPO-Nr. 20090180869), bzw. 2009 (WIPO-Nr. 2009/092118; US-Nr. 20090280009 und 20090280008), resp. 2010 (WIPO-Nr. 2011/008720).

Ebenfalls im Februar werden Vertriebsvereinbarungen mit drei Händlern in Pennsylvania, Massachusetts und Hawaii unterzeichnet, um die WindTamer-Anlagen in 12 Bundesstaaten zu verkaufen, zu installieren und den Garantie-Service zu bieten.
Im April wird der Verkauf einer mobilen, auf einem Anhänger montierten 1,0 kW WindTamer-Turbine nebst Energiespeicher an die US-Army gemeldet. Die Turbine wird nach ihrer Auslieferung im August von dem Research, Development and Engineering Command (RDECOM) in Maryland als Demonstrationsanlage zum Laden der Batterien von Kommunikationsgeräten verwendet. Der Mobile Renewable Energy Trailer (MRPS) umfaßt u.a. ein Batterie-System zum Speichern von Strom, welcher durch integrierte Windturbinen, Photovoltaik-Systeme, Brennstoffzellen und/oder Generatoren erzeugt wird.
Im April 2010 kauft die Marywood University in in Scranton, Pennsylvania, eine 96GT-3500 WindTamer-Turbine, außerdem erhält das Unternehmen von der First Niagara Bank N.A. eine Kreditlinie in Höhe von 1 Mio. $. Im Juni erfolgt der erste Auftrag für ein kombiniertes Windkraftanlagen/Stromspeichersystem von der Firma Advanced Glass Industries in Höhe von 132.000 $, das aus zwei 96GT-3500 Windenergieanlagen und einer kundenspezifischen Batteriespeicherbank besteht. Die Installation und Inbetriebnahme erfolgt im Februar des Folgejahres.
Zwei dachmontierte 4.5GT Anlagen werden im August auf den Carousel Center/Destiny USA in Syracuse, New York, installiert. Bei einem Umsatz von 494.000 $ erreichen die operativen Verluste des Unternehmens im Geschäftsjahr 2010 eine Höhe von 12 Mio. $.
Im Januar 2011 erhält WindTamer, das anscheinend über gute Beziehungen verfügt, ein Paket von staatlichen und lokalen Förderungen in Höhe von etwa 1,5 Mio. $, um die Produktionsmöglichkeiten in Rochester zu erweitern.

Im März erfolgt die Änderung des Firmennamens in Arista Power Inc., wobei der Begriff WindTamer auch weiterhin als Markenname für die Windkraftanlagen verwendet wird. Im April folgen eine Vereinbarung mit der in der litauischen Hafenstadt Klaipeda ansässigen Firma UAB WindTamer Europa über den exklusiven Vertrieb der Windturbinen und anderer Produkte der Gesellschaft in Litauen, Lettland, Dänemark, Schweden und den Niederlanden, sowie eine Bestellung seitens der PGM Corp. für ein 319.000 $ teures Power-on-Demand (PoD) Energiespeicherungs- und -managementsystem.
Im Mai wird eine 8.0GT WindTamer-Turbine als Windkomponente für ein 1 MWh Energiespeichersystem-Demonstrationsprojekt der Ultralife Corp. ausgewählt, das auf deren Firmengelände in Newark, New York, installiert werden soll. Wo übrigens einige der führenden Arista-Mitarbeiter zuvor gearbeitet hatten (s.u.). Eine strategische Partnerschaft mit Helios Solar Works, Hersteller von monokristallinen Hochleistungs-Solarmodulen, wird im Juli gemeldet. Bis zu diesem Zeitpunkt hat Arista Power schon rund 50 Turbinen in Betrieb, viele davon innerhalb der Rochester/Finger Lakes Region. Außerdem erhält das Unternehmen einen Auftrag des FBI über die Lieferung eines mobilen Kraftwerks.

Die Installation der ersten WindTamer-Windkraftanlage in Europa, im litauischen Kunkiai, rund 25 km nördlich von Klaipeda, eine erfolgt im August 2011 durch die UAB WindTamer Europa, und im Oktober folgt eine Bestellung von EaglePicher Technologies LLC über Windkraftanlagen und Photovoltaiksysteme, zusammen mit bestimmten Technologie- und Engineering-Dienstleistungen, in Höhe von 172.000 $.
Gleichzeitig wird das Produktangebot durch die Einführung der Arista Power Charger 300 Linie erweitert – bei der es sich allerdings um völlig konventionelle, tragbare 3-Blatt-Mikrowindkraftanlagen handelt, die als Batterielader gedacht sind.
Das Jahr 2011, in welchem Arista Aufträge im Umfang von 2,3 Mio. $ verbucht, und 1,7 Mio. $ aus Aktienverkäufen einnehmen kann, endet mit der Bekanntmachung, daß das Unternehmen im Dezember eine Klage gegen die Ultralife Corp. und einige ihrer leitenden Angestellten, Direktoren und Mitarbeiter eingereicht habe – unter anderem wegen Betrug, unlauterem Wettbewerb, Veruntreuung von Geschäftsgeheimnissen und Vertragsbruch.
Arista zufolge hätten zwei Verantwortliche von Ultralife im November 2009 den damaligen Sitz der WindTamer besucht und auch eine Vertraulichkeitsvereinbarung unterzeichnet, bei der es um eine Zusammenarbeit am Mobile Renewable Energy Trailer (MRPS) der heutigen Arista ging, mit dessen Entwicklung und Gestaltung im April 2009 begonnen worden war. Die beiden Repräsentanten der Ultralife bestätigten, daß ihre Firma kein Produkt in der Entwicklung oder Produktion habe, das dem MRPS ähnlich ist oder mit diesem konkurrierten würde.
Im Laufe des nächsten Jahres lieferte Arista weiter vertrauliche Informationen über das MRPS-System an Ultralife, bis diese im Dezember 2010 Arista darüber informierten, daß kein weiteres Interesse mehr an einer Zusammenarbeit auf dem MRPS-Sektor bestünde. Tatsächlich habe Ultralife der Klage zufolge, das gesamte Jahr 2010 über, unter Verwendung einer erhebliche Menge an vertraulichen Informationen ein Konkurrenzprodukt entwickelt, das unter dem Namen Gen Set Eliminator System bekannt wurde. Wofür Arista nun einen Schadenersatz von nicht weniger als 60 Mio. $ verlangt.
Dem war allerdings schon zwei Monate zuvor, im September 2011, eine Klage der Ultralife Corp. gegen die Arista Power Inc. vorausgegangen, in welcher sich die Ultralife darüber beschwert, daß Arista ihr gesamtes Führungsteam – bis auf ein einziges Mitglied – abgeworben habe. Außerdem hätte Arista eine Neuausrichtung seiner Geschäfts unternommen, um mittels der von Ultralife erhaltenen vertraulichen Informationen direkt mit Ultralife zu konkurrieren. Nach der Gegenklage seitens Arista geht es weiter hin und her, es werden gegenseitig Anträge auf Klageabweisung eingereicht, und den jüngsten Meldungen von Ende 2013 zufolge ist der Rechtsstreit noch immer im Gange.
Im Januar 2012 erhält Arista einen 922.000 $ Vertrag der US-Army als Hauptauftragnehmer der ersten Phase zur Entwicklung einer neuen intelligenten Micro-Grid-Lösung mit erneuerbaren Energien. Das Programm mit dem Namen Renewable Energy for Distributed Under-Supplied Command Environments (REDUCE) läuft unter der Leitung des Communications-Electronics Research, Development and Engineering Center (CERDEC).
Im April wird eine Geschäftsvereinbarung mit der GE Energy Storage Business unterzeichnet, einem Geschäftsbereich der GE Transportation, um gemeinsam das neue Power on Demand-System von Arista zu fördern und zu vermarkten, das mit den neuen Durathon-Batterien von GE ausgestattet ist.
Im September wird die erste Phase der Micro-Grid-Entwicklung für die Army abgeschlossen, worauf es im Folgemonat weitere 909.000 $ für die zweite Phase gibt.

Eine ungenannte Regierungsbehörde der USA bestellt im Januar 2013 ein weiteres MRPS mit erweitertem Support-Vertrag; im Mai bestellt die City Lights at Queens Landing Inc. ein Power on Demand-System; im August folgt der Auftrag eines Harley-Davidson-Händlers in Batavia, New York, über ein 166 kW Photovoltaik-Array für 574.000 $; und im September gibt es noch einmal 625.000 $ von der US-Army, um das Micro-Grid-System weiterzuentwickeln.
Im März 2014 werden Aktien für einen Bruttoemissionserlös von 1,5 Mio. $ verkauft, doch über irgendwelche neuen Aufträge oder sonstige Aktivitäten in Bezug auf die Diffusor-Winkraftanlage ist nichts mehr zu vernehmen.
Verschwunden ist sie allerdings nicht.
Gerald E. Brock, der Erfinder des WindTamer, ist zwischenzeitlich nämlich schon mit einer neuen, im Jahr 2010 gegründeten Firma unterwegs, die den Namen SkyWolf Wind Turbines Corp. trägt, in Geneseo beheimatet ist, und eher eine Art Familienunternehmen darstellt.
Das Design der hier propagierten SkyWolf Windturbine ähnelt dem WindTamer, besitzt jedoch einen Diffuser mit Aussparungen – wozu auch immer das gut sein soll.
Außerdem soll er dem bereits 2011 eingereichten Patent zufolge mit PV-Zellen umhüllt werden. Dieses Patent wird von der neuen Firma angemeldet (US-Nr. 20120275903).
Es wird ein 5 kW Modell angeboten, das sich auf 12 kW ausbauen lassen soll, und im September 2013 wird bei der Firma TSS Foam Industries Corp. in Caledonia, Livingston County, ein 9 m hoher 5 kW Prototyp aufgestellt.
Im Jahr 2014 wird eine Anzeigenkampagne gestartet, die bislang aber noch keine Resultate gezeigt hat.
Sehr wild ist auch
eine Geschichte, die mit der in Nevada 2004 gegründeten Firma
Bulldog Financial Inc. beginnt, deren Hauptgeschäft die Exploration
und Entwicklung natürlicher Ressourcen ist. Der Betrieb wird 2006 aufgenommen,
indem Aktien für rund 77.000 $ verkauft werden. Im November 2007 erfolgt
die erste Namensänderung in Arctic Oil & Gas Corp.,
die sich nun als in der Startphase befindlich bezeichnet, wobei es
um Gebietsansprüche in der Arktis geht (Arctic Claims).
Das Unternehmen nennt als einen seiner Schwerpunkte den „Zugang zu einer neuen, 400 % kapitaleffizienten und patentierten Beschleunigungs-Windkraftanlage (Accelerating Wind Turbine), sowie zu großen Windkraftprojekten durch ein Joint Venture mit der Zero Carbon Wind Energy Corp.“

Hinter beiden Firmen steckt ein Peter John Sterling aus dem kalifornischen Rancho Mirage, mit dessen Namen auch das Patent einer ,Jet-Speed Accelerator Turbine’ verbunden ist, für welches es allerdings keine Belege gibt. Sein erstes Patent scheint Sterling, gemeinsam mit weiteren Familienmitgliedern sowie einem Geoffrey Woods, erst im Jahr 2011 angemeldet zu haben, und zwar unter dem Namen ,Injector venturi accelerated, wind turbine, (US-Nr. 20120175882).
Bei ihrer Windkraftanlage nutzen die Entwickler das Venturi-Prinzip, bei der sich der Rotor im engsten Teil eines zweiseitigen Trichters befindet, wo sich der Luftdruck verringert. Dies führt zu einer erhöhten lokalen Strömungsgeschwindigkeit der Luft, was den Rotor veranlaßt, sich schneller zu drehen. Es wird behauptet, daß die Windkraftanlage etwa 200 % mehr Leistung produzieren kann als eine herkömmliche Windkraftanlage. Irgendwelche Daten oder technische Details gibt es allerdings nicht.
Im Januar 2009 änderte das Unternehmen seinen Namen in Placer Gold Corp. (PGCR), und schließt im April eine Vereinbarung mit der Firma Pavillon Energy Resources, um seine Öl- und Gasinteressen zu verkaufen. Im November wird ein Bilanzverlust von 638.952 $ notiert.
Im gleichen Monat beteiligt sich die PGCR mit 20 % an einem Konsortium, das der Landesregierung von Wisconsin den Vorschlag für ein 10.000 km2 großes Offshore-Windprojekt auf dem windgepeitschten Lake Michigan macht. Dabei sollen neu entwickelte, kleine und robuste schwimmende 20 MW Windkraftanlagen zum Einsatz kommen, deren Venturi-Windturbinendesign die durchschnittliche Windgeschwindigkeit von rund 26 km/h außerhalb, im Bereich der Turbinenschaufeln auf etwa 48 km/h beschleunigen soll.
Obwohl es weder technische Details, noch irgendwelche Modelle oder Prototypen gibt, wird in die vollen gegriffen: Das Lake Michigan Projekt soll in Etappen über einen Zeitraum von 25 Jahren abgeschlossen werden, bestehend aus einer Anzahl verbundener Windparks, die jeweils 10 GW abgeben sollen.
Im April 2010 wird gemeldet, daß die Partner des Unternehmens erste CAD-Design-Arbeiten abgeschlossen, und auch ein Modell in kleinem Maßstab erprobt hätten, Nachweise werden aber nicht vorgelegt. Im Laufe des Jahres reicht das Joint Venture Förderanträge in einer Reihe von Bundesstaaten ein, um die Entwicklungsfinanzierung für die Turbine zu beschaffen. Was augenscheinlich erfolglos bleibt.
Statt dessen berichtet die Presse im September 2010, daß die bereits genannte Firma Pavillion Energy Resources Inc. (PER) aus Beverly Hills, Kalifornien, ein Joint Venture mit einem ungenannten Partner eingegangen ist, um in Idaho eine Produktionsanlage für die Beschleunigungs-Windkraftanlagen des Unternehmens zu errichten.

Bislang war die PER, die bis Februar 2008 den Namen Energetics Holdings Inc. bzw. Global Business Services Inc. trug, für ihre Beteiligungen an Gasbohrungen und produzierenden Ölquellen in Tennessee und Kentucky bekannt. Wobei auch alle diese Firmen Stirling gehör(t)en.
Ein besonderer Vorteil der neuen Systeme sei, daß sie sich Offshore (in Tiefen von 50 - 500 m) einfach installieren lassen – weshalb die einzig existierende Grafik wohl auch ein derartiges Design zeigt. An der Offshore-Version der Turbine arbeiten Pavillion Energie und seine JV-Partner zusammen mit einem US-Schiffsbauer, der ebenfalls nicht benannt wird. Den Plänen nach soll eine entsprechende 20 MW Windkraftanlage 30 Mio. $ kosten.
Das Unternehmen behauptet, bereits einen Auftrag für Windkraftanlagen in Höhe von 100 Mio. $ erhalten zu haben, sodaß eine aktuelle Notwendigkeit für die Produktionsanlage besteht, wo Anlagen im Leistungsbereich von 3 - 5 MW hergestellt werden sollen. In der Nähe sind bereits mehrere Windpark-Entwickler aus Idaho aktiv, was möglicherweise zu weiteren Aufträgen führen könnte.
Im Januar 2011 folgt die Meldung, daß Pavillon Energy damit begonnen hat, auf einem gut 1.200 Hektar großen Windpark in der Nähe von Pocatello, Idaho, die Fundamente für die erste Turbine zu legen. Womit auch schon das Ende der Geschichte erreicht ist – denn danach hörte man nie wieder etwas über das Ganze, das vermutlich nur eine übelst verschachtelte Falle für Kleinanleger war. Die anschließende Analyse der Prozeßakten erspare ich mir.
Die im Jahr 2006 von Frédérick Churchill gegründete
kanadische Firma OrganoWorld mit Hauptsitz in Montreal,
Quebec, will mit ihrer patentierten Technologie namens Winga
E-Generator zum weltweit
führenden Unternehmen im Bereich der Verstärkungs-Windturbinen werden
(Augmented Wind Turbines).

Die vorgeschlagene Anlage mit einer Einlaßüffnung von 9 x 12 m, und einer Außlaßöffnung von 13 x 18,5 m besitzt drei 1,8 MW Generatoren, die schon bei Windgeschwindigkeiten von 4 m/s die volle Leistung Strom erzeugen sollen.
Als Rotoren sind sogenannte Ringrotoren vorgesehen, die einen Innendurchmesser von 3 m, und einen Außendurchmesser von 4 m besitzen.
An dem International Laboratory for De-icing Materials (LIMA) an der University of Chicoutimi in Quebec werden einige Windkanalversuche durchgeführt, Details über die Ergebnisse gibt es nicht.
Im Jahr 2009 werden mehrere Patente angemeldet (US-Nr. 20110189006, 20120099977 und 20120003077), doch der eigentliche Winga E-Generator folgt erst 2011 (US-Nr. 20140126996) bzw. 2013 (US-Nr. 20130294885). Über weitere Schritte ist nichts mehr zu finden.
Ebenso ominös wirkt die von Rob
Freda erfundene Technologie der Windbeschleunigungsmodule (Wind
Acceleration Modules, WAM) zur Beschleunigung der Umgebungswindgeschwindigkeit,
an welcher der Erfinder und seine gemeinsam mit Fred Ehrsam 2007 gegründete
und in Boston beheimatete Startup-Firma V2 Wind (V
Squared Wind) im Jahr 2010 bekannt werden, als sie
unter die Finalisten des Clean Tech Open Wettbewerbs kommen. Finanziert
wird das Unternehmen von Freunden und den Familien der Gründer.

Das Innere jedes Rohrs, dessen Geometrie die Form einer Sanduhr nachahmt, ist so verjüngt, daß es die Windströmung verengt. Für die Beschleunigung entscheidend ist, daß das Auslaßende des Rohres länger ist als das Einlaßrohrstück.
Die würfelförmige Windkraftanlage wird aus Stapeln mehrerer dieser tubenförmigen Kunststoffmodule geschaffen. Eine 75 kW Maschine soll etwa einen Würfel mit einer Kantenlänge von 7,5 m bilden. Und auch hier wird schon von einer 1,5 MW Windmaschine mit 49 einzelnen Modulen geträumt.
Am Massachusetts Institute of Technology (MIT) werden eine Reihe von Tests und Studien durchgeführt, um die Beschleunigungseigenschaften und die Energieproduktion der einzelnen Module und Anordnungen zu bestimmen.
Außerdem wird im Rahmen eines Vertrags mit der US-Army ein verkleinertes Modul über mehrere Wochen in Littleton, Massachusetts, getestet. Der Firma zufolge verdoppelt die Maschine in etwa die Geschwindigkeit des ankommenden Windes. Genau Daten werden aber nicht vorgelegt.
Im 2. Quartal 2012 sowie im 3. Quartal 2013 gehört V2 zu einer Gruppe von 81 Unternehmen, die von der US-Army Zuschüsse aus dem Small Business Innovation Research (SBIR) Programm bekommen, um eine Prototyp-Maschine für den Einsatz in Militärlagern zu entwerfen und zu fertigen.
Der Firma werden fünf US-Patente erteilt, daneben werden weitere US- und internationale Patentanmeldungen eingereicht. Leider ist es mir nicht gelungen, irgend etwas davon zu verifizieren.
Mit
der niederländischen Start-up Firma donQi Windmolen
B.V. (auch: donQi
Independent Energy, eine Tochtergesellschaft der donQi Quandary Innovations
B.V.) betritt im Jahr 2008 (?) ein weiterer Hersteller
den Markt der Diffusor-Windturbinen. Die Windmühle des Unternehmens
ist das Ergebnis einer intensiven Zusammenarbeit mit dem Nationaal
Lucht- en Ruimtevaart Laboratorium (NLR) und der Delft University of
Technology.

Die kompakte, leise und effiziente Windturbine für städtischen Umgebungen, die in Rotterdam zusammengebaut wird, hat einen Durchmesser von 2 m, eine Höhe von 7,5 m, ist 90 kg schwer, und soll eine Nennleistung von 1,75 kW erreichen. Ihr Preis wird mit 6.500 € angegeben.
Wie man anhand der vielen Fotos auf der Homepage des Unternehmens sehen kann, scheint sich die donQi Anlage recht gut zu verkaufen – was vermutlich dadurch stark gefördert wird, daß sie in verschiedenen Farben oder mit Firmenlogo geliefert werden kann.
Trotzdem muß die Firma im März 2012 Insolvenz anmelden, und wird daraufhin im November von der britischen, erst im Mai 2011 gegründeten, Hidden Renewable Energy Ltd. aus London übernommen, welche die Produktion Anfang 2013 wieder anlaufen lassen will. Davon ist bislang aber nichts festzustellen.
In den Fachforen lassen sich außerdem äußerst kritische Beiträge finden. In einem Fall wird darüber berichtet, daß nach einer Aufdachmontage festgestellt wird, daß man sich im Haus nicht einmal mehr unterhalten kann, so laut ist diese Anlage – und dies schon schon bei Windgeschwindigkeiten von lediglich 8 m/s. Bei einem Sturm von 120 km/h zerstört sich die Anlage komplett, wobei Flügel herausgerissen werden und über 100 m weit vom Haus weg fliegen.
Andererseits verwendet das Gegenwindfahrzeug Spirit of Amsterdam 2 eine donQi-Windenergieanlage, mit der es sich im Jahr 2010 den 3. Preis des Aeolus-Wettbewerbs holt (s.d.).
Wahrscheinlich im Jahr 2009 gegründet wird die Firma
AirSynergy mit Sitz in County Longford, Republik Irland,
welche die von Jim Smyth erfundene erweiterte Windkraftanlage (enhanced
wind turbine) kommerzialisieren will. Auch bei diesem Unternehmen scheint
es sich weitgehend um einen Familienbetrieb zu handeln, denn von den
fünf leitenden Firmenangehörigen tragen drei den Nachnamen Smyth.

Nach Angaben des Unternehmens erzeugen seine AirSynergy-Turbinen, die von GL Garrad Hassan DNV getestet wurden, bei niedrigen Windgeschwindigkeit im Durchschnitt drei Mal mehr Strom als traditionelle Windenergieanlagen von ähnlicher Größe. In Feldversuchen erzielt die AirSynergy-Turbine die zweifache Energieausbeute einer Vergleichsturbine. Dies soll auf das patentierte Druckkontrollsystem der Ummantelung zurückzuführen sein. Dabei ist die Anlage nur um 20 - 25 % teurer als vergleichbare Modelle.
Bei dieser soll es sich um die erste ummantelte Version handeln, welche die Windgeschwindigkeit erfolgreich sowohl in Windverhältnissen mit niedriger, als auch mit hoher Stärke, vervielfachen kann.
Im Juli 2013 unterzeichnet Airsynergy mit der Aris Renewable Energy ein Lizenzabkommen für den US-Windmarkt, und im November erhält das Unternehmen in Dublin den Preis Technology of the Year der Organisation Engineers Ireland.
Die erste Windkraftanlage der Produktpalette soll Anfang 2014 unter dem Namen AS-5 (5 kW) in den USA und der Karibik in den Verkauf gehen, gemeinsam mit einer Windstrom erzeugenden Straßenbeleuchtung (0,3 – 1,2 kW). Die 13,7 m hohe AS-5 hat einen Rotordurchmesser von 5,6 m, während der Durchmesser der Einlaßöffnung 8 m beträgt. Dabei ist die Verstärkungseinheit aus Polycarbonat vor dem Windturbinenrotor plaziert.
Weitere geplante Modelle tragen die Namen AS-3 (3 kW, Höhe < 9 m, für Dachmontagen), AS-20 (20 kW, Höhe 18 – 24m) sowie AS-100 (100 kW, Höhe 30 – 37 m). Im Jahr 2015 will man dann mit den Modellen AS-150 (150 kW) und AS-450 (450 kW) auf den Markt kommen. Eine Finite-Elemente-Analyse hatte gezeigt, daß die Turbine auf mindestens 1 MW hochskalierbar ist.
Im Februar 2014 wird gemeldet, daß AirSynergy 2 Mio. € Invetitionsmittel erhalten habe, womit sich die Gesamtinvestitionen in die Firma in den vergangenen fünf Jahren auf 5 Mio. € belaufen. Zu den Investoren gehören der irisch-amerikanische Geschäftsmann Gerry Ryan (CEO der o.g. Aris Renewable Energy), sowie Brendan und Daniel Ahern, Mitgründer der in New York ansässigen DGC Capital Contracting. Im Juni bekommt die Obelisk Group aus Cavan die exklusive Lizenz für Großbritannien und Irland im Bereich der Turbinen unter 10 kW. Im Laufe des Jahres ist eine weitere Finanzierungsrunde geplant.
Unter dem Namen Enhanced Wind Energy Corp. firmiert ein von Richard Howarth und Brian Tyrrell gegründetes Unternehmen in Vancouver, BC, Kanada, das die AirSynergy-Windturbine auf dem dortigen Markt vertreibt.
Referenzen, Produktions- und Umsatzzahlen werden bislang noch nicht genannt.
Im Januar 2009 höre ich erstmal
von der Dragonfly Windturbine des Künstlers und Erfinders
Phillip Ridings aus Southaven, Mississippi, die dieser gemeinsam mit
Ingenieuren aus Irvine, Kalifornien, entwickelt hat.

Wenn man die abgebildete Grafik betrachtet, fragt man sich unwillkürlich, ob es denn nicht noch komplizierter geht?! Im Grunde handelt es sich bei der Dragonfly-Anlage um eine Turbine, die sich an der Technologie von Düsenjet-Antrieben orientiert, und dabei noch einige Schritte weitergeht, als die oben beschriebene Turbine von FloDesign. Auch hier soll der Bernoulli-Düseneffekt ausgenutzt werden, um die hindurch jagende Luft noch weiter zu beschleunigen.
Im Innern der aus mehreren ringförmigen Tragflächen (Body Ring Airfoil) zusammengebauten Anlage befinden sich 3 Rotorblatt-Kränze, während zwei weitere, am Ende des Geräts, die wieder austretende Luft beschleunigen sollen. Dadurch soll sich die Windgeschwindigkeit im Inneren um 70 % steigern lassen, wodurch die gleiche Luftmenge drei bis vier Mal soviel Strom erzeugen könne, als ohne die Konstruktion.

Der Erfinder behauptet, daß seine Anlage Strom produziert, selbst wenn gar kein Wind weht! Dies soll dadurch stattfinden, daß der Strom einer solar aufgeladenen Batterie mittels eines Motors die hinteren Rotoren in Bewegung setzt, und so eine wiederum energieerzeugende Durchströmung des Geräts in Gang bringt.
Die Anlage soll nun von der 2008 gegründeten Firma Dragonfly Industries Inc. in Dallas, Texas, weiterentwickelt und irgendwann einmal auch auf den Markt gebracht werden.
Meldungen vom Juni 2010 zufolge, will man unter dem Namen Firefly auch kleinere Anlagen mit 60 cm Durchmesser für den Heimgebrauch entwickelt werden. Die Firma behauptet, bereits Aufträge bekommen zu haben, gibt gleichzeitig aber auch zu, noch nicht einmal einen Prototypen vorweisen zu können. Alle bisherigen Angaben basieren auf Strömungssimulationen am Computer.
Und so gibt es bislang auch nur ein paar akribisch gezeichnete Computergrafiken, während auf der Hompage ,Launching 2015’ steht.
Sogar bis zu 5 x mehr Leistung soll
eine neuartige, international patentierte Windturbine der serbischen
Firma Poduhvat DOO aus Nish erzielen, deren zwei gegenläufige
2-Blatt-Rotoren in einem speziell konstruierten Gehäusekanal eingeschlossen
sind.

Die Brüder Nenad und Predrag Paunovic, die auch die Poduhvat DOO Hydrokinetics Ltd. in London gründen, sind die Gewinner des Balkan Venture Forum 2012.
Die mittels sehr schöner Grafiken propagierte Vetar 10 Windturbine besitzt Rotoren mit einem Durchmesser von 2 m, wiegt 375 kg, und soll ihre Nennleistung von 10 kW bei einer Windgeschwindigkeit von 14,8 m/s erreichen. Die Maximalleistung von 13,5 kW wird bei 16,5 m/s erzielt. Ihr Preis wird mit 20.510 bis 29.300 € angegeben. Eine 37.830 € teure Version Vetar 10M mit 2,5 m Rotordurchmesser soll sogar bis zu 15 kW leisten.
Außerdem wird ein Hybridsystem namens Vetrosun 13i4.2 angeboten, das aus einer Vetar 10 Anlage und einem runden, schirmförmigen 4,2 kW PV-Paneel besteht und 43.730 € kosten soll. Die entsprechend größere Version Vetrosun 15i4.2 kommt dann schon auf 50.100 €. Und zur Abrundung gibt es einen V-gen 6.5 Generator mit hoher Kühlleistung, modularem Design und erhöhter Effizienz, der ebenfalls zum Patent angemeldet ist.
Leider läßt sich dies bislang nicht bestätigen – und Umsetzungen scheint es auch noch keine gegeben zu haben.

Laut einer Kurzmeldung der DPA vom 22.11.1978 soll ein ‚Wind-Stauwerk’ entworfen worden sein, das nach einem ähnlichen Prinzip wie dem des Wasserstauwerks funktionieren soll.
Nähere Angaben darüber konnte ich allerdings nicht finden.
Die Idee scheint erst 2007 wieder aktuell zu werden, als die britische Architekturfirma Chetwoods Associates vorschlägt, in einer Schlucht in der Nähe des nordrussischen Ladoga Sees ein 25 m hohes und 75 m breites Spinnaker-Segel aufzuspannen, mit dem der Wind zu einer zentralen Turbine geleitet wird.
Das mit 2,5 Mio. £ (~ 5,3 Mio. $) kalkulierte Winddam(m)-Projekt soll bereits 2008 umgesetzt werden. Wozu es dann aber erwarteterweise nicht kommt.
Auch von diesem Ansatz ist später nichts mehr zu vernehmen.
Um von der sich ständig verändernden
Windstärke unabhängig zu sein, mehren sich inzwischen die Vorschläge
zur Nutzung des Jet-Streams, jenes schmalen Bandes mit außerordentlich
hohen Windgeschwindigkeiten in der oberen Troposphäre, in etwa 5 bis
10 km Höhe. Zwar ändert sich die Lage und Intensität des Luftstromes
im Jahresablauf, die west-östliche Richtung bleibt aber bestehen. An
der amerikanischen Ostküste z.B. werden in dieser Höhe Geschwindigkeiten
von mehr als 600 km/h gemessen.
Die Idee, die Jetströmung mittels Winddrachen zu nutzen, wird unter anderen Hermann Oberth zugeschrieben, welcher durch die Ölkrise 1973 dazu inspiriert worden sein soll.
Drachen, Gleiter, Ballone oder Zeppeline, die mit Windturbinen versehen in diesem dauernden Strahlstrom schweben, sind bislang allerdings noch unerprobte Konzeptvorstellungen. Sie sind an bestimmte Installationen wie auch an besondere geographische Koordinaten gebunden, sie gefährden möglicherweise den Luftverkehr und sind auch schwierig zu warten.
Leichter umsetzbar sind die Technologien in niedrigeren Höhen, in denen es trotzdem wesentlich stärkere und auch weniger turbulente Windströmungen als in Bodennähe gibt. Im folgenden werde ich die bislang vorliegenden Konzepte und erfolgten Umsetzungen vorstellen.
Sehr förderlich für die Gesamtentwicklung der High Altitude Wind Power (HAWP) oder High Altitude Wind Energy (HAWE) genannten Technologie ist eine globale Analyse der Windenergie in größeren Höhen, die im Juni 2009 von den Klimaforschern Prof. Ken Caldeira (Carnegie Institution/Stanford University) und Cristina Archer (California State University) vorgelegt wird. Dieser Studie zufolge haben die Höhenwinde und der Jetstream genügend Energie, den weltweiten Energiebedarf mehr als 100-fach zu decken. Der Jet-Stream hat mit bis zu 30.000 Watt pro Quadratmeter die höchste Energiedichte unter den erneuerbaren Energiequellen auf der Erde. Selbst der Durchschnitt von 10.000 W/m2 liegt noch wesentlich höher als die durchschnittlichen 300 W/m2, welche die Solarenergie auf der Erdoberfläche erreicht.
Im November 2011 kommt Axel Kleidon, Leiter der Forschungsgruppe Biosphärische Theorie und Modellierung am Max-Planck-Institut für Biogeochemie in Jena, mit einer Berechnung in die Presse, der zufolge sich aus dem Jetstreams nur etwa ein halbes Prozent der bisher geschätzten Energie gewinnen läßt. Dessen hohen Geschwindigkeiten entstehen nämlich durch die sehr geringe Reibung und nicht durch einen starken Antrieb, wie er für leistungsstarke Windkraftanlagen notwendig wäre. Demnach erzeugen die Strahlströme nur eine Leistung von 7,5 Terawatt – etwa 200-mal weniger als bei früheren Studien ermittelt worden ist. Anhand von Simulationen stellen die Wissenschaftler zudem fest, daß sich das Klimasystem massiv verändern dürfte, wenn aus Strahlstromwinden große Energiemengen entnommen werden. Wobei der Knackpunkt wohl der Begriff ‚große Menge’ ist.
Da auch die Luftfahrt weitgehend
auf Drachen zurückgeht, möchte ich mit ihrer Entwicklungsgeschichte
beginnen – mit besonderem Fokus auf die Aspekte Antrieb und
Energie.
Anschließend geht es um leichte und kontrollierbare aerodynamische Drachenvorrichtungen, die im Seitenwind fliegen und Energie mit einer Kabelvorrichtung zur Bodenstation transportierten, und die zumeist als Crosswind Kite Power bezeichnet oder unter dem Begriff Airborne Wind Energy Systems (AWES) zusammengefaßt werden. Den Abschluß dieser Übersicht bilden dann die verschiedenen LTA-System.
Die erste geschichtliche Erwähnung von Drachen als Flugobjekten stammt
aus dem chinesischen Werk ‚Kunst des Krieges’ von Sun Tzu aus dem 5.
Jh. v.Chr. Jüngere Funde im indonesischen Raum deuten jedoch
darauf hin, daß Flugdrachen noch wesentlich älter sein könnten. Die
Drachen bestehen zu Anfang hauptsächlich aus Bambusstäben und teurer
Seide. Erst nachdem das Papier entwickelt wird, verbreitet sich die
Technologie in größerem Umfang.
Die technischen Umsetzungen sind anfangs fast nur militärisch: In Korea werden mittelalterliche Schlachten mit Signaldrachen koordiniert, und im alten Japan werden Drachen zur psychologischen Kriegführung genutzt, indem Apparaturen zur Geräuscherzeugung daran befestigt und Drachen nachts über den feindlichen Truppen in Position gebracht werden. Diese glaubten daraufhin, sie würden von bösen Geistern attackiert. Es soll auch Aufzeichnungen über riesige Drachen geben, die sogar einen einzelnen Bogenschützen tragen konnten. Leonardo da Vinci schlägt einen Drachen vor, um Flüsse zu überqueren, Fahrzeuge zu ziehen - und sogar um die Energie von Blitzen abzuleiten!
In Europa lassen die Römer zu Volksfesten oder militärischen Siegen bunt verzierte Windsäcke fliegen. Die ‚echten’ Drachen aus Fernost kommen erst im 16. Jh. mit holländischen, portugiesischen und englischen Kaufleuten nach Europa, und sind bereits zu Beginn des 18. Jh. als Kinderspielzeug verbreitet. Bei Belagerungen wird mit Drachen die genaue Entfernung zu den feindlichen Stellungen ausgemessen, indem man den Drachen abstürzen läßt und die Länge der ausgegebenen Schnur mißt.
Benjamin Franklin führt 1752 seine
berühmten Experimente zur Untersuchung der Wirkung elektrischer Blitze
mitttels Drachen durch, und läßt auch ein Boot von einem Drachen antreiben
- und Sir George
Cayleys experimentiert
ab 1799 mit
einer neuartigen Drachenform, die er als Nebenprodukt seiner intensiven
Beschäftigung mit dem Konzept ‚Schwerer-als-Luft-Flug’ entwickelt hat. 1804 baut
er die ersten Modellgleiter und verwendet als Tragflügeleinheit einen
englischen Bogenspitzendrachen. 1818 entwirft Cayley
einen Modellgleiter, der zwei Drachen verwendet: einen großen für die
Tragflügeleinheit und einen kleineren für den Schwanz. Im Jahr 1853 läßt
der Erfinder seinen (sehr treuen oder sehr mutigen) Kutscher mit dem
neuen Flieger über ein Tal fliegen, es ist der erste dokumentarisch
festgehaltene Gleitflug eines Menschen.

1826 patentiert der englische Lehrer George
Pocock aus Clifton seinen von Drachen gezogenen dreirädrigen Char-volant.
Pocock hat ein sehr nachvollziehbares Motiv für seine Entwicklung: Da
man seinerzeit für drachenbetriebene Fuhrwerke - anders als bei Pferdekutschen
- keinen Wegezoll kennt, spart er sich durch sein auch ‚Flying Car’ genanntes
Gefährt die ansonsten anfallenden Mautgebühren.
Pocock beginnt schon 1820 mit Versuchen an bemannten Drachen, und 1825 benützt er ein 9 m großes Fluggerät um seine Tochter Martha rund 82 m hoch in Luft zu heben. Bald darauf fängt er an, sich mit dem Einsatz von Zugdrachen zu beschäftigen.
Der große Wagen, den Pococks schließlich baut, wird von zwei hintereinander angebrachten englischen Bogenspitzdrachen gezogen und kann vier bis fünf Personen mit einer Geschwindigkeit von bis zu 32 km/h befördern. Für eine gute Lenkbarkeit der rund 450 m hoch fiegenden Drachen sorgen vier Leinen, die sowohl die seitliche Lage wie auch den Längswinkel zur Windrichtung einstellen können und es den Drachen daher gestatteten „nach der Windrichtung rechts oder links“ zu fliegen. Damit können die Wagen mit dem selben Wind in unterschiedliche Richtungen fahren.
1827 erscheint Pococks Buch in London unter dem Titel ,The Aeropleustic Art or Navigation in the Air by the use of Kites, or Buoyant Sails’, das mehrere Auflagen erlebt, und 1828 zeigt er seinen Windwagen König George IV. Außerdem nutzt er Drachen, um eine Fähre über den Mersey zu betreiben. Pocock baut in den Folgejahren eine Reihe weiterer Charvolants, und eine Gruppe von drei Windwagen machen eine gemeinsame Fahrt über eine Strecke von 182 km. Er rüstet auch eine Segeljacht mit einem riesigen Drachen aus, um eine 3-wöchige Kreuzfahrt auf dem Bristol-Kanal zu unternehmen (über windbetriebene Fahrzeuge mit Rädern berichte ich in einem eigenen Kapitel, s.d.).
John
Adolphus Etzler,
ein in Deutschland geborener und 1831 nach Pittsburgh
emigrierter amerikanischer Technik-Utopist, veröffentlicht 1833 sein
bekanntestes Werk The Paradise within the Reach of all Men, in welchem
er detaillierte visionäre Pläne skizziert, die Energie von Sonne,
Wasser und Wind zu nutzen – und letzteres mit Hilfe von Zugdrachen.
Seine Patente, eine Methode, um Lokomotiven von einem stationären
Standort anzutreiben (US-Nr. 2396, von 1841), sowie
eine Technik zur Navigation und zum Antrieb von Schiffen durch die
Einwirkung von Wind und Wellen (US-Nr. 2533, von 1842),
beinhalten allerdings keinen Verweis auf die Nutzung von Drachen.
Auch die Wissenschaft erkennt langsam, welche technischen Möglichkeiten
der Drachen bietet, z.B. bei meteorologischen Untersuchungen wie den
Temperaturunterschieden zwischen den einzelnen Höhenlagen. Der
britische Meteorologe E. D. Archibald beispielsweise
läßt 1883
einen Anemometer (Windmeßgerät) an Drachen aufsteigen und
die Windgeschwindigkeit in verschiedenen Höhen messen. 1887 gelingen
Archibald auch die ersten Luftaufnahmen von einem Drachen aus.
1844 experimentiert ein Dr.
Colladon am Genfersee mit doppelschnürigen lenkbaren
Drachen, die er in 200 m langen Bogen über den Himmel steuert. Später
erfolgt eine Seeüberquerung auf einem Brett, das vom Drachen gezogenen
wird. Die Idee des Kite-Ship wird auch in einem
Kapitel des 1864 erschienenen
Buches John Gay’s or Work for Boys beschrieben.

David Thayer stellt sich 1890 eine
Kombination aus Drachen und Ballons vor, die - von einem schwimmenden
Floß stabilisiert - Passagiere in einer Gondel über das Meer befördern
sollen.
William Abner Eddy, ein Journalist aus Bayonne in
New Jersey, entwickelt 1893 den ‚modernen’ schweiflosen
Drachen, den er sich im Jahr 1900 auch patentieren
läßt (US-Nr. 646.375). Unter dem Namen Eddy’s Bogendrachen werden
diese bald darauf vom US-Wetteramt als Träger für verschiedene Meßinstrumente
verwendet.
Schon im Mai 1895 war es Eddy gelungen, mit seinem Drachen die ersten Luftbilder in Amerika zu machen. In Europa hatte dies bereits 7 Jahre zuvor der französische Luftbild-Pionier Arthur Batut geschafft, der 1890 auch das erste Buch über dieses Thema veröffentlichte: Kite Aerial Photography.
Ebenfalls 1893 entwickelt
in Greenwich Lawrence Hargrave den Kastendrachen (oder
Zellendrachen), den er jedoch nicht patentieren läßt – da er ein
früher Anhänger der open source Bewegung ist. Mit Hargraves Drachen
werden verschiedenste Luftaufnahmen gemacht, so auch vom Brand nach
dem Erdbeben in San Francisco im Jahr 1906.
Ein weiterer Pionier der Menschenbeförderungstechniken ist der britische
General B. F. S. Baden-Powell, ein bekannter Ballonfachmann
und Bruder des Gründers der Pfadfinderbewegung. 1894 gelingt
es ihm im englischen Pirbright Camp einen Menschen mit einem einzigen
Drachen in die Luft zu heben. Baden-Powell läßt sich die Konstruktion,
die er Levitor nennt, 1895 patentieren
Am 12. Dezember 1901 unternimmt Guglielmo
Marconi seine ersten drahtlosen Übertragungsversuche von Poldhu
in Cornwall nach St. John’s in Neufundland. Die Empfangsantenne wird
mittels eines Baden-Powell-Levitor-Drachens auf eine Höhe von 122 m gebracht.
Die ersten Versuche mißlingen allerdings, weil es zu starken Wind gibt
und der Drache zu instabil ist.
Ab 1902 entwickelt in den USA Dr. Alexander
Graham Bell einen bemannten Drachen. Sein erster gesteuerter
und bemannter Flug findet im Dezember 1907 mit dem Cygnet statt, der aus 3.393 Einzelzellen besteht und mit Schwimmern ausgerüstet
ist.

Der Amerikaner Samuel Franklin Cody patentiert 1903 unter
dem Namen Cody’s Mankite einen Kastendrachen, der genug
Auftrieb entwickelt um einen Menschen tragen zu können. Nachdem Cody
im gleichen Jahr eine erfolgreiche Ärmelkanalüberquerung von Dover nach
Calais mittels eines von Drachen gezogenen Bootes gelingt, und er außerdem
einen Rekord für den höchsten Drachenflug aufstellt (ca. 4.200 m), wird
auch das zuvor ablehnend reagierende britische Militär hellhörig und
unterstützt die Entwicklung eines Man
Lifting System, das aus einer Reihe
von Drachen besteht.
Ab 1904 macht
Cody diverse Versuche zu Lande und zu Wasser, bei denen er
in eine Höhe von fast 240 m gehoben wird. 1906 übernimmt
die Armee das Drachensystem zur Kriegsbeobachtung.
1909 wird in Deutschland der Roloplan-Drachen von Richard
Steiff bekannt, der zum neuen Kassenschlager für die Spielwarenfabrik
wird. Der Erfinder läßt sich von Roloplan-Drachen auf einer eigens konstruierten
Haltevorrichtung in die Lüfte heben, und für den Flug kleiner Kinder
wird ein Tragekorb konstruiert. Außerdem entwickelt Steiff eine spezielle
Kamerahalterung für die Fotografie aus großen Höhen, bei der mittels
Seilzug eine Aufnahme nach der anderen geschossen werden kann.
Am Aeronautischen Observatorium in Lindenberg wird am 1. August 1919 der noch heute gültige Höhenweltrekord für Drachen von 9.740 m erreicht, bei dem eine Drachenkette aus acht Schirmdrachen zum Einsatz kommt.

Aus dem Jahr 1938 datiert
das britische Patent von A. van Gries (GB-Nr. 489.139)
unter dem Titel ‚Improvements in or relating to wind-driven power apparatus’,
bei dem mehrere Drachen an einer einzigen Leine dazu genutzt werden,
eine Windturbine in höhere Luftschichten zu heben. Vermutlich handelt
es sich hierbei um den ersten derartigen Ansatz, der inzwischen immer
größere Interesse weckt.
Im Zweiten Weltkrieg kommt als Teil der Seenotrettungsausrüstung
für Flugbesatzungen, die notwassern mußten, der Drachen Gibson
Girl zum Einsatz. Der Drachen, der seinen Namen der taillierten
Form des dazugehörigen Funkgerätes verdankt, trägt eine dünne Notantenne
in den Himmel, die mit einem Funkgerät verbunden ist, dessen handbetriebener
Generator es der Flugbesatzung erlaubt, SOS zu funken.
Danach ist es erst einmal mehrere Jahrzehnte lang ruhig – bis im Zuge des neuen Nachdenkens über Energie ab Mitte der 1970er Jahre gleich mehrere Patente beantragt werden: Lambros Lois nennt sein System Apparatus for extracting energy from winds at significant height above the surface (US-Nr. 3.924.827, 1975), während sich Charles McCutchen aus Annapolis und Peter R. Payne aus Bethesda freundlicherweise mit dem Titel Self-erecting windmill begnügen (US-Nr. 3.987.987, 1976). Hierbei handelt es sich um ein Gerät, das sich selbst in die Luft hebt und entweder eine Windmühle für die Extraktion von Energie aus dem Wind trägt – oder kreuz und quer durch den Wind oszilliert und die Wirkung über Spannleinen in eine nutzbare Leistung wandelt.

Von Charles
Max Fry und Henry
W. Hise stammt das Patent über einen Wind driven, high
altitude power apparatus (US-Nr. 4.084.102, 1978),
bei dem windbetriebene Rotoren (Senkrechtachser) entlang der Länge
einer flexiblen Antriebswelle befestigt sind, während die Hebevorrichtung
aerodynamische Auftriebskörper, Leichter-als-Luft-Auftriebskörper,
sowie eine Kombination davon umfaßt.
Über LTA/HAWP-Systeme berichte ich ausführlich im Unterkapitel Flugzeuge und Zeppeline (s.u.).
Eine Abwandlung sieht den Einsatz
der Rotoren in einem fest aufgespannten Netzwerk vor, z.B. in Tälern
durch die der Wind pfeift (US-Nr. 4.165.468, 1978).
Ein weiteres Patent über ein ähnliches Wind driven energy system
geht auf Arnold Loeb zurück (US-Nr. 4.124.182, 1978).
Etwas fraglich erscheint mir, ob das Patent eines Rotating kite tatsächlich umsetzbar ist, das einem Lewis Rodgers aus Barstow, Kalifornien, erteilt wird (US-Nr. 4.113.209, 1978). Es sieht jedenfalls interessant aus – erfordert allerdings, daß der rotierende Drachen selbst mit einem Generator ausgestattet wird.
Damit sind wohl ausreichend viele
Beispiele für das neuerwachte Interesse aufgeführt – wobei es natürlich
ebenso in den Folgejahren entsprechende Patentanmeldungen gibt, von
denen ich die wichtigsten noch erwähnen werde. Doch langsam nähern
wir uns auch den ersten (neuen) Umsetzungen.

Douglas ‚Doug’ Spriggs Selsam,
der uns mit seiner Selsam Superturbine später
im Kapitelteil Neue
Designs und Rotorformen wieder
begegnen wird, kommt schon im Alter von 19 Jahren auf die Idee eines
Drachen-Windkraftwerks, dem er den sperrigen Titel Wind
Harnessing Buoyant Aerial Tramway gibt. Damit kann er als
der ursprüngliche Ideengeber für das Laddermill-Konzept
gelten, das inzwischen von mehreren Gruppen zur Marktreife weiterentwickelt
wird (s.u.).

Unter Selsams damaligen Entwürfen aus dem Jahr 1977 befindet sich auch eine sehr interessante Grafik, auf der zwei verschiedene Konzepte nebeneinander zu sehen sind. Zum einen handelt es sich um eine Kette kleinerer Windrotoren, die von einem Drachen auf Höhe gebracht werden.
Es ist genau dieser Ansatz mehrerer Rotoren auf derselben Welle, den Selsam später intensiv weiterverfolgt – allerdings nunmehr ohne den Einsatz von Drachen. Auf dem zweiten Entwurf ist ebenfalls eine Reihe von Rotoren zu sehen, die gleichzeitig selber auch für ihren Auftrieb sorgen sollen. Eine Weiterentwicklung oder gar Umsetzung dieser Technologieanwendung habe ich bislang allerdings nicht finden können.
Ab 1979 experimentiert der Australier Bryan
William Roberts, Professor an der University of Technology
in Sydney, mit einer fliegenden Kreuzung aus Helikopter
und Drachen.

Auf einen Rumpf aus dünnen Metallstäben befinden sich zwei Windgeneratoren für die Stromerzeugung sowie zwei Rotoren für den Auftrieb, quasi als Ersatz für eine nichtrotierende Tragedrachenfläche. Als Durmesser des Einzelrotors werden 10,5 m angegeben. Die schwebenden Windräder sollen in 5 - 10 km Höhe oder mehr den Jetstream anzapfen und ununterbrochen 240 kW generieren, wobei die Stromgestehungskosten mit unter zwei US-Cent pro Kilowattstunde sehr günstig wären.

2002 gründen Roberts und Dave Hammond Shepard die Firma Sky WindPower Corp. (SWPC) in San Diego, Kalifornien, mit dem Ziel, bis 2010 einen entsprechenden Prototypen in der Luft zu haben. Gleichzeitig wird von Roberts das Patent für die Erfindung beantragt, das im August 2004 auch erteilt wird (US-Nr. 6.781.254). In einem Bericht des amerikanischen Energie-Fachmagazins IEEE vom März 2007 werden die Kosten dieser Versuchsanlage auf 5 Mio. $ beziffert, und 2008 wählt das Magazin Time den Flying Electric Generator (FEG) von Roberts zu einer der besten Erfindungen des Jahres. Inwischen gibt es aber auch Streit vor Gericht.
Im Juni 2006 hatte David Resnick, Risikokapitalgeber und Gründer von Baseload Energy Inc. in Portland, Oregon, Interesse an einem möglichen Joint Venture zwischen SWPC und Baseload gezeigt. Bei einem Treffen vereinbaren die Parteien angeblich mündlich, die Patentrechte einer neuen Gesellschaft mit beschränkter Haftung namens SkyWindPower Corp. in San Diego zu übertragen, die speziell für die Umsetzung der neuen Technologie zu gründen sei. Dabei würden SWPC und Roberts einen 80 %-igen Anteil haben, während Resnick, als Chief Executive Officer von Sky Power, eine 20 %-ige Beteiligung halten würde.

Hauptaufgabe der Firma ist die Beschaffung von 30 Mio. $ durch Investoren, um das FEG–Projekt weiterzuentwickeln. Eine schriftliche Vereinbarung wurde zwar vorbereitet, aber nie unterzeichnet. Nun behauptet Resnick, daß er den Vertrag in allen Punkten umgehend erfüllt habe, aber trotzdem von Roberts ausgebootet wurde. Man kann im Netz ein längeres Gerichtsprotokoll von 2010 finden, falls man die Sache weiterverfolgen will.

Bei meiner Recherche fand ich jedenfalls heraus, daß es aus dem Jahr 2008 eine Patentanmeldung der Firma Baseload gibt (US-Nr. 7.675.189), die sich mit dem Einsatz multipler Motoren/Generatoren bei einem Windenergiesystem befaßt – und als Anwendungsbeispiel eine fast gleiche Grafik zeigt. Hier wird als Erfinder ein Albert J. Grenier genannt. 2010 folgt eine weitere Patentanmeldung (US-Nr. 2010/0013236), die diesmal einen Joseph A. Carroll als Erfinder benennt.
Roberts und Shepard können schon im Jahr 2009 in Australien erstmals einen Prototyp namens Jabiro testen, der mit zwei jeweils 4,5 m durchmessenden Rotoren ausgestattet ist und noch sehr nach Werkstatt aussieht. Das Konzept des waagrechten Aufstiegs mit zugeführter Energie, dem sich bei Erreichen der geplanten Höhe eine umgekehrte Energieerzeugung anschließt, indem sich das ganze Teil schräg stellt, erweist sich als machbar.
Im März 2011 landet der Sky Windpower Generator auf dem Cover des Magazins Popular Mechanics, und im Dezember beginnen Tests mit dem Prototyp Jabiru II. Das Unternehmen residiert inzwischen im kalifornischen Oroville. Weitere Entwicklungsschritte sind bislang nicht bekannt.
Ab dem Jahr 1982 hält ein von Drachen gezogenes Boot
6 Jahre lang den allgemeinen Geschwindigkeitsrekord über 500 m.

Aufgrund der gestaffelt angeordneten Drachen, deren Anzahl je nach Windstärke gesteigert oder vermindert werden kann, nennt der Erbauer Ian Day sein Boot Jacob’s Ladder. Es erreicht eine Geschwindigkeit von 25 Knoten.
Ein
wesentliches Patent in diesem Bereich stammt von Bruno T. und Dominique
M. Legaignoux aus dem Jahr 1987 (US-Nr.
4.708.078). Die aufgeblasene Vorderkante und die aufgeblasenen Streben
des neuen Seitenwind-Drachens erlauben eine massive Gewinnung von
Wind durch Seitenwind-Bewegungen. Diese Struktur-Technologie wird
schon bald darauf von verschiedenen AWES-Forschungszentren auf der
ganzen Welt eingesetzt.

Die ersten Kitebuggys, von Drachen gezogene Strandsegler,
werden 1990 von Peter Lynn aus Neuseeland
entwickelt, der zuvor schon mit dem Bau der weltweit größten Drachen
bekannt geworden ist. Lynn verkauft inzwischen spezielle Kite-Katamarane,
die er Kitecats nennt (3.200 - 3.400 £, Stand 2013).
Wie erfolgreich der neue Sport ist, läßt sich an den erzielten Umsätzen ablesen: Alleine nur in Deutschland werden im Jahr 2014 insgesamt 19.000 Stück dieser Zug-Kites verkauft.
Es dauert dann nicht lange bis die Idee aufkommt, mit dem Kite und einem Surfboard auf das Wasser zu gehen - und inzwischen finden auch im Kitelandboarding und Snowkiting internationale Wettbewerbe statt, während sich die Fangemeinde stetig vergrößert.
Den aktuellen Geschwindigkeitsweltrekord mit einem Kiteboard hält übrigens der Franzose Alexandre Caizergues, der im Oktober 2008 auf einer 501 m langen Rennstrecke vor Luderitz in Namibia mit einem 7 m2 großen Drachen sagenhafte 50,57 Knoten erreicht (~ 93,56 km/h).
Auch in Japan wird das Konzept von Drachen verfolgt,
die in Höhen zwischen 4.000 und 6.000 m schweben sollen. Dabei soll
die Energie jedoch nicht mittels oben angebrachter Turbinen
umgewandelt, sondern durch die starke Rotation der Halteseile, die
aufgrund der jetartigen Luftströmung erfolgt, mechanisch auf den Boden
übertragen werden.
1992 wird anhand eines kleinen Versuchsdrachen nachgewiesen, daß es möglich ist, den Drachen computergesteuert so auf und ab zu bewegen, daß es zu einer gleichmäßigen Rotation der Seile kommt. Sollen die Drachen zur Stromerzeugung in größerem Maßstab eingesetzt werden, so müßten diese jeweils etwa 4 t wiegen und zur Gewichtsverringerung mit Helium gefüllt werden. Die Entwicklungs- und Erprobungszeit wird mit etwa 10 bis 12 Jahre veranschlagt. Leider habe ich bislang keine weiteren Informationen über dieses Projekt finden können.
Ebenfalls 1992 meldet Colin H. B. Jack aus Oxford in Großbritannien ein WIPO-Patent unter dem Titel Free Rotor an (WO/1992/020917), dessen primäre Umsetzung ein luftgestützter Windgenerator ist. Mit Free Rotor meint der Erfinder eine Struktur, die sich in ihrer Gesamtheit dreht, um kinetische Energie aus einer Strömung zu extrahieren, und dabei über ein Drehgelenk mit einer Halteleine verbunden ist. Durch sekundäre Propellern kann das System dann elektrische Energie erzeugen.

Im Jahr 2000 beginnt Bill Rayner aus
Sydney mit der Konstruktion und Patentierung des patentierten Dingbat
1,
einer Mischung aus Drachen und Segelflugzeug, mit der Boote gezogen
werden. Anfang 2003 folgt der Dingbat 2,
der ab 2004 seine Tests in der Botany Bay absolviert.
2007 wird bei seiner 1989 gegründeten Firma Rayner Design Pty Ltd. im australischen Wahroonga – finanziert von Clif Barker – immer noch optimiert, weiterentwickelt und getestet. Insbesondere das Kontroll- und Steuersystem macht viel Arbeit.
Als nächstes sollen in einer neuen Rahmenkonstruktion zwei jeweils 4,6 m2 große Segel aufgespannt werden. Es ist jedoch nichts darüber zu finden, daß dies tatsächlich erfolgt ist - neuere Meldungen gibt es keine.
2004 schlägt der ehemalige ESA-Astronaut Wubbo
Johannes Ockels an der Technischen Universität Delft, Holland,
das Projekt Laddermill (Leitermühle)
vor, bei dem eine Staffel hintereinander aufgereihter Drachen in den
Himmel auf und ab steigen soll.

Prof. Ockels, der sich seit 1993 mit dieser Idee beschäftigt und im Juni 2000 ein entsprechendes Patent erhält (US-Nr. 6.072.245, beantragt Ende 1997), möchte nun innerhalb von vier Jahren einen Prototyp vorstellen.
Im Jahr 2005 wird an der TU Delft eine Kite Power Forschungsgruppe gegründet, und ab 2006 arbeitet auch der russische Physiker Alexander Podgaets an der Entwicklung von Energie-Drachen (Power Generating Kites) mit. Die beiden Wissenschaftler stellen in den Folgejahren eine ganze Reihe von Konzepten vor.
Bei einem dieser Konzepte handelt es sich um Zugdrachen, die an einem umlaufenden Kabel befestigt sind, das mehrere Kilometer weit hoch reicht, um die starken Höhenwinde auszunutzen. Dabei werden die einzelnen Drachen so gesteuert, daß sie auf der einen Seite des Kabels nach oben, und auf der anderen Seite nach unten ziehen. Der entstehende Kabeldurchlauf soll an der Bodenstation zur Stromerzeugung genutzt werden. Da der Wind in den großen Höhen bis zu 20 Mal stärker ist als in Bodennähe, könnte mit diesem System bis zu 100 MW Strom zu einem Preis von 5 Cent/kWh erzeugt werden.

Außer mit Zugdrachen wird auch mit Tragflächenprofilen gearbeitet, die an dem Zugseil auf und absteigen.
Ein weiteres Konzept betrifft Lenkdrachen, deren Energie durch periodisches Aufsteigen über Seile auf den am Boden befindlichen Generator übertragen werden, weshalb man das Prinzip auch ,Wind-Jojo’ nennt.
Angetrieben vom kräftigen Höhenwind, steigt der Gleitschirm zunächst hinauf und zieht das Seil nach, an dem er hängt. Wenn dieses abgerollt ist, dreht sich die Seilwinde in der anderen Richtung und holt den Drachen wieder herunter. Beim Aufstieg wird die Energie erzeugt, von der beim Abstieg nur ein kleiner Teil wieder verbraucht wird, da der Gleitschirm im zusammengefalteten Zustand eingeholt wird. Einen Drachen beispielsweise von 4,5 auf 5 km Höhe aufsteigen zu lassen, dauert etwa 60 Sekunden. Dann wird er innerhalb von 20 Sekunden wieder heruntergeholt und der Zyklus startet von neuem.

Eine weitere angedachte Version ist eine Laddermill aus mehreren Drachen, an denen jeweils zwei kleine Windgeneratoren angebracht sind. In diesem Fall wirken die Drachen nur als Träger.
Im Januar 2007 findet in Leuven der ‚First International Workshop on Modelling and Optimization of Power Generating Kites’ statt - und im August wird das ,Wind-Jojo’ System erstmals getestet. Mit einem 10 m2 großen computergesteuerten Drachen, dessen Generator-Winde auf einem LKW montiert ist, wird eine Leistung von 10,5 kW erreicht. Der Drachen steigt dabei auf rund 400 m Höhe, und das Ausziehen des Seils liefert Strom wie bei einem Dynamo.

In Delft plant man nun ein 50 kW Prototyp, bei dem durch mehrere versetzt auf- und absteigende Drachen eine konstante Energieabgabe gewährleistet wird – sowie ganze Schwärme von 50 Lenkdrachen, von denen jeder die Spannweite eines Fußballfeldes hat.
Die Gleitschirme sollen übereinander schweben, und ihr Haltetau wäre 6,5 km lang und dick wie ein Laternenpfahl. Eine solche Höhen-Windmaschine könnte Leistungen von bis zu 100 MW erwirtschaften. Im Computer wurde sogar schon eine Maschine mit 5 GW Leistung simuliert.

Die Kite Power Forschungsgruppe unter der Leitung von Rohland Schmehl arbeitet derweil an der Entwicklung einer Technologie, die auf aufblasbaren Membran-Flügeln basiert, die mit einer Motor/Generator-Einheit auf dem Boden verbunden sind. Ein Demonstrator, der ab Januar 2010 für Versuche zur Verfügung steht, arbeitet mit Drachen von 14, 25 oder 50 m2 Fläche, die im periodischen Zugbetrieb bis zu 20 kW mechanische Energie auf die Seiltrommel bringen.
Im Juni 2012 demonstrieren Ockels und das Kite Power Team auf der Maasvlakte, einem Industriegebiet und Teil des Hafens Rotterdam, wo sich - in der Nähe des Flughafens Amsterdam-Schipohl - das Versuchsgelände der TU Delft befindet, eine vollautomatisch arbeitende und stromproduzierende Wind-Energie-Anlage, deren Drachen bis auf eine Höhe von 900 m steigen kann. Es handelt sich um ein eher konventionelles Zugseil-System, wie es sich als am einfachsten umsetzbar erwiesen hat, was wir auch noch anhand der Erfahrungen anderer Unternehmen sehen werden. Die Herstellung der mobilen Bodenstation soll rund 60.000 € gekostet haben, während die Kontrolleinheit (im Falle einer Serienproduktion) mit 5.000 €, und der Drachen samt Seil mit ca. 1.200 € zu Buche schlagen werden.
Ein Unternehmen im niederländischen Den Haag, das aus dem Ockels-Projekt hervorgeht, will schon 2013 ein Drachenkraftwerk mit einer Leistung von 1 MW auf den Markt bringen.
Außerdem wird an der TU Delft mit dem Entwurf Flying Plaza eine Idee des argentinischen Künstlers Tomas Saraceno weiterverfolgt: Eine schwebender Platz, der Menschen mittels aerodynamischer Kräfte in die Luft hebt. Auch dieses innovative Konzept basiert im Wesentlichen auf der Kite-Technologie, und nach Designs, Machbarkeitstudien und unbemannten funktionalen Prototypen soll bis Juni 2013 eine Flying Plaza für eine Nutzlast von ein paar Personen gebaut werden.
Mitte 2004 stellt der australische Mathematiker und
Militärwissenschaftler Stephen Bourn das Konzept eines windbetriebenen
Bootes vor, mit dem er einen Geschwindigkeits-Weltrekord aufstellen
möchte.

Auch dieses Hydrofoil-Konzept wird von einem Gebilde gezogen, das wie ein Drachen/Segeler-Hybrid aussieht. Aufgrund der ausgefeilten Aerodynamik soll es sich mit mehr als dem Doppelten der vorherrschenden Windgeschwindigkeit vorwärtsbewegen. Die ersten kleinen, ferngelenkten Modelle funktionieren jedenfalls zufriedenstellend.
Bourn arbeitet an dem Design eines Bootes mit einem Drachen/Segel von 8 m Spannweite, das mittels zwei Joysticks gesteuert bis zu 30 Knoten schnell werden soll – und dies bei einer Windgeschwindigkeit von nur 15 Knoten. Außerdem werden zur weiteren Optimierung Computer-Simulationen durchgeführt, und Patente sind ebenfalls schon angemeldet bzw. erteilt (z.B. US-Nr. 6.675.735).
Die Arbeit wird ab 2007 mit Hilfe von Studenten der University od Adeleide fortgesetzt, und im Jahr 2010 gibt es Fotos von einer Weiterentwicklung, die unter dem Namen Wing-borne Hydrofoil (WBHF) läuft und in einem Swimmingpool getestet wird. Der 3,6 m lange Prototyp hat eine Flügelspannweite von 8 m und wieght 75 kg. Bourn hofft, damit eine Geschwindigkeit von über 40 Knoten zu erreichen. Neuere Informationen gibt es nicht.
Ein weitere Drachenenergie-Konzept verfolgt der Turiner Ingenieur
Massimo Ippolito, Inhaber und Forschungsleiter der
Firma Sequoia
Automation Srl.
Nach sechsjähriger Entwicklungsarbeit präsentiert er 2006 sein
Projekt Kite
Wind Generator (KGW).

Der Vorschlag beinhaltet, Höhendrachen mit den Speichen eines riesigen Rades am Boden zu verbinden und dieses damit in Rotation zu versetzen. Die rund 1.000 m hoch fliegenden Gleitschirme bekämen programmierte Autopiloten, so daß sie beim Aufstieg Kreise fliegen und das Riesenrad zum Drehen bringen. Diese Bewegungsenergie ließe sich dann in Strom umwandeln. Ein Karussell mit einem Durchmesser von 100 m soll 500 kW erzeugen, mit 300 m schon 18 MW, und mit 1.000 m Durchmesser sogar 500 MW.
2007 gründet Ippolito in Chieri bei Turin die Firma Kite Gen Research Srl (KiteGen), um ein Konzept mit einer Leistung von 1 GW zu verwirklichen, bei dem 12 Linien mit jeweils vier 500 m2 großen Drachen zu Einsatz kommen sollen. Auf der Homepage des Unternehmens, das bereits 22 Patente besitzt, wird auf die Eigenbewegung der Drachen in Form einer liegenden 8 (auch Lemniskate genannt) Bezug genommen, die uns weiter unten bei der SkySail-Technologie noch begegnen wird.

Im September 2007 erfolgt auf dem Flughafen von Casale Monferrato ein erster erfolgreicher Test des Prototyps KSU1, bei dem dieser bis auf eine Höhe von 800 m steigt. Dabei handelt es sich allerdings um nur einen einzelnen Drachen, der an einem langen Schwenkarm aus Aluminium befestigt ist und Lemniskaten fliegt, wobei eine sogenannte Kite Steering Unit (KSU) zum Einsatz kommt, wie sie schon im Wassersport eingesetzt wird. Die Technik basiert auf zwei an Spulen bzw. Winden befestigten hochresistenten Kunststoffseilen, über welche die Energieübetragung auf den bodenbasierten Generator erfolgt. Erzielt werden durchschnittlich 5 kW mit Spitzen von bis zu 40 kW. Für das Jahr 2009 ist ein 3 MW Generator geplant, der in der Nähe von Asti installiert werden soll - gefolgt von einem Karussell-System, das mit 9 Drachen zu jeweils 3 MW bestückt ist. Außerdem entwickelt das Unternehmen Pläne für ein Offshore-System. Die Umsetzung verzögert sich dann allerdings.
Erst im Jahr 2010 beginnt in der Gemeinde Sommariva Perno der italienischen Provinz Cuneo, Region Piemont, der Bau des ersten operativen STEM-Systems mit 27 MW Spitzenleistung, der im Februar 2012 abgeschlossen wird, worauf sich eine Test- und Optimierungsphase anschließt (Stem = engl. Stengel, Halm). Noch nicht bestätigen konnte ich, daß dort auch schon ein System mit 9 Generatoren in Betrieb ist, das 27 MW Spitzenleistung erzeugt.
2012 meldet KiteGen, daß man inzwischen bereits 80 Patente erteilt bekommen habe und nun an einem vorindustriellen Prototyp des KiteGen STEM 3MW Generator arbeiten würde. Das Unternehmen hofft, für die Weiterentwicklung und den Bau einer 150 MW Farm mit 50 STEMs Investitionsgelder in Höhe von 62 Mio. $ akquirieren zu können. Bislang sind von der EU sowie seitens privater Investoren wie Ippolito selbst und einer Gruppe namens SOTER (Society for the Transition to Renewable Energy) 12 Mio. $ in das Projekt geflossen. Bei einem 100 MW Kraftwerk wird mit Gestehungskosten von 0,05 € je Kilowattstunde gerechnet, und bei einer 1 GW Anlage von sogar nur 0,03 €/kWh. Interessant ist auch der von Ippolito betonte Aspekt, daß die bei einem Kernkraftwerk übliche Flugverbotszone Platz für 1 GW Höhenwindkraft bietet.

Unter dem Namen Rotokite wird von Sequoia (die eigentlich Expertenlösungen zur Vibrationsüberwachung anbietet) ein innovatives Projekt vorgeschlagen, bei dem ein ultraleichter Doppeldrachen ein aerodynamisches Profil erhält, das ihn dazu veranlaßt sich um die eigene Achse zu drehen und die Wirkung eines Propellers nachzuahmen.
Die radikale Drehung erzeugt Vortriebskraft auf der Leine – und vereinfacht gleichzeitig das schwierige Problem der Flugsteuerung des Drachen. Die Energieübertragung erfolgt dagegen konventionell über einen Winden-Mechanismus mit Generator auf dem Boden. Der Jojo-Effekt wird erzielt, indem die Profile geschlossen werden, sobald der Drachen seine Gipfelhöhe erreicht und wieder eingeholt wird. Um die Energieproduktion konstant zu halten, die während des Einholens unterbrochen wird, sollen zwei oder drei getrennte und unabhängige Einheiten mit alternierenden Betriebsmodi eingesetzt werden.

Die extreme Leichtigkeit des Systems ermöglicht den Einsatz eines kleinen Wetterballons, der das System auch bei Windstille oben halten und die Berührung mit dem Boden minimieren würde. Was wiederum eine Nutzung auf hoher See ermöglicht. Zwei Drachen mit je 10 m Spannweite, wie sie im Sport eingesetzt werden, fangen in Drehung um ihre eigene Achse Wind von 314 m2 ein, womit sie zwischen 2 und 30 kW erzeugen, je nach Geschwindigkeit des Windes. Die Rotokite-Struktur, die Positionierung des Generators auf dem Boden und die extreme Einfachheit der Kontrollmechanismen führen dazu, daß das Unternehmen die Energieerzeugungskosten seines Systems auf 0,01 € pro kWh oder noch oder weniger schätzt.
Ein weiteres innovatives Projekt der Sequoia läuft (seit 2009?) unter dem Namen Heli Wind Power. Hierbei geht es um eine Art Flugzeug-Drachen, der mit zwei großen Rotoren ausgestattet ist, wobei die Übertragung von mechanischer Energie durch den Einsatz neuer Arten von Glasfaserkabeln vereinfacht werden soll.
Dieses System basiert auf einem von Gianni Vergnano entwickelten Patent und soll Stromgestehungskosten von 1,2 Cent pro kWh ermöglichen, doch außer der abgebildeten Grafik scheint es noch keine Schritte zur Umsetzung gegeben zu haben.

2006 wird die Französin Anne
Quéméré zur
ersten Person, die in einem Drachen-gezogenen Boot in nur 55 Tagen
völlig alleine den Nordatlantik überquert...!

Auch das Unternehmen Kite For Sail LLC in Martinez,
Kalifornien, beschäftigt sich mit VLFFS-Lenkdrachen (very
large free-flying sails) als Antriebsquelle für kleinere Schiffe.
2006 gewinnt das Unternehmen mit seinem Speed Kite den California Clean Tech Open Wettbewerb.
Der eingesetzte Drachen erreicht eine Zugkraft von 10.000 PS.
2008 bietet das Unternehmen bereits eine ganze Reihe von Modellen zwischen 6 m2 und 10 m2 Fläche an – die zwischen 900 $ und 3.500 $ kosten.
Die Firma WindLift LLC wird im April 2006 in Wisconsin gegründet. Ziel des 2-Mann-Unternehmens es ist, einen preisgünstigen Drachen-Antrieb für Entwicklungsländer zu entwickeln und zu vermarkten, der zur Energie- und Luftdruckerzeugung, zum Aufladen von Batterien und insbesondere zum Wasserpumpen geeignet ist, denn immerhin wird rund 7 % des weltweiten Energieverbrauchs für Bewässerungszwecke eingesetzt - und in vielen Ländern der 3. Welt hat dieses Segment höchste Priorität.

Das von Robert Creighton entwicklete WindLift-System gewinnt im Juni 2007 den zweiten Platz des Businessplan-Wettbewerbs der University of Madison, Wisconsin, und die mechanische Windkraft-Kolbenpumpe sollte nach ihrer Optimierung eigentlich Anfang 2008 in Indien getestet werden, was anscheinend jedoch nicht erfolgt ist. Statt dessen zieht das Unternehmen nach Durham, North Carolina, um.
Nun soll ein erster Prototyp im Sommer 2009 in Kitty Hawk, North Carolina, untersucht werden, der an zwei 8 kW Generatoren angeschlossen ist. Anschließend sollen im Laufe von 18 – 24 Monaten marktreife Energie-Drachen mit 5 kW, 10 kW und 20 kW entwickelt werden, wozu WindLift, das die liegende 8 in sein Firmenlogo integriert hat, aber noch rund 6 Mio. $ benötigt. Die kommerziell geplanten Anlagen sind jedenfalls äußerst kundenfreundlich: Das 10 kW System mit einem 90 m hoch fliegenden Drachen soll 5.000 $ kosten, eine kleinere 5 PS Version sogar nur 1.000 $.
Im September 2009 wird das inzwischen als WindLift Inc. firmierende Unternehmen durch das Department of Defense gefördert, um ein mobiles Modell 8 mit 12 kW zu entwickeln und seine Machbarkeit zu belegen. Vermutlich aus Rücksicht auf den Geldgeber firmiert das Projekt unter der Zielsetzung, in Post-Konflikt-Gebieten in der Dritten Welt Energie zu liefern, um Stabilisierung und Wiederaufbau der lokalen Wirtschaft und die Verbesserung der Lebensqualität zu unterstützen. Wie man anhand des Fotos der beweglichen Steuer- und Energieerzeugungseinheit sehen kann, rückt Creighton damit allerdings weit von seinem ursprünglichen Ansatz ab. Die ersten Tests beginnen im August 2010 in der Nähe von Kitty Hawk, North Carolina, von weiteren Fortschritten ist bislang nichts zu vernehmen.
Einen ordentlichen Schritt weiter
geht es mit der Drachen-Windkraft, als im Oktober 2006 Google.org,
der philanthropische Arm der kalifornischen Suchmaschinen-Firma,
im Rahmen seines ,Renewable Energy Cheaper than Coal’-Programms 10
Mio. $ in das von Saul Griffith, Don Montague und Corwin
Hardham frisch gegründete US-Unternehmen Makani
Power Inc. investiert, das sich ebenfalls mit hochfliegenden
Drachen beschäftigt. Nähere technische Details werden nicht
bekanntgegeben, und auf dem bislang einzigen veröffentlichten
Foto ist nur ein Drachensegment zu sehen, das an einen Fledermausflügel
erinnert.

Makani bedeutet im Hawaiianischen Wind oder Brise. Die Drachen sollen Starkwinde in 5 – 10 km Höhe nutzen und einen Wirkungsgrad von 60 % bis 75 % erreichen. Dabei nutzt das Makani-System Drachen, die in einer kreisförmigen Bahn fliegen und Strom über Windräder erzeugen, die auf dem Hauptflügel montiert sind. Die Stromübertragung zur Erde erfolgt über ein patentiertes elektrisches Kabel, das in dem Halteseil integriert ist.
Im Laufe des Jahres 2007 werden in dem in Alameda, Kalifornien, beheimateten Unternehmen Kontroll- und Lenkungsstrategien für Textil-Drachen sowie eine bodengestützte Winde entwickelt. Für die erste Demonstration der Stromerzeugung wird ein drahtlos gesteuerter Drachen verwendet.

Im Jahr 2008 werden zwei mobile Bodenstationen gebaut, um flexible Testläufe zu ermöglichen, und bei mehreren 30-stündigen autonomen Flügen gelingt es, eine positive Netto-Stromerzeugung zu erreichen. Im August schießt Google.org weitere 5 Mio. $ zu – wobei bis zu diesem Zeitpunkt noch immer keine Details bekannt geworden sind.
2009 erfolgt der erste autonome Schwebeflug eines angebundenen Flügels, außerdem werden ein Hybridrotor und eine vorausschauende Bahnsteuerung entwickelt. Im August erfolgen autonome Seitenwind-Flüge mit einem neu fertiggestellten Starrflügel-Prototyp (Wing 3), und auf einer TED-Präsentation Ende des Jahres nennt Griffith erstmals so etwas wie Zahlen. Demzufolge erzeugt ein Drachen mit 5 m Spannweite beständige 10 kW, was immerhin schon für eine Handvoll Häuser reichen würde. Makani arbeitet aber auch an sehr viel größeren Drachen, die in einer Höhe von 250 – 600 m fliegen und Strom im Megawatt-Bereich erzeugen sollen. Mit einer Spannweite von 35 m sollen bereits 1 MW erzeugt werden können. Ein Drachen dieser Größe wird rund 2 t wiegen – dazu kommt ein 4 cm dickes Halte- und Leitungskabel mit einer weiteren Tonne Gewicht.

Im Jahr 2010 folgt mit dem Wing 4 Prototypen ein erster starrer Flügel mit integrierter Stromerzeugung, der bei Tests in Hawaii und Kalifornien eine mittlere Leistung von mehr als 8 kW erzielt. Wing 6 wird konstruiert und ab Mitte des Jahres getestet, um zu demonstrieren, daß eine einzige fliegende Plattform sowohl im Schwebe- als auch im Hochgeschwindigkeits-Seitenwindflug betrieben werden kann, wobei der neue Prototyp auch die Übergänge zwischen den verschiedenen Flugmodi unter autonomer Steuerung bewerkstelligt.
In diesem Jahr erhält das Unternehmen auch einen Zuschuß in Höhe von 3 Mio. $ von der Advanced Research Projects Agency (ARPA-E) des U.S. Department of Energy (DOE), um einen vorkommerziellen 30 kW Prototyp der Airborne Wind Turbine (AWT) von Makani zu entwerfen und zu testen (Wing 7). Bis das Teil allerdings auf den Markt kommt, wird es noch mindestens bis 2015 dauern, da dem Unternehmen zufolge in der Regel rund 100 Mio. $ und entsprechend viel Zeit benötigt werden, um eine neue Technologie zur Marktreife zu bringen. Um dies bei dem MW-Drachen zu erreichen, will Makani nun weitere 25 Mio. $ einwerben.
2011 folgen der Bau und die Versuchsflüge des Wing 7 Prototypen, einem Kohlefaserflügel mit 8 m Spannweite, in dem sich ein eigens entwickeltes Avionik-System befindet und an dem drei Propeller angebracht sind, die auch bei schwachem Wind Strom erzeugen. Das Gerät wiegt gerade einmal 58,4 kg und erreicht bei einer Windgeschwindigkeit von 35 km/h eine Leistung von 20 kW. Um das Fluggerät zu starten, wird es vom Boden aus mit Druckluft angeströmt, und sobald der natürliche Wind genug Auftrieb erzeugt, steigt es auf die gewünschte Flughöhe, um dann in eine elliptische Flugbahn einzuschwenken. Alleine starten kann es ab einer Windgeschwindigkeit von 12,5 km/h am Boden. In diesem Fall erfolgt der Start vertikal mit Unterstützung der Propeller, die vom Boden aus mit Strom versorgt werden. Sobald der Apparat eine Höhe von 200 m erreicht hat (andere Quellen: 450 m), verändern die Propeller ihre Position von der Vertikalen zur Horizontalen, und der Flügel beginnt wie ein Flugzeug zu schweben. Nun fungieren wie Propeller als Turbinenschaufeln und erzeugen Energie. In diesem Jahr wird Makani auch mit dem Breakthrough Award des Magazins Popular Mechanics ausgezeichnet.

In den bisherigen fünf Entwicklungsjahren ist aus einem weichen Textil-Kite mit Generator auf dem Boden ein starrer Hochleistungs-Flügel mit Onboard-Stromerzeugung geworden, der deshalb eigentlich den späteren Kapitelteil Flugzeuge und Zeppeline zuzuordnen wäre. Aufgrund der Entstehungsgeschichte lasse ich das Projekt aber hier stehen.
Die Planungen der nächsten Entwicklungsschritte, die 2012 bekannt werden, betreffen ein 30 kW Gerät (M30) für Arbeitshöhen zwischen 40 m und 110 m, sowie eine 600 kW Anlage (M600), die in den folgenden drei Jahren bis zu kommerziellen Einsatzbereitschaft weiterentwickelt werden soll. Das Modell mit einer Spannweite von 28 m ist für den Einsatz in Onshore-Windparks an Land bei Flughöhen von 140 m bis 310 gedacht. Bis 2015 soll ein marktfähiges Produkt geschaffen werden, das auf 550 m Höhe 1 MW erzeugen kann. Am Endziel des Entwicklungsprogramms steht dann eine 5 MW Anlage (M5) mit einer Spannweite von 65 m, die speziell für Offshore-Anwendungen im tiefen Wasser und einer Operationshöhe bis 600 m entwickelt werden soll.
Im Mai 2013 erwirbt Google die Makani Power Inc. und integriert die Firma in seine Google X Forschungseinrichtung.
Ebenfalls 2006 gründet der Luft-
und Raumfahrtingenieur Uwe Ahrens die Firma NTS
Energie- und Transportsysteme GmbH in Berlin (auch als
Nature Technology Systems bekannt), um Windkraftanlagen zu entwickeln
und zu bauen, die das patentierte NTS-Prinzip verwenden,
welches die Windenergie auf eine ganz besonders effiziente Weise nutzen
soll.

Im Gegensatz zu allen bisherigen Systemen besteht die X-Windtechnologie (sprich: Cross-Windtechnologie), wie der Markenname für die NTS-Anlagen lautet, aus Winddrachen, die auf Schienen eine Art Schlitten ziehen, die wiederum über einen Generator Strom erzeugen. Dies soll auf der geschlossenen, kreisförmigen Strecke durch Kabel erfolgen, wobei jeder Schlitten von einem vierstufigen Drachen gezogen wird.
Das Konzept vereint zwei bekannte Technologien zu einer Art Grundlast-Kraftwerk: automatisch gelenkte Drachen und Monorail-Systeme. Mit den starken Winden in einer Höhenlage von 1.500 m soll es damit möglich sein, Strom für weniger als 2 Cent/kWh zu erzeugen.

Zwischen 2009 und 2012 werden die Präsentationen des Konzepts bei diversen Veranstaltungen in Europa und der Türkei ausgezeichnet, während die Arbeit des Entwicklungsteams im Herbst 2010 startet. Im September 2011 funktioniert die erste Steuerungseinheit mit vollautomatischem Betrieb, und im Juli 2012 kann der erste Strom mit Energiedrachenantrieb erzeugt werden. Mit ca. 1.000 W/m2 liegt das Ergebnis deutlich über den angestrebten 700 W/m2.
Zu diesem Zeitpunkt existiert in Salow/Datzetal bei Friedland in Mecklenburg-Vorpommern bereits eine 400 m lange, gerade Strecke, auf der die Stromzüge zu Testzwecken hin und zurück gondeln. Gefördert wurde die NTS-Testanlage durch die Investitionsbank Berlin in Kooperation mit dem Europäischen Fonds für regionale Entwicklung (EFRE).
Im Jahr 2013 plant NTS den Bau eines Schienen-Rundkurs mit einer Länge von 700 m, um zu beweisen, daß das System auch durchgängig und voll automatisiert Strom erzeugen kann.

Später wird sogar von einem zwischen 1,2 km und 5 km langen Rundkurs gesprochen. Die Drachen würden dabei in einer Höhe zwischen 200 und 500 m fliegen und die Schlitten im Kreis ziehen. Die mehr als 150.000 €, die hierfür nötig sind, will NTS unter anderem über die Kölner Crowdfunding-Plattform Green Crowding finanzieren.
Im Erfolgsfall, d.h. wenn es gelingt, die Drachen auf dem Rundkurs in der Luft zu halten, soll schon eine Energiegenossenschaft als Investor für das dann erste kommerzielle Höhenwindprojekt der Welt mit einer Leistung zwischen 6 und 24 MW bereitstehen, die zwischen 15 und 26 Mio. € in das Projekt investieren will. Die Drachen, die dabei zum Einsatz kommen sollen, hätten eine Fläche von bis zu 400 m2.
Seit 2012 arbeitet NTS auch mit dem Fraunhofer-Institut für Produktionstechnik und Automatisierung (IPA) in Stuttgart zusammen. Gemeinsam werden Tests an einer 400 m langen Strecke durchgeführt, wobei die Drachen bislang allerdings nur manuell mit einer Fernbedienung gesteuert werden. In einem Folgeschritt soll diese Strecke zu einer Kreisbahn mit automatischem Betrieb ausgebaut werden. Simulationen zufolge könnten 24 Drachen auf einer entsprechend großen NTS-Spur bis zu 120 GWh pro Jahr erzeugen.
Im Januar 2007 findet an der Katholieke Universiteit Leuven
in Belgien das erste ‚International Workshop on Modelling and Optimization of
Power Generating Kites’ (KITE-OPT 07) statt.

Im Juli 2007 präsentieren
am Bremer Institut für Betriebstechnik und angewandte Arbeitswissenschaft
(BIBA) an der Universität Bremen 250 Nachwuchsingenieure des Fachbereichs
Produktionstechnik ihre Entwicklungen.
Die in zehn Gruppen aufgeteilten Studenten stellen eine Vielfalt an Lösungen vor, die der Forderung des Aufgabenpapiers der Lehrveranstaltung Produktionstechnik IV entsprechen: Energiegewinnung durch Flugdrachen.
Im gleichen Jahr 2007 konzipiert die Designerin Stefanie Krücke aus Hannover im Rahmen ihrer Diplomarbeit die Winddrachen-Yacht Kitano, ein Luxusboot für bis zu 8 Personen, dem man nur eine schnelle Verwirklichung wünschen kann.
Ab 2007 (?) ist auch die KiteLab Group von Dave Santos in Ilwaco, Washington, aktiv, die auf dem Washington State International Kite Festival einen Kite-Motor vorstellt, der im Grunde aus nichts anderem als einem fliegenden Windkraftrotor besteht. Auch im Februar 2010 wird ein rotierender Drachen mit einer einzelnen Leine demonstriert. Leider sind die entsprechenden Internetpräsentationen so chaotisch, daß es schier unmöglich ist, nachvollziehbare Ergebnisse zu finden.
Ebenfalls im Jahr 2007 bilden
Prof. David J. Olinger und seine Studenten am Worcester
Polytechnic Institute (WPI), einer privaten
Universität in Worcester, Massachusetts,
das WPI Kite Power
Team, um an einem
Energie-Drachen zu arbeiten.

Das Team konzentriert sich auf die Entwicklung eines Low-Cost Kite Power Systems für Entwicklungsländer, wobei anfänglich ein Segelflugzeug-Modell eingesetzt wird, bevor der Umstieg auf einen Drachen im Jojo-Betrieb erfolgt. Dabei wird der metallne Ausleger der Katapult-ähnlichen Bodestation in eine Pendelbewegung versetzt, wodurch die Stromerzeugung erfolgt.
Im Rahmen einer Bachelor-Abschlußarbeit wird am WPI im Jahr 2009 auch das Konzept eines Luftschiffs als Windturbinen-Träger untersucht, praktisch jedoch nicht weiterverfolgt.
Für 2010 ist geplant, in Namibia, Afrika, mit einem 1 kW Kite-System Strom für eine kleine Siedlung zu produzieren, was ausreicht, um z.B. 25 Stück 40 W Glühbirnen zu versorgen. Eine Umsetzung des Projekts konnte ich bislang noch nicht nachweisen. Bislang ist die Gruppe auch noch nicht in der Lage, ein System zu entwickeln, das auch praktisch genug ist, um es zu vermarkten.
Meldungen vom November 2013 zufolge beschäftigt sich Olinger inzwischen mit der Umsetzung der Technik unter Wasser, worauf das Projekt durch einen dreijährigen Zuschuß der National Science Foundation in Höhe von 300.000 $ gefördert wird. Über Unterwasserdrachen und andere Technologien, die sich mit der Nutzung der Strömungs- und Gezeitenenergie beschäftigen, berichte ich im Kapitelteil Meereskraftwerke (s.d.).
Im August 2008 beantragt
die in Milano beheimatete Firma Zanettistudios
S.r.l. von Giancarlo Zanetti, die seit 2002 Unternehmen
bei der Entwicklung neuer Technologien berät, ein Patent für seine Twind-Technologie
– eine neue Variante der Höhenwindnutzung, bei der Drachen mit Fesselballons
kombiniert werden.

Das Gesamtsystem besteht aus zwei Paaren von je einem 200 m2 Drachen und einem 12 m durchmessenden Ballon, deren Zugseile miteinander verbunden sind und in der Bodenstation über eine Generatoreinheit geleitet werden. Abwechselnd öffnet einer der Ballone seinen Drachen und läßt sich vom Wind bis auf 800 m Höhe ziehen, während der andere Ballon seinen Drachen zusammenfaltet und vom gemeinsamen Seil heruntergezogen wird, usw.
Im Vergleich mit traditionellen Windkraftanlagen soll das Twind-System eine vierfache Effizienz haben, während die Kosten fünfmal niedriger liegen sollen.
Im Zuge der Recherchen lassen sich zwei Patentanträge finden: Energy generation system with self opening and closing of sails (US-Application Nr. 20110210559 von 2009, veröffentlicht 2011) sowie Sail system for generationg energy from a fluid flow (US-Application Nr. 20130241208 von 2013, veröffentlicht 2013). Über praktische Versuche und Umsetzungen ist nichts bekannt.
Ebenfalls 2008 gründet JoeBen
Bevirt die Firma Joby Energy Inc. in Santa
Cruz, Kalifornien, um Windkraftanlagen zu entwickeln und zu vermarkten,
welche die Macht der Höhenwinde nutzen.

Das Unternehmen will die Turbinen im Jetstream schweben lassen – worüber die Federal Aviation Administration (FAA), die Bundesluftfahrtbehörde der Vereinigten Staaten, nicht besonders glücklich ist, weil es für einen solchen Einsatz in über 10.000 m Höhe keinerlei Regularien gibt. Da eine luftgestützte Windkraftanlage in einer Höhe von weniger als 600 m Höhe für die FAA allerdings nur als ‚Hindernis’ wie ein Funkturm gilt, beschließt das Unternehmen, seine Ambitionen entsprechend zu senken.
Innerhalb von sechs Monaten werden 30 Prototypen gebaut und experimentell überprüft. Das letztendliche Design ist ein modulares System mit einer Spannweite von 71 m. Die mehrflüglige Struktur sieht aus wie ein Doppeldecker und besitzt eine komplexe Steuerung. Die Stromerzeugung erfolgt durch eine Reihe von daran angebrachten Turbinen, die beim Start Schub erzeugen und das Erreichen der Zielflughöhe ermöglichen. Mit seinem batteriebetriebenen Computer steuert sich der Drachen selbst und kann bei extremen Wetterbedingungen oder wenn das Halteseil durchtrennt wird auch selbständig landen. Die Redundanz durch die vielen Motor/Generatoren bietet eine Sicherung, falls einer von ihnen ausfällt.

Für die Halteleine, die stark, leicht und von möglichst geringem Widerstand sein muß, wird Kevlar oder Dyneema ins Auge gefaßt. Joby will bis Ende des Jahres einen ersten 30 kW Drachen vorstellen – während für den kommerziellen Einsatz bereits Multi-Megawatt-Systeme in Planung sind, bei denen die Gestehungskosten der Energie auf 0,04 US-C pro kWh geschätzt werden.

Im September 2009 erzeugt der sechseckige Prototyp Rigel 1 erstmals Strom. Weitere Modelle, die in diesem Jahr getestet werden, heißen Mercury 4 und Mercury 5.
Von den erfolgreichen Einsätzen der Steuerungssysteme und der elektrischen Antriebssysteme ermutigt, gründet JoeBen die Firma Joby Aviation, um in deren Rahmen ein kompaktes elektrisches Flugzeug für hohe Geschwindigkeiten zu entwickeln, das vertikal starten und landen kann. Mehr darüber findet sich im Kapitel Elektro- und Solarflugzeuge (s.d.).
2010 testet die Firma Drachen mit den Namen Rana 2 bzw. Mercury 9, wobei eine durchschnittliche Höhe von 400 m erreicht wird. Außerdem erfolgt eine Patentanmeldung unter dem Namen Tethered Airborne Power Generation System With Vertical Take-Off and Landing Capability (US-Application Nr. 20100283253). Danach gibt es jedoch keine weiteren Neuigkeiten.
Eine
weitere Firma, die 2008 gegründet
wird, ist die Wind Operations Worldwide S.p.A. (WOW
SpA) in Milano, die behauptet, die erste und immer noch einzige global
operierende Finanz-Holdinggesellschaft auf dem aufstrebenden Sektor
der Höhenwindenergie-Branche zu sein. Gemeinsam mit den Tochtergesellschaften
WOW Inc. (USA) und NOKE Srl (Italien) sollen weiterführende Vereinbarungen
mit den entsprechend involvierten Unternehmen geschlossen werden. NOKE
soll übrigens ‚Not Only Karma Energy’ bedeuten. Von irgendwelchen realen
Aktivitäten ist bislang nichts festzustellen.
Ebenfalls das Gründungsdatum 2008 weist die Firma Highest Wind LLC von Dmitri Cherny (o. Chernyshov) aus, die seitdem versucht, die benötigten 5 Mio. $ zu beschaffen, um einen stromerzeugenden Energy glider mit 30 kW Leistung bis zur Produktionsreife zu entwickeln. In den Jahren 2008 und 2009 werden fast 60 verschiedene Modelltypen gebaut und getestet, wobei sich ein Hubschrauber-ähnliches Gyro-Segelflugzeug als optimales Design erweist. Bis auf viel Text und ein paar Animationen auf der Homepage gibt es aber keinerlei Hinweise auf irgendwelche Umsetzungen.
Eine Menge aktueller Einsatzformen der Drachen-Technologie
betreffen die Mobilität, wobei es in vielen Fällen primär um Wettbewerbe
und die Jagd nach Rekorden geht. Sowohl windbetriebene
Fahrzuege als auch Boote
mit starren Tragflächen habe ich bereits in eigenen Absätzen behandelt
(s.d.). Die beiden folgenden interessanten Entwürfe passen aber besser
hier hin.

Die Designer Tsun-Ho Wang (von dem auch die Flying Stick Camera stammt, die im Kapitelteil Neue Designs vorgestellt wird) sowie seine Teamkollegen Min-Gyu Jung und Sung-Je Do stellen im November 2008 den Entwurf eines Leichtbau-Tricycles vor, das neben seiner hochentwickelten Technologie auch durch eine wahrlich futuristische Ästhetik besticht.

Bei dem Kite Car (o. Wind Light Vehicle) handelt es sich um ein elektrisch betriebenes 1-Personen-Fahrzeug mit jeweils einem Motor in jedem der drei Räder.
Die Besonderheit dieser Innovation bildet jedoch der transparente Windschutz, der bei genügend Wind ausgefaltet und sowohl als Segel als auch als Drachen genutzt werden kann, um das Gefährt vorwärts zu drücken bzw. zu ziehen.
Ein von einem Lenkdrachen gezogenes Sportboot, mit dem sowohl Wasser- als auch Unterwasser-Spazierfahrten möglich sind, stammt von dem Designer Mathias Köhler aus Braunschweig. Die Steuerung seines Nereus soll dabei mit Fußpedalen erfolgen. Leider scheint das Projekt nicht weiterverfolgt zu sein.
Das
Patent für ein System namens ,Multi-tether cross-wind kite power’
wird Anfang 2009 von Benjamin Tigner beantragt
(US-Nr. 8.066.225, erteilt 2011).
Die Europäische
Union startet im
Jahr 2009 im Rahmen des 7. EU-Rahmenprogramms das
Projekt KiteVes für die Umwandlung von Höhenwindkraft
in elektrische Energie an Bord von Schiffen, wobei der gewonnene Strom
die für Hilfsdienste wie Klimaanlagen und Elektronikgeräte, für die
Traktion oder beides verwendet werden soll.
Geplant sind 100 m2 große Drachen, die mittels der Jojo-Technik zwischen 30 kW und 60 kW erzeugen sollen. Das Projekt wird von einem Konsortium aus 7 Partnern durchgeführt: Sequoia Automation srl (KiteGen, Italien), Centro Studi Industriali (Italien), Modelway srl (Italien), Sheffield University (England), Katholieke Universiteit Leuven (Belgien), Fatronik (Spanien), Haute Ecole ARC (Schweiz), Universität Wuppertal (Deutschland), SVMtec GmbH (Deutschland), TEKS (Frankreich).
Die bislang dokumentierten Umsetzungsschritte bei diesem EU-Projekt, das primär auf der KiteGen-Technologie basiert, sind die Herstellung eines 11,7 m langen Kohlefaser-Auslegers Ende 2011, die Enwicklung und Implementierung eines vorausschauenden Steuerungssystems und die Montage einer bodenbasierten Versuchsanlage im Mai 2012, der Bau einer speziellen Abrollgeräts für die Zugseile im Juni, sowie diverse Studien und Analysen. Aktuellere Informationen liegen bislang nicht vor.
Unter dem 7. EU-Rahmenprogramm wird auch das Projekt HAWE gefördert,
das von einem Konsortium unter der Leitung des portugiesischen Luft-
und Raumfahrtunternehmens Omnidea Lda verfolgt wird (s.u.). Der Europäische
Fonds für regionale Entwicklung wiederum finanziert der
niederländischen Firma Ampyx Power die Entwicklung von mehreren 10
kW Prototypen (s.u.), während der Europäische Forschungsrat die
Durchführung von Höhenwind-Simulation sowie die Optimierung und Steuerung
von Höhenwind-Generatoren im Projekt ERC HIGHWIND von
Prof. Moritz Diehl an der Katholischen Universität
Leuven fördert.

Bei einem Vortrag an der TU München (Ringvorlesung Umwelt) im Januar 2010 stellt Diehl, der zuvor an den Universitäten von Heidelberg und Freiburg tätig war, eine neue Idee zum Starten von Energiedrachen vor.
Es handelt sich um einen Turm von 60 m Höhe, von dem aus zwei, um die Turmachse rotierende Flügel von jeweils 60 m Spannweite aufsteigen sollen, wobei die Drachen von Zentrifugal- und Auftriebskräften in der Luft gehalten werden. Eine sich drehende Höhenwindmühle dieser Dimension soll bis zu 18 MW erwirtschaften.
Innentests mit einem 2,5 m hohen Karussellmodell aus Aluminium beginnen im April 2010, während das ERC Highwind Projekt offiziell im Februar 2011 gestartet wird. Ergebnisse sind bislang noch nicht bekanntgegeben worden.
Im Jahr 2009 erfolgt
auch die Gründung der Airborne Wind Energy Industry Association (AWEIA),
die so gut wie alle relevanten Firmen vereint, um die neu entstehende
Höhenwind-Industrie zu unterstützen. Die Mitglieder sind: Windward
Energy (Deutschland), WindLift (USA), SwissKitePower (Schweiz), Skywindpower
(USA), SkySails GmbH & Co. (Deutschland), Selsam’s Superturbine
(USA), Omnidea Lda (Portugal), Makani Power (USA), Kitepower Laddermill
(Niederlande), Kitenergy Srl (Italien), KiteLab Group (USA), Kitegen
Research Srl (Italien), Joby Energy Inc. (USA), Guangdong High-Altitude
WindPower Technology Ltd (China), Flygenkite (Frankreich), Enerkite
(Deutschland), Ampyx Power (Niederlande), Altaeros Energies (USA) und
AEROIX GmbH (Deutschland).
Parallel dazu entsteht das Airborne Wind Energy Consortium (AWEC), an dem sich die wichtigsten Akteure der Branche beteiligen: JoeBen Bevirt (Joby Energy), Corwin Hardham (Makani Power), Len Shepard (Sky WindPower) und Pierre Rivard (Magenn Power). Weitere Mitglieder sind Ampyx Power, KITEnrg und die NTS Energie und Transportsysteme GmbH. Sofern nicht in diesem Kapitelteil erwähnt, finden sich die genannten Firmen weiter unten unter Flugzeuge und Zeppeline. Das AWEC will den Unternehmen eine gemeinsame Stimme verleihen, um die politischen, regulatorischen und technischen Herausforderungen zu bewältigen. Im September 2010 führt das Konsortium an der Stanford University die Konferenz Airborne Wind Energy 2010 durch, die von der NASA mitfinanziert wird.

Die 2005 gegründete Firma Kitenergy Srl im
italienischen Torino verfolgt eine Jojo-Technologie und will einenm
500 m2 großen
und 2 t schweren Drachen an einem 1.000 m langen Zugseil in die
Luft bringen, der 2 MW erwirtschaften soll.
Gründer sind Prof. Mario Milanese und L. Fagiano, der 2009 am Politecnico di Torino seine Dissertation unter dem Titel ‚Control of tethered airfoils for high–altitude wind energy generation’ einreicht und auch danach mit der Universität weiter zusammenarbeitet, wo 2010 u.a. numerische Simulationen, Experimente mit Prototypen und Winddatenanalysen durchgeführt werden.
Im Jahr 2012 wird ein aktualisierter Prototyp KE60 mit 60 kW Nennleistung gebaut und an verschiedenen Standorten getestet, um die industrielle Durchführbarkeit zu beurteilen.
Der KE60 ist mit zwei bürstenlosen Direktantrieb-Permanentmagnet-Motoren/Generatoren von Siemens ausgestattet und in der Lage, im Höhenbereich von 250 – 1.000 m über dem Boden autonomen Flugbetrieb durchzuführen. Bei Windgeschwindigkeiten oberhalb von 3 m/s kann dann Energie erzeugt werden.
2009 gründen
Felix Koppmann, Patrick J. Lauffs, Michael Schölkopf, Simon Bolten
in München die Firma Windward Energy, um ein System
weiterzuentwickeln, das sie im Rahmen ihres Studiums an der TU München
konstruiert haben. Das Team entwickelt und testet den kleinen
Prototyp einer von Lenkdrachen betriebenen Pumpe. Für ihren Business-Plan
erhalten sie im selben Jahr aus 96 Teams der TU München die Auszeichnung
Best Business Plan. Nun wird nach strategischen Partnern und einer
Finanzierung gesucht, weitere Informationen gibt es nicht.
Ab 2009 wird
auch bei der Guangdong
High-Altitude WindPower Technology Ltd. in der chinesischen
Provinz Guangzhou an einem Höhenwindprojekt gearbeitet, dessen Idee
auf Nanzhi Zou zurückgeht.

Firmengründer Zhang Jianjun hatte seine Forschung über Höhen-Windkraft in den USA begonnen, in Kalifornien die Firma Skywind Inc. (s.o.) gegründet und war dann nach China zurückgekehrt, um in Guangdong Chinas erstes Forschungszentrum für Höhenwindenergie samt einem Windkanal-Labor aufzubauen.
Die Technologie besteht aus einem fliegenden Träger mit einer Jojo-Stromerzeugung – und das Unternehmen plant, in der Stadt Foshan ein 10 MW Höhenwind-Krafterzeugungssystem zu errichten, das etwa 400 Mio. CNY (~ 58 Mio. $) kosten soll. Anfang 2010 wird die Meldung ohne Angabe von Gründen wieder dementiert. Als Investor wird die Firma Pre-ipo captial partners genannt. Weitere Details oder gar Versuchsberichte gibt es bislang nicht.
Unter dem Titel Enerkite arbeitet
die in Berlin beheimatete Firma aeroíx GmbH an
der Weiterentwicklung der Drachentechnologie zur Nutzung von Höhenwinden.
Geschäftsführer des Unternehmens ist Alexander
Bormann. Neben anderen
Produkten stellt das Unternehmen ein ultraleichtes
und heliumdichtes Hüllenmaterial mit hervorragender Schweißbarkeit
her, das unter dem Namen aerofabríx vermarktet wird.

Beim Coupe d’Europe de Cerf-Volant de Vitesse im französischen Étretat hatte aeroíx-Mitbegründer Christian Gebhardt bereits im September 2009 mit seinem S045 einen neuen Speedkiting-Geschwindigkeits-Weltrekord von 212 km/h (knapp 59 m/s) erreicht.
Nach mehr als vier Jahren intensiver Arbeit veröffentlichen aeroix und die renommierte Fachfirma Festo im Oktober das Projekt CyberKite, bei dem im Rahmen einer Entwicklungskooperation (Bionic Learning Network) ein automatisiertes Drachensystem mit kybernetischer Steuereinheit entstanden ist. Der biomechatronische Gesamtentwurf kann einen bis zu 24 m2 großen Staudruckflügel autonom und energieautark steuern und regeln. Die aus Festo-Komponenten aufgebaute Steueraktorik, der bionische Flügel sowie das graphische Interface des komplexen Drachensystems werden auf der Hannovermesse 2010 erstmals öffentlich vorgestellt.
Im November 2010 folgt die Gründung der EnerKíte GmbH mit dem Ziel, „durch innovative Fesseldrachen-Technologien die Windenergie neu zu definieren“, wie es in der Selbstbeschreibung des Unternehmens so schön heißt. Die in Kleinmachnow und Berlin beheimatete Firma von Alexander Bormann und Christian Gebhardt wird bei der prototypischen Entwicklung marktfähiger Produkte vom Bundesministerium für Wirtschaft und Technologie und von der Investitionsbank des Landes Brandenburg gefördert.

Gemeinsam mit der Firma Flysurfer wird ein PowerFoil-Staudruckdrachen produziert, der ab Ende 2011 bereits in Größen von 12 – 21 m2 lieferbar ist. Schon ein Jahr später kann das Team eine mobile Flugwindkraftanlage EK30 mit einer Nennleistung von 30 kW präsentieren, die der Technologieentwicklung und Demonstration dient.
Am 23. März 2012 (genau zu meinem 60. Geburtstag – wovon die Firma allerdings nichts weiß) erfolgt der erfolgreiche Jungfernflug der EK30 Anlage im brandenburgischen Pritzwalk. Bei Windgeschwindigkeiten von 3,5 - 7 m/s steuert der Pilot einen 15 m2 großen PowerFoil Flügel mit Leinen bis 120 m in unterschiedlichen Betriebshöhen und im Achterflug. Die mobile Anlage stellt ein Inselnetz mit 50 kWh Batterie bereit, welches bis zu 24 kW Leistung liefert. Anschließend erfolgt die Entwicklung effizienterer Flügel und eines vollautomatischen Start- und Landesystems, das bereits im Mai und im Rahmen eines gemeinsamen Flugtages mit dem Team der TU Delft auf deren Fluggelände in Valkenberg erfolgreich getestet werden kann.

Für Flüge rund um die Uhr wird der Flügel mit Anti-Kollision- und Positionslichtern ausgestattet, wie es den Anforderungen der Luftfahrt entspricht. Der Beleuchtungssatz aus 4 x 3,5 W LEDs, die Ansteuerung und Stromversorgung ist in den Flügel integriert.
Im Juni 2013 begleitet das Fraunhofer IWES mehrtägige autonome Flüge der Flugwindenergieanlage (Flug-WEA), bei denen diese auch ihr erstes Gewitter mit Sturmböen von fast 30 m/s in über 200 m Höhe übersteht. Die Leistungs- und Lidar-Windmessungen bestätigen die Erwartungen aus den Simulationen, ebenso wie die Zuverlässigkeit und Souveränität der Steuerung. Auf Initiative des Bundesverbandes für Höhenwindenergie (BHWE) wird die EnerKíte EK30 Anlage im September anläßlich der bereits 5. Höhenwindenergie-Konferenz AWEC2013 auf dem Tempelhofer Feld in Berlin öffentlich vorgestellt.
Das Unternehmen plant nun, die Entwicklung des Prototyps bis 2014 abzuschließen, wobei eine Serienreife für 2015 erwartet wird. Insbesondere für den Einsatz zur Eigenbedarfsdeckung und zum Betrieb in Inselnetzen soll zu diesem Zeitpunkt ein EnerKite-System in der Größe eines 20 Fuß Containers mit 100 kW installierter Leistung bereitstehen, bei dem Stromgestehungskosten von 7 - 15 Cent/kWh erwartet werden. Nach der Erprobung von Pilotanlagen und schrittweisen Markteinführung ist bis 2017 die Skalierung auf Anlagen der MW Klasse zur industriellen Stromproduktion geplant.
Unter dem Label Projekt SwissKitePower wird
auch in der Schweiz die Windenergiegewinnung mittels Luftdrachen untersucht.

Forschungsleiter ist Corey Paul Houle von der Fachhochschule Nordwestschweiz (FHNW), weitere Partner sind die Eidgenössische Materialprüfungs- und Forschungsanstalt (EMPA), die Eidgenössische Technische Hochschule Zürich (ETHZ) sowie die Firma Alstom Switzerland AG.
Die EMPA beschäftigt sich ab 2009 mit der Thematik, wobei sich die beiden Wissenschaftler Rolf Luchsinger und Jupp Breuer vom Zentrum für synergetische Strukturen (Center for Synergetic Structures) auf einen sogenannten Tensairity-Drachen konzentrieren. Die von dem Schweizer Ingenieur Mauro Pedretti erfundenen Tensairity-Elemente sind mit Druckluft gefüllte Membranen, die mittels Kohlefaserstangen und Kabel stabilisiert werden. Die Tragstrukturen bewähren sich auch als leichte und dennoch stabile Tragflügel eines Drachens und sollen nun auch in der Luftfahrt zum Einsatz kommen.
Im Laufe des Jahres 2010 entwickelt das Team einen Tensairity-Drachen mit einer Spannweite von 8 m, einer Oberfläche von 11 m2 und einem Gewicht von 2,5 kg, der im Labor zahlreichen Belastungstests ausgesetzt wird. Er ist dafür ausgelegt, eine Zugkraft von 1.000 Newton zu erbringen und kann theoretisch bis in eine Höhe von 4.000 m aufsteigen. Als nächstes soll ein Drachen mit einer Spannweite von bis zu 30 m folgen, dessen Membranen mit Helium befüllt wird, damit das Flugobjekt auch bei Windstille in der Höhe weiterschweben kann.

Bei dem aktuellen, bis 2014 laufenden Forschungsprojekt, das vom Kompetenzzentrum für Energie und Mobilität (CCEM) des Paul Scherrer Instituts in Villigen koordiniert wird, sollen der Demonstrator für einen Seitenwind-Energiedrachen und eine Machbarkeitsstudie des Konzepts entwickelt werden. Des Weiteren sind eingehende Untersuchungen zur Technologiegrundlage geplant, die Optimierung des Drachendesigns für die Energieerzeugung sowie eine Automatisierung des Gesamtsystems.
Bereits im Oktober 2011 erzeugt der FHNW-Drachenprüfstand über einen Zeitraum von etwa 20 Minuten mehr als 1 kW mechanische Leistung. Im April 2012 erhält das Projekt einen Sinergia-Zuschuß des Schweizerischen Nationalfonds (SNF), und im September folgen Testflüge mit Hilfe eines weiterentwickelten Prüfstandes mit zwei zusätzlichen Steuerleinen-Winden (neben der ursprünglichen Halteleinen-Winde) sowie einem Echtzeit-Computer zur synchronen Datenaufnahme. Auf dem Gebiet der automatischen Steuerung wird mit der University of California in Santa Barbara (UCSB) zusammengearbeitet, was von der California Energy Commission gefördert wird. Dabei gelingen mit einem neuartigen Controller mehrstündige autonome Flüge.

Ab 2013 werden Experimente mit einem Twing-Leichtbauflügel gemacht, der effizienter fliegt als ein Sportdrachen, und mit dem Windströme in bis zu 300 m Höhe angezapft werden sollen. Der Flügel, der damit eher dem Unterkapitel Flugzeuge und Zeppeline zugeordnet werden müßte, vereint die Vorteile des Tensairity-Drachens mit denen der Auftriebsaerodynamik starrer Flügel.
Nach Abschluß des Swisskitepower-Projekts im Frühling 2013 gründet Institutsleiter Luchsinger gemeinsam mit Houle das Empa-Spin-off TwingTec AG, das von venture kick, einem Programm, das Startups unterstützt, umgehend mit 10.000 CHF gefördert wird. Nun soll die Idee mit tatkräftiger Unterstützung von erfahrenen Unternehmern weiterentwickelt und anschließend neu bewertet werden (während des dreistufigen ventrure kick-Prozesses kann ein Projekt maximal 130.000 Franken erhalten). Geplant ist, in drei Jahren ein marktgerechtes Twingpower-System mit einer Leistung von 50 kW und Netzanbindung auf dem Markt zu bringen.
Die wissenschaftliche Entwicklung soll derweil in den nächsten Jahren durch das Autonomous Airborne Wind Energy (A2WE) Projekt weiterverfolgt werden, finanziert durch einen weiteren Sinergia-Zuschuß des SNF, und unter der Leitung von Prof. Colin Jones von der École polytechnique fédérale de Lausanne (EPFL) und Prof. Roy Smith von der ETH Zürich.

Im
März 2010 veröffentlichen J.
Kim vom Korea Aerospace Research Institute und C. Park vom Korea Advanced
Institute of Science and Technology einen Vorschlag zur Stromerzeugung
aus Wind, der ebenfalls auf einem Zugdrachen basiert.
Dieser soll ein Schiff durch das Wasser ziehen, an dem unter der Wasserlinie Wasserturbinen installiert sind, die durch die Bewegung des Schiffes Elektrizität erzeugen.
Der Strom wird dann direkt an Bord verbraucht, z.B. zur Elektrolyse von Wasser zu Wasserstoff, oder um Methanol herzustellen.
Der Aufsatz beschreibt das Prinzip und die allgemeinen Merkmale eines solchen Systems, sowie detailliert zwei Baugrößen, die 6 MW bzw. 0,8 GW liefern.
Mitte 2010 enthüllt
das kolumbianische Landschaftsarchitektur-Studio Paisajes Emergentes im
Rahmen der ‚Land Art Generator Initiative’ Pläne für eine energieerzeugende
Drachen-Farm an einem öffentlichen Strand in Abu Dhabi. Dabei sollen
200 Para-Drachen den innovativen Windbelt-Generator nutzen,
um Strom für mehr als 600 Haushalte zu erzeugen. Den Beziehern des
Windstroms wird als eine Art Dankeschön angeboten, einen Live-Feed
mit Blick auf den Strand von einer am Drachen montierten Kamera zu
bekommen. Strandbesucher sollen wiederum die Gelegenheit bekommen,
sich mittels der Drachen selbst in die Luft zu erheben, während diese
Energie erzeugen.
Ebenfalls im Jahr 2010 beantragt
der Franzose Pierre Benhaïem das Patent für ein Höhenwind-Energiesystem,
das ihm 2012 auch erteilt wird (FR-Nr. 2.955.627).
Die Aktivitäten laufen unter dem namen Flygen.

Das System sieht einen Tragedrachen vor, an dem zwischen den beiden Zugleinen ein Windkraftrotor hängt. Bereits 2011 kann Benhaïem einen manuell geflogen Kite mit On-Board-Turbine und Generator zur Stromerzeugung vorstellen, mit welchem kleine Geräte wie Laptops und Handys aufgeladen werden können.
Entwickelt werden sollen drei verschiedene manuell gesteuerte Versionen: erstens eine Art grünes Modellflugzeug für Beleuchtungszwecke, zweitens ein integriertes Ladegerät zum schnellen Aufladen von Mobiltelefonen usw., und drittens ein Flugdrachen mit Verankerung, der eine Bedienung ohne Ermüdung des Betreibers erlaubt. Bislang scheint das Projekt aber nicht weitergekommen zu sein.
Ein kleines
System, das auf einem Pick-Up montiert ist, wird im März 2010 von
dem EHAWK-Team
um Hong Zhang von der Rowan University in Glassboro,
New Jersey, getestet. Außer einem Video über den Versuchsflug auf Sea
Isle – sowie einem weiteren Clip vom Februar 2012,
bei dem ein Testflug mit einem automatisierten Steuerungssystem zu
sehen ist, gibt es bislang keine weiteren Informationen.
Die Firma SkyMill Energy Inc. ist
ein von Grant Calverley und Chetan Kumar im
Jahr 2010 (?) gegründetes kleines US/indisches Unternehmen
mit Hauptsitz in Friday Harbor, Bundesstaat Washington, das Calverleys
zum Patent angemeldetes SkyMill Höhenwindkraft-Anlage
weiterentwickeln und vermarkten will.

Dabei handelt es sich um das Konzept eines ferngesteuerten Hubschrauber-Drachens, der in die obere Atmosphäre fliegen und dabei an seiner hochfesten Zugleine ziehen soll. Bei Erreichen des höchsten Punktes reduziert das Flugobjekt seinen Auftrieb, um mit geringem Energieverbrauch wieder hinuntergezogen zu werden. Ein voller Zyklus soll etwa 20 Minuten dauern.
Das Unternehmen sieht vor allem im Nahen Osten und in Asien ein großes Potential, da Länder wie Indien und China einige der besten Windgürtel der Welt besitzen und auch den größten Bedarf an zusätzlicher Energie haben. Der Jetstream über der Levante bis nach Asien bläst während des Winters fünf bis sechs Monate im Jahr und enthält genug Leistung, um den Gesamtbedarf während der Wintermonate zu decken.
Nach kleineren Modellversuchen, über die aber keine Details zu finden sind, sollen im Jahr 2012 in Indien Pilotversuche beginnen. Eine kommerzielle Pilotanlage könnte dann in etwas mehr als vier Jahren durchschnittlich 1,4 MWh pro Jahr produzieren, zu Gestehungskosten zwischen 1,5 und 3,5 US-Cent pro KWh. Irgendwelche Hinweise auf diese Umsetzungsschritte habe ich bislang allerdings nicht finden können.
Ende 2010 beginnt
auch die NASA zu prüfen, wie sich Schwärme von Flugdrachen,
Luftschiffen oder Ballonen für die Stromerzeugung einsetzen lassen.
Der zuständige Raumfahrt-Ingenieur Mark Moore,
der den allerersten Forschungszuschuß der US-Regierung im Bereich der
Höhenwindenergie in Höhe von $ 100.000 erhält, schlägt vor, die fliegenden
Anlagen mittels Kabel aus Nanoröhrchen mit dem Boden zu verbinden,
da diese gleichzeitig als Übertragungsdrähte für den gewonnenen Strom
dienen können.
Intelligente Software paßt die Flugobjekte optimal an die Windbedingungen an, wobei die fliegenden Kraftwerke das ganze Jahr über am Himmel schweben und nur im Falle eines Sturmes oder zur Wartung eingeholt werden sollen. Dabei wird ein Offshore-Einsatz bevorzugt, da es in rund 20 km Küstenferne kaum mehr Probleme mit dem Flugverkehr gibt. Die Ergebnisse der NASA-Studie scheinen bislang allerdings nicht veröffentlicht worden zu sein.
Erst 2012 wird wieder über das Projekt berichtet, nachdem es dem Team um David North am Langley Research Center der NASA in Virginia im März gelungen ist, den weltweit ersten autonomen und nur mit bodengebundenen Sensoren gesteuerten Dauerflug zu absolvieren. Dabei verfolgt eine billige digitale Webcam, die mit einem Laptop verbunden ist, die Bewegung des Drachens. Diese Daten werden in das Flug-Kontroll-System eingespeist, das den Prototyp-Drachen mit einer Flügelspannweite von etwa 3 m in der Luft hält, während er seine Achten fliegt. Die NASA will derartige Stromerzeugungs-Systeme auch auf benachbarten Planeten wie dem Mars, der Venus oder dem Mond Titan verwenden.
Ab 2010 werden im Gipsa-lab/CNRS der
Universität Grenoble, Frankreich, verschiedene Untersuchungen und numerische
Simulationen von Energiedrachen durchgeführt. Haupsächlich aktiv sind
hier Prof. Ahmad Hably, Mariam S. Ahmed und Seddik Bacha.

Der Wissenschaftsjournalist und Abenteurer Dirk Gion entwickelt 2010/2011 zusammen mit dem Ingenieur Stefan Simmerer das weltweit erste Langstrecken-Windauto. Bei einer 4.800 km langen Südaustralien-Durchquerung von West nach Ost gelingt es, mit dem 3,50 m langen, offenen Elektroauto Wind Explorer drei Weltrekorde aufzustellen. Im Laufe von 19 Tagen zwischen Albany und Sydney erfolgt die erste Kontinentaldurchquerung eines mit Wind angetriebenen Fahrzeugs, die längste nur mit Windkraft zurückgelegte Gesamtstrecke sowie die höchste, nur mit Windkraft an Land gefahrene Kilometerleistung innerhalb von 36 Stunden. Innerhalb von 24 Stunden war der Bestwert 493 km.
Neben dem zeitweiligen Zugdrachen als Antrieb werden die Batterien des von Evonik ausgerüsteten und geförderten Elektromobils während der nächtlichen Fahrpausen durch eine 50 km schwere Windanlage mit Rotor und einem 6 m hohen Bambusmast aufgeladen. Mit einer Li-Io-Batterieladung schafft der Elektroflitzer gut 400 km, danach stehen zehn bis zwölf Stunden Ladezeit an.
Im September 2011 erhält der Wind Explorer in Karlsruhe den ÖkoGlobe 2011 für das beste ökologische Konzeptfahrzeug. Mehr über windbetriebene Fahrzeuge findet sich in dem entsprechenden Unterkapitel (s.d.).
Die Technik hat inzwischen auch das Genre Science-Fiction erreicht.
In seinem grandionsen Buch Schiffsdiebe beschreibt Paolo
Baciagalupi eine dystopische Welt, in welcher Segel und
Drachen (!) zum Antrieb von Schiffen genutzt werden, da sich niemand
mehr fossile Treibstoffe leisten kann. Das Buch erscheint im Original 2010,
die deutschsprachige Ausgabe - übersetzt von Hannes Riffel - im Jahr 2012 bei
Heyne. Das als Jugendbuch geltende Werk ist auch Erwachsenen sehr zu
empfehlen.

Im März 2011 kursiert in den einschlägigen
Blog das freie Technologie-Projekt Kite Turbine von Robert
Wensman aus Schweden.
Dieser sehr spezielle Flugdrache besteht aus einer Turbine, deren Schaufeln komplett aus weichen oder flexiblen Materialien hergestellt sind.
Im Wind richten sich die Blätter aufgrund ihrer aerodynamischen Eigenschaften und der inhärenten Steifigkeit von selbst auf. Die durch die Windenergie erzeugte Drehung wird dann über Kabel an die Nabe übertragen.
Die hier abgebildete Version ersetzt den Drachen durch einen Leichter-als-Luft Auftriebkörper, wie sie weiter unten noch ausführlich präsentiert werden. Bislang hat Wensman allerdings nur Tests mit sehr kleinen Modellen durchgeführt und eine Menge Konzeptarbeit geleistet, Informationen über Umsetzungen gibt es jedoch nicht.
Dan Tracy aus
Seattle, Washington, gründet 2011 seine Firma Pacific
Sky Power LCC um einen transportablen ‚persönlichen’ Energiedrachen
zu entwickeln und zu vermarkten, an dem er bereits seit 2003 arbeitet.

Auf Maui, Hawaii, hatte Tracy 2010 erfolgreiche Tests mit einem Prototyp des PowerSail-Systems durchgeführt, der dabei bis zu 10 Stunden lang Strom liefert. Diese Versuche werden von einem Zuschuß seitens des Interaktiven Kunstfestivals Source Maui finanziert.
Das System, das schon im November 2008 den Hawaii Innovation Award erhalten hatte, besteht aus einem einfachen Drachen, an dem eine oder mehrere kleine 15 W Windturbinen befestigt sind, mit denen 12 V Batterien aufgeladen werden. Ein Modell Sky 40 mit 40 W Leistung soll nun für 545 $ auf den Markt kommen, zuzüglich 150 $ für die Bodenstation mit Batterie. Ein Modell Airborne 100 mit 100 W soll 1.650 $ kosten. Außerdem vertreibt die Firma Zugdrachen für Boote.
Anfang 2012 werden auf der Homepage des Unternehmens einige Informationen und Videos veröffentlicht, und zwischen April und Mai 2013 gelingt es Tracy, über die Croudfunding-Plattform Kickstarter über 5.000 $ einzunehmen, um sein Projekt weiter voranzubringen.

Im März 2011 berichten
die Fachblogs über den Entwurf Kitepower von Reinhart
Paelinck, der sich
ebenfalls mit der Nutzung von Drachen zur Stromerzeugung befaßt.
Es handelt sich um dessen vorjährigen Master-Abschluß bei Prof. M.
Diehl an der Katholischen Universität Leuven, Niederlande.
Paelincks Entwurf sieht eine runde und hohle Drachen-Struktur vor, die einem Ringflügel ähnelt und von einem auf dem Wasser schwimmenden Tragesystem aus gestartet wird. Die Windenergie soll in Höhen zwischen 300 und 500 m über dem Meeresspiegel angezapft und über das Zugseil auf die stromerzeugende Turbine übertragen werden.
Das Design erfordert nur 10 % des sonst für den Bau traditioneller Turbinen erforderlichen Materials. Es gibt zwar Fotos von einem kleinen Modell, über eine tatsächliche Umsetzung oder Versuche ist jedoch nichts bekannt.

Im Mai 2011 findet in Leuven die Airborne
Wind Energy Conference statt – mit mehr als
100 Teilnehmern aus aller Welt.
Und als Sebastian Copeland und sein Partner Eric McNair-Landry
auf ihrer transkontinentalen Wanderung durch die Antarktis Ende 2011 gleich
drei Weltrekorde brechen, geschieht das teilweise mit Hilfe von Zugdrachen.
Diese machen das Skifahren mitsamt dem mitgeschleppten Versorgungsmaterial sehr viel schneller und müheloser.
Im April 2012 wird
gemeldet, daß man sich nun auch an der Royal Melbourne Institute
of Technology (RMIT) in Australien mit der Energiegewinnung
aus Winden der oberen Atmosphäre beschäftigt. Ein Team der School
of Aerospace, Mechanical and Manufacturing Engineering um Dylan
Thorpe entwickelt einen kleinen Prototypen mit einem neuartigen
Winden-Subsystem, daneben werden Computer-Modellierungen sowie Machbarkeitsstudien
durchgeführt

Die seit 2010 (?) bestehende ungarische
Firma IFO-Energy Unlimited von Gabor Dobis aus
Nemti veröffentlicht im Oktober 2012 den Vorschlag
einer nicht verankerten, autonomen fliegenden Windkraftanlage, bei
der die Speicherung von Energie in Form flüssiger Luft erfolgen soll.
Eine weitere Alternative soll geschmolzenes Salz bilden. Technische
Umsetzungsschritte sind noch nicht erfolgt... und wohl auch kaum wahrscheinlich.
Im
Januar 2013 wird in Berlin der BHWE
Bundesverband Höhenwindenergie e.V. gegründet. Und im September
findet – ebenfalls in Berlin – die Airborne Wind Energy Conference 2013 statt.
Diesmal sind es über 200 Teilnehmer aus 21 Ländern, die auf dem ehemaligen
Flugfeld Tempelhof zur Konferenzeröffnung einen spektakulären Demonstrationstag
miterleben können.
Die Firma SkySails (s.u.) zeigt einen gigantischen gelb/weißen Kite mit einer Fläche von 200 m2; die Pioniere Rod Read, Ed Sapir und Pierre Benhaiem demonstrieren, wie man schon mit kleineren Lösungen Handys aufladen oder Lampen betreiben kann; die NTS GmbH präsentiert ein Demonstrationsmodell ihrer Bahnanlage; und mit einem AWE-Prototyp von Enerkite wird sogar genug Strom erzeugt, um die gesamte Veranstaltung auf dem Tempelhofer Feld zu versorgen - inklusive zweier Waffeleisen, die auf kulinarischer Ebene zum Erfolg der Demonstration beitragen.
Ein 2013 neu
auftretendes Unternehmen ist die Firma Kitemill AS von Olav
Aleksander Bu in
Voss, Norwegen. Bislang gibt es noch keine Aktivitäten zu vermelden.
Eine ganz besondere Rolle bei der Entwicklung und internationalen Akzeptanz
dieser Technologien spielt das Projekt SkySail, das
ich daher nun etwas ausführlicher vorstellen möchte.
Richtig los geht es mit der Zugdrachen-Technologie Ende 2001 -
und zwar mit der Gründung der Firma SkySails GmbH durch
den Wirtschaftingenieur Stefan Wrage und den Schiffbauingenieur Thomas
Meyer, einem guten Freund von mir (s.u. Solarboote).
Wrage hatte seiner Idee bereits als 15-Jähriger, als er mit seiner Jolle auf der Alster segelte und mit der Nähmaschine seiner Großmutter Drachen nähte und an der Elbe steigen ließ. Weil die Jolle ihm zu langsam war, benutzte er einen Kitesurf-Drachen, um an Fahrt zu gewinnen - es funktionierte.

SkySails steht zweimal kurz vor dem Konkurs, bis 2003 mit der Oltmann-Gruppe, einem renommierten Schiffsfinanzierer, ein weiterer Gesellschafter einsteigt. Nun kann das Konzept ernsthaft angegangen werden.
Im Februar 2005 testet das Unternehmen in der Hamburgischen Schiffbau- Versuchsanstalt erfolgreich den bereits zweiten Prototypen. Das SkySail ist ein steuerbarer Zugdrachen für Schiffe, der einen minimalen am-Wind-Kurs von 50° erlaubt und erhebliche Mengen an Treibstoff spart.
2006 wird in der Ostsee ein Schiff von der Größe eines Kleinfrachters mit einem riesigen SkySail-Lenkdrachen in Fahrt gebracht. Dieser weltweit erste Test eines windgestützten Antriebssystems für Großschiffe wird von Experten und Studenten der Seefahrtschule Leer in Niedersachsen vorbereitet. Für den Versuch übernimmt die Gesellschaft für innovative Schiffstechnologie in Leer den ausgemusterten Tonnenleger MS BUK.
Das 1969 in Polen gebaute 53 m lange und mehr als 500 t schwere Spezialschiff, das jahrzehntelang in den ostdeutschen Küstengewässern im Einsatz war, wird nach Niedersachsen überführt, auf den Namen MS Beaufort getauft und anschließend umgebaut.

Von Bord des Schiffes steigt nun ein erst 80 m2, später dann 160 m2 großes Drachensegel in 150 bis 300 m Höhe auf. Der mit Druckluft gefüllte Lenkdrachen, der über eine Zugtrosse mit dem Schiff verbunden ist, unterstützt die Fahrt des Frachters mit Hilfe des Windes.
Vom Einsatz der computergesteuerten Großdrachen könnte nach Ansicht der Experten in einigen Jahren auch die Handelsschifffahrt profitieren. Berechnungen zufolge können mit dem parallelen Einsatz des neuen Antriebs bis zu 50 % des Dieselverbrauchs eingespart werden. Demnach würden sich die Investitionen schon in drei bis fünf Jahren amortisieren. Man rechnet damit, dass weltweit etwa 40.000 Schiffe mit dem patentierten Antriebssystem nachgerüstet werden können.
Mitte Dezember 2007 tauft Bundespräsidenten-Gattin Eva Louise Köhler im Hamburger Hafen die MS Beluga SkySails, den ersten Schwergut-Frachter der Welt, der von einem Motor und einem riesigen Gleitschirm angetrieben wird. Nach der Taufe erhält das Schiff in Bremen eine neu entwickelte Lackschicht, rauh wie eine Haifischhaut, anschließend erfolgen einige Probefahrten. Anfang Januar 2008 startet das Schiff zu einer ersten Reise nach Venezuela und in die USA und soll dabei 20 % - 50 % an Kraftstoff sparen. Ist die Fahrt erfolgreich, will der Bremer Reeder Niels Stolberg, Gründer der Reederei Beluga Shipping, zwei weitere Schiffe umrüsten lassen.

Für die 132 m lange MS Beluga SkySails, die Stolberg in den Niederlanden bauen ließ, hatte er bereits im Januar 2006 ein 160 m2 großes Segel aus einem neu entwickelten Stoff bestellt, zu einem Preis von 400.000 €. Wenn die Technik ausgereift ist, wird der Drachen computergesteuert in 300 - 500 m Höhe Bahnen in Form einer Acht fliegen, was die größte Ausbeute an Energie bringt. Und damit die Besatzung den Kite effektiv einsetzt, sollen 20 % der Einsparungen an die Mitarbeiter an Bord fließen.
Neben vielen anderen Preisen und Auszeichnungen wird SkySails im Juni 2007 auf dem 11. Zukunftskongreß in Kronberg/Ts. der Zukunftsaward 2007 als Beste Produkt-Innovation verliehen.
Nun will auch eine französische Werft eine Motorjacht mit dem Segel ausstatten. Und die SkySails GmbH & Co. KG hofft, 2008 bereits bis zu zehn Schiffe aufrüsten zu können. Später sollen noch größere Drachensegel erprobt werden, und bis 2013 will das Hamburger Unternehmen mindestens 1,5 % der Welthandelsflotte sowie etwa 250 Superyachten mit dem Windantrieb ausstatten. Das kleinste SkySails-System mit Steuergondel, Start- und Landungssystem soll dann ab 150.000 € erhältlich sein. Tatsächlich geht es dann aber doch nicht so schnell voran.
Noch ein paar Details zur Technik. Der Drachen wird computergesteuert von einem auf dem Vorschiff installierten 14 m hohen vierkantigen Mast gestartet. Einmal freigegeben plustert sich der Drache durch die anströmende Luft, die über ventilähnliche Öffnungen in seine Kunststoffhülle strömt, zur Tragflächenform auf und steigt an seinem Zugseil, in dessen Inneren ein Kommunikationskabel liegt, auf seine Einsatzhöhe hinauf. Das Material des Drachen-Zugseils besteht aus Dyneema-Polyethylenfasern des niederländischen Herstellers DSM, die (gemessen am Gewicht) 15-mal fester sind als Stahl, bis zu 40 % fester als Aramidfasern und völlig verschleißfrei. Das Material schwimmt auf Wasser und ist dazu noch UV- und chemikalienbeständig. Die Entwicklung der Drachenseile aus diesem Material erfolgt im Rahmen einer Zusammenarbeit zwischen SkySails, DSM Dyneema und der Firma Gleistein Ropes (Geo. Gleistein & Sohn GmbH) aus Bremen. Auch der Weltrekord des französischen Kitesurfers Alexandre Caizergues vom Oktober 2008 gelingt mit einem Dyneema-Zugseil (s.o.). Die Leitungstechnik für die Energie- und Datenübertragung über das Zugseil wird wiederum gemeinsam mit der Firma Helukabel GmbH in Hemmingen entwickelt.
Im Unterschied zum klassichen Segelprinzips, dem ‚Kreuzen’ von Segelschiffen, um dadurch die Position zum Wind jeweils so zu verändern, daß die Segel für optimalen Vortrieb sorgen, behält ein Schiff unter SkySails seinen Kurs bei – denn nur der Drachen kreuzt in den Wind. Dies führt zu einem spektakulären Schauspiel, denn ebenso wie ein Lenkdrachen tanzt der SkySails-Drachen in der Form einer Acht hoch über dem Bug. In diesem ‚Achten-Flug’ – eine liegende Lemniskate, d.h. eine unendlich fortgesetzte doppelseitige Spirale – liegt die eigentliche Kraftquelle des Systems. Wenn die Luft dort oben, etwa bei Windstärke 6, mit rund 40 km/h anströmt, erzeugt der Manöverflug scheinbare Windgeschwindigkeiten von 144 bis zu 180 km/h. Der Drachen bewegt sich daher, als fliege er in einem ununterbrochenen Tornado!
Auch hier beweist sich ein weiteres Mal, daß jene Energien, die sich in Wirbel- und Spiralenformen oder -formationen äußern, viel kraftvoller sind als alle ,linearen’ Kraftäußerungen. Ich verweise auf die entsprechenden Kapitel im Teil D dieser Arbeit.
Solange nicht tatsächlich orkanartige Stürme oder Gewitterfronten die automatische Rückholung des Drachens in seinen Trägermast erzwingen, wird das Manöver von einem kleinkoffergroßen Autopiloten gesteuert, der unter dem Drachen hängt und diesen dazu veranlaßt, die im Wind anströmende Luft im Sturz- und Steigflug zu schneiden. Bei einem Totalausfall der Hauptmaschine kann der SkySails-Antrieb in vielen Fällen als Notantrieb zur Verringerung des Havarierisikos eingesetzt werden.
Nach ihrer Jungfernfahrt läuft die MS Beluga SkySails am 5. Februar 2008 in den venezolanischen Hafen Gunata ein, wo sie das erste Los Projektladung für eine neu zu bauende Spanplattenfabrik löscht. Während der knapp 8.800 km langen Atlantikpassage ist der Kite fast täglich zwischen drei und vier Stunden ausgefahren worden, um Erfahrungen im Umgang mit der neuen Technik zu sammeln. Anschließend fährt der Frachter weiter in die USA. Die Jungfernreise endet Anfang März in Norwegen.

Anfangs machen die Start- und Landeprozeduren noch einige Schwierigkeiten, außerdem macht die Dünung einige Probleme, vor allem lange, hohe Wellen, da sich das Schiff hierei weit nach oben und dann wieder nach unten bewegt, wodurch sich das Seil strafft und den Drachen mit sich herunter zieht.
Nach Analyse der bislang erhaltenen Daten meldet das Unternehmen im Juli 2008, daß der Zugdrachenantrieb die Erwartungen weit übertroffen hat. Laut den Messungen an Bord des 90 m langen Mehrzweckfrachters Michael A. entwickelte das 160 m2 SkySail weit mehr als fünf Mal soviel Leistung pro Quadratmeter Segelfläche wie traditionelle Windantriebe. Die erzielte Zugkraft von 8 t entspricht etwa dem Schub eines Airbus A 318 Triebwerks.
Unter guten Windbedingungen ließ sich der Dieselverbrauch dadurch zeitweise um mehr als die Hälfte verringern (!), während die Reisegeschwindigkeit des Schiffes gleichzeitig von 10,0 auf 11,6 Knoten gesteigert wurde. Im Mittel hat der Einsatz des Zugdrachens als Zusatzantrieb gut 15 % Treibstoffkosten erspart, was rund 115.000 € pro Jahr entspricht. Das neue Windantriebssystem soll noch bis Anfang 2009 auf den Schiffen Michael A. und Beluga SkySails getestet werden.
Im August 2008 nimmt die MS Beluga SkySails neue Fracht auf – in drei europäischen Häfen und im Auftrag der US-Army und Air Force. Der Charter nach Amerika erfolgt durch das Military Sealift Command (MSC) der US Navy. Die Entscheidung der Militärs sei allerdings aufgrund des günstigen Angebots gefallen und nicht aus Begeisterung für die neue Technologie.
Im November 2008 wird der SkySails-Geschäftsführer Stephan Wrage vom Wirtschaftsmagazin ‚Capital’ und der Umweltstiftung WWF Deutschland bei der Verleihung ‚Ökomanager des Jahres 2008’ mit einem Sonderpreis ausgezeichnet. Und im Dezember beteiligt sich die Firma Zeppelin Power Systems, ein Tochterunternehmen der Garchinger Zeppelin Gruppe, als strategischer Partner an SkySails, um die Grundlagen für eine Markteinführung zu legen. Ab 2009 bündeln die zwei Hamburger Unternehmen ihre Kompetenzen in der Zeppelin SkySails Service- und Vertriebsgesellschaft mbH & Co. KG.

Mit dem gemeinsamen Vertrieb von Diesel-Wind-Hybridantrieben sollen weltweit neue Maßstäbe gesetzt werden, außerdem können künftig weltweit alle Sky-Sails-Systeme schnell und zuverlässig über das Service- und Vertriebsnetz der Zeppelin Power Systems gewartet werden.
Im Jahr 2009 will SkySails mit der Serienproduktion beginnen – die Produktionskapazitäten sind bereits für ein Jahr im Voraus ausgebucht –, doch Meldungen im Februar zufolge ist der umweltfreundliche Hilfsantrieb noch nicht ganz serienreif. Optimiert wird daraufhin die automatische Steuerung des Segels sowie der bislang starre Start- und Landemast, der nun den Bewegungen des Segels folgt statt dem Schaukeln des Schiffes und so für einen ‚Seegangsausgleich’ sorgt.
Im April 2009 wird die Segelfläche der Beluga Skysails auf 320 m2 verdoppelt.
Als erster norwegischer Schiffseigner bestellt die Rederei Wilson aus Bergen einen 160 m2 SkySail-Antrieb, der auf dem 88 m langen Feeder-Schiff MS Wilson Grip installiert werden soll.

Mitte September 2009 gibt es in 300 m Höhe vor der niederländischen Küste einen Beinahe-Zusammenstoß zwischen dem Zugdrachen des Frachters Theseus der deutschen Reederei Wessels und einem Hubschrauber auf seinem Weg zu einer Bohrinsel. Die europäische Luftverkehrskontrolle Eurocontrol appelliert daraufhin an die Luftfahrtbehörden in verschiedenen Ländern, so bald wie möglich Maßnahmen in Bezug auf Regeln für die Verwendung von Drachen zu ergreifen. In der deutschen Presse heißt das dann: „Luftverkehrskontrolle warnt vor SkySails-Drachen“.
Im März 2010 startet Deutschlands größtes Fischereifahrzeug, die 141 m lange ROS-171 Maartje Theadora im niederländischen IJmuiden zu ihrer Jungfernfahrt mit 160 m2 großem Drachensegel – als weltweit erster entsprechend aufgerüsteter Fischtrawler, der den Wind als zusätzliche Energiequelle nutzt.
Das Schiff gehört der Westbank Hochseefischerei GmbH aus Sassnitz, einer Tochtergesellschaft des niederländischen Fischereikonzerns Parlevliet & Van der Plas, und das Projekt wird vom Europäischen Fischereifonds (EFF) und dem Land Mecklenburg-Vorpommern gefördert.
Der Zugdrachen hat die Fähigkeit, den 8.000 kW der Motoren der Maartje Theadora rund 1.000 kW Leistung zu hinzufügen. Parlevliet erwartet durch SkySails-System, den Kraftstoffverbrauch des Bootes in der ersten Phase des Projekts um ca. 10 % reduzieren zu können – und diese Rate später auf bis zu 30 % zu erhöhen.

Mitte des Jahres spricht SkySails davon, daß man den Break-Even-Punkt 2013 erreichen will. Das Unternehmen beschäftigt zu diesem Zeitpunkt 80 Mitarbeiter, 48 davon sind Ingenieure und Techniker.
Im Januar 2011 gibt DSM Venturing, der Venture Capital-Bereich der Royal DSM N.V., seine Beteiligung an SkySails bekannt, ohne das finanzielle Details genannt werden. Im Februar folgt eine stark beachtete Vertragsunterzeichnung mit Cargill, derzufolge der Geschäftsbereich Cargill Ocean Transportation im Dezember einen 320m2 großen Zugdrachen auf einem Frachter installieren wird, den Cargill langfristig chartert. Das System soll bereits im ersten Quartal des Folgejahres einsatzbereit sein.
Überschattet wird dieser Schritt von der Meldung, daß SkySails Ende Januar der Hälfte seiner Belegschaft mitteilen mußte, sie angesichts der Marktlage nicht länger beschäftigen zu können. Geschäftsführer Stephan Wrage zufolge seien die Reeder wegen ihrer gegenwärtig unsicheren wirtschaftlichen Situation nicht in der Lage, in eine innovative Technologie zu investieren, auch von den Banken gebe es keine Unterstützung. Es wird erwart, daß diese schwierige Situation noch ein bis zwei Jahre dauern wird.
Wegen der Geschäftsflaute vermarktet SkySails nun vor allem ein sensorbasiertes Computersystem zur Optimierung der Schiffsführung (Performance Monitoring System). Zudem soll ein SkySails-System zur Windenergie-Gewinnung in großen Höhen entwickelt werden, wofür das Unternehmen nach Investoren sucht.

Im März 2011 berührt die Krise bei der Bremer Reederei Beluga auch SkySails, da der Gründer Niels Stolberg eigentlich noch zwei weitere Schiffe umrüsten lassen wollte. [Dazu sei nur noch gesagt, daß Stolberg Ende Mai Fälschung der Unternehmensbilanz zugeben muß. Mehrere Monate später kommt ein weiterer Verdacht hinzu, demzufolge Stolberg auch noch 500.000 € Spendengelder für Tsunami-Opfer veruntreut haben soll.]
Die laufenden Projekte bei SkySails gehen jedoch weiter. Im Juli 2011 unterschreibt Cargill einen Vertrag mit der griechischen Reederei Anbros Maritime S.A. (Anbros), um auf dem 170 m langen Massengutfrachter Aghia Marina den weltweit größten Zugdrachen zu installieren. Außerdem wird SkySails in diesem Monat mit dem renommierten Sustainable Shipping Award ausgezeichnet, den das Unternehmen schon einmal 2009 erhalten hatte.
Im Oktober meldet SkySails eine Kooperation mit dem führenden deutschen Stück- und Schwergutbefrachter BBC Chartering. Der vor kurzem erworbene Mehrzweckfrachter BBC SkySails verfügt über den neuesten Prototyp der SkySails-Windantriebssysteme, bei denen ein 320 m2 großer Zugdrachen zum Einsatz kommt, der bei günstigen Windverhältnissen eine Maschinenentlastung von bis zu 2.000 kW liefern kann.

Äußerst interessant klingen die im Dezember 2012 veröffentlichten Ergebnisse aus dem EffShip-Projekt (Efficient Shipping with low emissions) der Staatlichen Schwedischen Schiffbauanstalt SSPA, in dem u.a. das Potential für den Einsatz verschiedener Windantriebstechnologien im Schiffsverkehr untersucht wird. SkySails zitiert daraus auf ihrer Hompage:
„Simulationen mit der SSPA-eigenen Software SEAMAN zeigen, daß sogar sehr große Schiffe wie Panamax-Tanker bei einer Windgeschwindigkeit von 10 m/s und ausgestattet mit einem 640 m2 großen Kite allein durch die Kraft des Windes eine Fahrtgeschwindigkeit von ca. 8 Knoten erreichen können. (...) Die potentiellen Einsparungen sind signifikant: Der Einsatz eines Zugdrachens während der gesamten Reise würde bei 8 Knoten Fahrtgeschwindigkeit und achterlichen Winden von 10 m/s zu einer Treibstoffeinsparung von beinahe 100 % führen.“
Im Januar 2013 verleiht die Deutsche Gesellschaft für Projektmanagement e.V. (GPM) Stephan Wrage und dem SkySails-Team den Roland Gutsch Project Management Award.
In diesem Jahr werden auch erste Angaben über die geplante Höhenwindkraftanlage gemacht. Das weltweit patentierte SkySails Power System besteht aus fünf Hauptkomponenten: Einem frei fliegenden Zugdrachen mit Seil, einem Start- und Landesystem, einem automatischen Steuerungssystem, einem Generator zur Erzeugung elektrischer Energie und einer Trägerplattform. Das Jojo-System soll in Höhen zwischen 200 und 800 m betrieben und sowohl auf konventionellen Offshore-Fundamenten als auch auf schwimmenden Plattformen installiert werden. Angedacht sind aber auch ein Onshore-Einsatz sowie mobile Einheiten, die als Insellösungen Strom und/oder Süßwasser durch Meerwasserentsalzung bereitstellen könnten.
Neben Drachen werden
auch ähnlich fliegende Segelflugzeuge vorgeschlagen,
welche periodisch an einem Seil ziehen, wodurch die Energieübertragung
auf den Boden erfolgt. Weitere Vorschläge betreffen Segelflugzeuge,
die mit Windturbinen ausgerüstet sind. Ein Beispiel dafür ist die
bereits präsentierte Firma Makani mit ihrem starren Hochleistungs-Flügel
mit Onboard-Stromerzeugung (s.o.).

Um jedoch nicht auf aerodynamische Effekte angewiesen zu sein, damit das Höhenwindkraftwerk in der Luft bleibt, sind außerdem verschiedene Leichter-als-Luft-Systeme konzipiert worden, bei denen Ballone, Blimps und Luftschiffe als ‚Träger’ zum Einsatz kommen.
Eine der ersten entsprechenden Konzeptionen stammt von Klaus Bürgle, dessen Illustration Fliegende Großkraftwerke im Jahr 1966 von dem jährlich erscheinenden Jugendmagazin ‚Das Neue Universum’ veröffentlicht wird. Zumindest in der Vorstellungskraft ist ein ganzes Raster dieser Kraftwerke im Himmel installiert, bei denen die großen Windräder mit einer starren Ballonhülle verbunden sind, die auch den Generator und die restliche Ausrüstung trägt. Der erzeugte Strom wird durch das Kabelseil zur Erde geleitet.
Die Ballonkraftwerke in über 10 Kilometer Höhe sollen zugleich als Relaisstationen für Funk- und Fernsehübertragungen dienen. Damals nicht vorhergesehen, dafür heute um so sinnvoller: Das System könnte dadurch alle Handymasten überflüssig machen (siehe dazu auch unter Solar-Ballone und Solar-Luftschiffe).

Im Herrmann-Oberth-Museum im Pfinzingschloß in Feucht kann man das historische Modell des Oberth’schen Drachenkraftwerks bewundern, das der berühmte deutsche Physiker und Raketenpionier 1977 entworfen hat.
Aus Anlaß des 100. Geburtstages von Wernher von Braun am 23.03.2012 zeigt das Museum im Rahmen der Sonderausstellung ‚Vom Weltraumspiegel zum Drachenkraftwerk’ Oberths Energie-Konzepte, der schon in den 1920er Jahren von einem Weltraumspiegel träumte, der Metropolen des Nachts beleuchten und wärmen, arktische Häfen eisfrei halten und das Klima so verändern konnte, daß die Sahara wieder bewohnbar werden würde. Das Konzept für ein Wüstenkraftwerk entwarf Oberth bereits 1947.
Mit dem Drachenkraftwerk, eine in der Luft schwebende und von einem Zeppelin gehaltene Turbine, hätte man schon damals die Jetstreams nutzbar machen können.
Weil das Bundesforschungsministerium jedoch ausgerechnet die Kernforschungsanlage Jülich mit der Bewertung neuartiger Energiekonzeptes beauftragt, und damit den Bock zum Gärtner macht, werden auch Oberths Pläne verworfen, die er selbst ausdrücklich als „Alternative zur Atomkraft“ verstanden wissen wollte.

Bei meinen Recherchen fand ich noch mehrere andere und sehr ähnliche LTA-Systeme (Ligther Than Air) aus jener Zeit, wie beispielsweise das 1975 angemeldete Patent von Alberto Kling aus dem deutschen Percha (US-Nr. 4.073.516, erteilt 1978). Auch hier sieht der Entwurf eine Strom erzeugende Windturbine vor, die an einem Luftschiff hängt.

Eine weitere Variante bildet die Airship power turbine, bei der die Windkraft durch einen hoch fliegenden Ringballon abgezapft werden soll.
Dieser Patentantrag wird 1978 von William J. Mouton Jr. aus New Orleans und David F. Thompson aus Chester gestellt (US-Nr. 4.166.596, erteilt 1979).
Zuvor hatten die beiden schon mehrere Wasserturbinen-Patente für Laufwasser- und Gezeitenströmungskraftwerke erhalten.
Ähnlich wie die Wasserturbinen der Erfinder sehen auch ihre Luftschiff-Turbinen eine Ummantelung vor, so daß die Ringballons hoch fliegenden Triebwerken (ohne Flugzeug) ähneln.

1980 wird von William R. Benoit aus Mitchelville, Maryland, ein Patent für ein Zeppelin-Kraftwerk beantragt, bei dem die Windturbine am Heck des unbemannten Luftschiffes angebracht ist (US-Nr. 4.350.898, erteilt 1982).
Auch diese Erfindung scheint nie umgesetzt worden zu sein.
Der Industriedesigner Frederick
‚Fred’ D. Ferguson aus Ottawa, Ontario, beginnt bereits 1978 sich
mit der Entwicklung eines Magnus Luftschiffes (Magnus
Spherical Airship) zu beschäftigen, welches er 1982 unter
dem Titel ‚Aircraft having buoyancy gas balloon’ zum Patent anmeldet
(EP-Nr. 0078713 A2, erteilt 1983). Er investiert
mehrere Millionen Dollar in das Projekt, die er mit einem automatisierten
System für den Zeitungsdruck verdient hatte.

Im Unterschied zu allen bisherigen Luftschiffen sind im vorliegenden Fall die flache Gondel und der Gasspeicher getrennt, wobei letzterer aufgrund seiner glatten Kugelform und einer entsprechenden Aufhängung um seine waagrechte Querachse rotieren kann (rollen). Dies geschieht mittels Motoren und einer Geschwindigkeit von 3,5 U/m.
Der Vorteil des Prinzips ist leicht nachvollziehbar: Zwar steigt das Schiff durch das Helium in die Luft, doch aufgrund der Rotationsbewegung der Ballontrommel wird eine zusätzliche Auftriebskraft erzeugt, die auf dem Magnus-Effekt beruht (mehr dazu findet sich unter Flettner-Rotor). Die Kombination der beiden Auftriebskräfte wird zusätzlich genutzt, um das gesamte System stabil zu halten. Triebwerke an den beiden Enden der horizontalen Achse, an welcher die Gondel aufgehängt ist, treiben das Luftschiff voran und sichern seine Manövrierbarkeit.
Im Rahmen der kanadischen Militärforschung werden im Laufe von über einem Jahrzehnt etwa 20 Mio. $ in die Entwicklung investiert und das Luftschiff -Design weltweit patentiert. Die von Ferguson gegründete (und nach seinem Großvater benannte) Van Dusen Commercial Development Ltd. baut 1982 gemeinsam mit der britischen Firma Westland Helicopters den hier abgebildeten funkferngesteuerten Prototyp im Maßstab 1:10, der bei einem späteren Unfall zerstört wird. Was schade ist, da er eigentlich für das Smithsonian Institute vorgesehen war. Im Netz kann man einen kurzen Videoclip über den Van Dusen LTA 20 Magnus Prototyp finden, in dem auch zu hören ist, daß dieser 4,5 Mio. $ gekostet haben soll – und daß die Kugel in voller Größe einen Durchmesser von 54 m haben würde. Andere Quellen sprechen von 48 m. Ein derartiges Luftschiff soll durch sein Helium 75 t heben können, sowie weitere 16 t durch den Magnus-Effekt. Die Kosten schätzt Ferguson auf etwa 30 Mio. $.
Das Design wird von Prof. James DeLaurier am Institut für Luft- und Raumfahrtstudien der Universität von Toronto verfeinert, wo über 160 Windkanaltests durchgeführt werden. Weitere Rauchkanaltests erfolgen an der Carleton University.
1984 gibt es den kanadischen Government Award for Excellence in Invention, 1985 den Philip Petroleum Award for Science, und 1987 beginnt die Entwicklung eines Multi-Sphären-Luftschiffes, über das ich bislang noch keine Details finden konnte.

In den frühen 1990er Jahren gründet Ferguson gemeinsam mit einer Gruppe von prominenten Finanziers aus der US-Industrie das kleine Privatunternehmen Av-Intel Inc., das sich im Besitz einer voll patentierten Luftschifftechnologie befindet. 1992 werden seitens Federal Express und den American President Lines Marktstudien für ein kommerzielles Frachtluftschiff durchgeführt. Der geplante Prototyp soll für eine Nutzlast von 40 t ausgelegt werden, spätere Modelle sollen sogar bis zu 500 t transportieren können.
1995 fordert der Vereinigte Generalsstab zur Abgabe eines Angebots auf, 1997 folgt ein kommerzieller Vertrag zur Ausarbeitung genauer Spezifikation für eine in großer Höhe operierenden Plattform, und 1999 erfolgen entsprechende Flugtests in Mexiko. Danach scheint es mit dem Projekt jedoch nicht mehr weiterzugehen.

Ferguson beginnt daher im Jahr 2003 mit der konzeptionellen Entwicklung und Patentierung einer Anwendung zur Erzeugung von Windenergie und gründet 2004 die Firma Magenn Power Inc. in Kanata, einer Vorstadt von Ottawa. Ab 2005 werden weltweite Patente beantragt (z.B. WIPO-Nr WO/2006/117593 A1).
Nun sollen gasbefüllte Windkraftwerke in Höhen von 200 – 300 m auf steigen. Aus einem Kevlar-änlichen Material namens Dacron hergestellte Rippen an der Außenhülle wirken wie die Schaufeln eines Raddampfers und lassen die Ballone um ihre horizontale Achse rotieren. Auch im Falle dieser induzierten Rotation sorgt der Magnus-Effekt dafür, daß ein schwebendes Kraftwerk seine stabile Lage beibehält, exakt zu positionieren ist und zusätzlichen Auftrieb erhält. Da das System unbemannt ist, kommt als Trägergas neben Helium auch die weitaus günstigeren Gase Wasserstoff, Methan oder Argon in frage.
Das neue Unternehmen hofft, mit seinem Magenn Air Rotor System (MARS) nun bald auf den Markt kommen zu können und plant anfänglich ein 4 kW Modell, das etwa 10.000 kanadische $ kosten soll. Tatsächlich kann 2006 erstmals ein kleiner MARS-Prototyp vorgeführt werden, aber bis zur Serienreife ist es noch weit. Im Januar dieses Jahres übernimmt das in Lenexa, Kansas, ansässige Vertriebsunternehmen Krystal Planet Corp. die zukünftige Vermarktung der MARS-Windgeneratoren. Gemeinsam plant man, im Folgejahr im Süden Ontarios eine erste Windfarm mit MARS-Kraftwerken aufsteigen zu lassen, die den Windstrom um 50 % günstiger erzeugen sollen als bodenbasierte Systeme. Doch auch dieses Projekt kann nicht umgesetzt werden.

Magenn Power, inzwischen nach Ottawa selbst umgezogen, läßt im April 2008 in North Carolina einen ersten 9 m langen und 3 m durchmessenden MARS-Prototyp Alpha abheben. Das System soll 100 kW erzeugen – eine akzeptable Größe für den Einsatz als günstiges, leicht transportables und schnell installierbares Notstromaggregat in Katastrophengebieten. Eine spezielle Kleinversion, die mit einer Leistung von 1– 2 kW etwa 2.000 US-$ kosten soll, ist für Camper angedacht, und Modelle mit einer Leistung von 10 – 25 kW sollen 2009/2010 auf den Markt kommen. Anschließend will man ein kommerzielles 100 kW Modell entwickeln, dessen Preis auf ca. 500.000 $ veranschlagt wird. Doch auch diesmal geht es weitaus langsamer voran als erhofft.

Im Jahr 2010 wird ein weiteres Patent angemeldet (US-Nr. 20110109097 A1), doch Magenn arbeitet noch immer an der Entwicklung seiner 100 kW Anlage. Immerhin werden nun einige Spezifikationen bekanntgegeben: Die Größe der Ballontrommel beträgt 13,7 x 30,5 m, und das Gesamtgewicht liegt bei zirka 5.900 kg. Um die Ballontrommel zu füllen werden zirka 5.700 m3 Helium benötigt. Außerdem soll das System mit zwei 100 kW Generatoren ausgestattet werden. Den auf der Homepage veröffentlichten Grafiken zufolge hat das konzipierte neueModell ein völlig überarbeitetes Design – es sieht nun eher aus wie ein horizontal schwebender, riesiger Savonius-Rotor.

Im selben Jahr (?) wird ein Patent für das MARS-System an die regierungseigne indische Gesellschaft National Misson on Power Electronic Technology (NaMPET) veräußert. Auf deren Seite findet man zwar eine Zusammenstellung fast aller bisherigen Informationen und Fotos – jedoch kein Wort über irgendwelche weiteren Schritte. Die Homepage von Magenn selbst ist auch nicht mehr am Netz.
Eine
interessante Designarbeit, die im Oktober 2010 in
den Fachblogs erscheint, stammt von dem Russen Ivan
Romanov.
Unter dem Namen Horizon zeigt er eine fortschrittliche Windkraftanlage, die eindeutig von dem MARS-System inspiriert ist – darüber jedoch noch hinausgeht, indem es an den beiden jeweils 4,2 m durchmessenden Zylinderseiten zusätzlich Solarzellen vorsieht. Mit einem erwarteten Gewicht von 20 kg (bevor es mit Helium befüllt wird), einer Länge von etwa 5,4 m und einem Volumen von 23,2 m3 soll das konzipierte Modell bis zu 4,7 kW leisten können. Davon würden 2,5 kW von der insgesamt 23,6 m2 großen Solarfläche stammen.
Auf
den deutschen Ingenieur und Windexperten Herbert
A. Beuermann geht der Vorschlag zurück, scheibenförmige Zeppeline in
400 m Höhe zu stationieren, wo ein konstanter Wind von mindestens
70 km/h bläst. Sein Schwebekraftwerk wird
an vier Seilen verankert und kann bei heftigem Sturm zur Erde gekurbelt
werden.

Das Kraftwerk des Trägerzeppelins besteht aus sechs halbkugelförmigen Schalen von jeweils 16 m Durchmesser, die im Luftstrom rotieren und zusammen etwa 2 MW Strom erzeugen sollen. Beuermann rechnet damit, daß sein Höhenkraftwerk 24 mal soviel Energie liefern kann wie ein gleichdimensioniertes, fest auf der Erde montiertes Windrad. 1999 werden an einem kleinen Modell erste Tests durchgeführt, später folgen im Hochland des südspanischen Alicante Versuche mit einem 4,5 m hohen Prototyp, der mit Halbkugeln von 1 m Durchmesser versehen ist. Die Ergebnisse sind ermutigend, doch danach verliert sich die Spur.
Erst im Dezember 2013 erscheint ein längerer Artikel aus dem hervorgeht, daß Beuermann sein Konzept noch immer verfolgt, inzwischen aber von dem Zeppelin abgekommen ist. Statt dessen will er nun vier Halbkugelpaare von je 30 m Durchmesser an einem 210 m hohen Turm aufhängen. Eine derartige Anlage soll 10 MW produzieren, obwohl sich der Rotor bei einer Windgeschwindigkeit von 70 km/h nur mit vier Umdrehungen pro Minute bewegt.
Zusätzlicher Strom entsteht, da die Halbkugeln mit Photovoltaikzellen bedeckt sind, was pro Hemisphäre eine Fläche von 1.400 m2 ausmacht. Da die Innovation besonders für die Subtropen gedacht ist, wo Hurrikane und Taifune mit Windgeschwindigkeiten von 300 km/h und mehr auftreten, sollen die Halbkugeln den Turm hinunterfahren und sich am Boden vor den zerstörerischen Windkräften verbergen können. Falls das Projekt umgesetzt wird, werde ich im Kapitelteil Neue Designs und Rotorformen darüber berichten – immerhin spricht Beuermann bereits von Kaufoptionen in einer Gesamthöhe von 800 Mio. € aus sechs Ländern in Afrika.

Erwähnenswert ist auch das Konzept LTA -Tethered Wind Turbine (TWT) von Douglas J. Amick, über den ich schon im Kapitelteil Windbetriebene Fahrzeuge berichtet habe.
Der TWT-Windturbinen-Ballon von 2006, der bislang nur als Konzept vorliegt, ähnelt dem Mouton-Patent von 1979 (s.o.).
Auch hier handelt es sich um eine aerodynamische, die Windströmung bündelnde und mit Gas befüllte Struktur, für die Amick in seinem Patentantrag eine Vielzahl verschiedener Designs vorlegt.
Die hier abgebildete Variante ist eine der eher konventionellen Modelle. Im Idealfall soll der TWT-Ballon aus leichtem und robustem Kohlenstoff-Nanotube-Material hergestellt werden. Umsetzungen gibt es noch keine.

Die 2003 von Tiago da Costa Duarte Pardal gegründete Firma Omnidea Lda in Viseu, Portugal, will den Entwurf des Erfinders umsetzen, dessen erste veröffentlichte Grafik einen Gleiter mit doppeltem Flügel und großen vertikalen Stabilisierungsflossen zeigt.
Später kommt man davon jedoch ab, denn umgesetzt wird der Prototyp einer LTA-Struktur, die wie eine breite und dicke Wurst aussieht und das energieübertragende Zugseil nach oben zieht.

Energiesparend wieder eingeholt werden soll der Flugkörper durch Änderung des Anstellwinkels des Moduls, wobei allerdings unklar ist, wie das im einzelnen geschehen soll.
Auf der Website von Omnidea wird behauptet, daß das 3 Mio. € Projekt von der Europäischen Kommission im Rahmen des 7. Rahmenprogramms zu 75 % gefördert wird.
Im Jahr 2009 erfolgt ein Patentantrag in den Vereinigten Staaten (US-Nr. 20090278353), basierend auf der Patentpriorität aus Portugal vom Mai 2006 (Nr. 103.489).
Außer einer unscharfen Fotokollage gibt es leider keine weiteren Informationen über dieses Projekt, das inzwischen vermutlich ebenfalls eingestellt worden ist.
Die Firma Ampyx
Power wird 2008 von Richard Ruiterkamp und Bas Lansdorp in
Den Haag, Niederlande, gegründet, als Spin-off der Technischen Universität
Delft.
Unternehmensziel ist die Entwicklung und Vermarktung eines PowerPlane-Systems, bei dem ein Autopilot-gesteuertes Segelflugzeug auf einer Höhe von 300 - 600 m durch den Zug auf das Halteseil Windenergie in mechanische Leistung umwandelt. Dies geschieht mittels der Jojo-Technik und einem am Boden stationierten Generator, ähnlich wie bei den oben gezeigten Drachen. Die PowerPlane-Erfindung geht auf Ruiterkamp und Diederik Koning zurück, es gibt eine enge Zusammenarbeit mit dem Optimierungscenter an der KU Leuven, und im Laufe der Folgejahre werden vier kleinere Modelle gebaut und getestet, über die aber keine näheren Angaben gemacht werden.

Im Juni 2010 meldet Ampyx einen Erfolg bei seiner bereits zweiten Finanzierungsrunde. Der norwegische Energiekonzern Statkraft und das niederländischer IT-Unternehmen Byte vereinbaren, in gleichem (nicht bezifferten) Umfang in das neue Unternehmen zu investieren. Damit soll die vollständige Automatisierung der Stromproduktion mit dem aktuellen 10 kW PowerPlane Prototyp finanziert werden. Im September folgt ein Zuschuß aus dem Europäischen Fonds für regionale Entwicklung, ebenfalls in ungenannter Höhe.
Ampyx beabsichtigt nun, Ende 2010 den vollautomatischen Betrieb schon zu demonstrieren. Die Entwicklung eines kommerziellen 1 MW PowerPlane-Systems soll dann etwa im Jahr 2013 abgeschlossen werden. Doch auch bei diesem Unternehmen geht es nicht so schnell wie erwartet. Immerhin genehmigt die niederländische Luftraumbehörde 2011 den PowerPlane-Stromflugbetrieb als eine besondere Klasse unbemannter Flugsysteme, um die Geräte im niederländischen Luftraum testen zu können. Damit handelt es sich um das weltweit erste AWES, das eine formale Zulassung besitzt.
Im Frühjahr 2012 startet die Testkampagne mit einem neu konstruierten Flugzeug Nr. 5, das eine Spannweite von 5,5 m hat und weitgehend aus Kohlenstofffasern hergestellt ist. Im September gibt es weitere Finanzmittel, diesmal aus dem Dutch Greentech Fund und dem Mainport Innovation Fund, hinter denen Unternehmen und Institutionen wie WWF, KLM Royal Dutch Airlines, der Flughafen Schiphol, die Rabobank und die TI Delft stehen.
Im November gelingt mit dem neuen Prototypen ein 50 Minuten langer vollautomatischer Flug, bei dem im Durchschnitt 6 kW, mit Spitzenwerten von über 15 kW, erreicht werden. Da diese Ergebnisse schon bei relativ niedrigen Windgeschwindigkeiten erzielt werden, erwartet man bei stärkerem Wind bis zu 60 kW. Als nächster Schritt ist ein PowerPlane mit etwa 15 m Spannweite geplant.

Im April 2013 startet Ampyx auf der niederländischen Plattform Oneplanetcrowd.nl seine erste Crowdfunding-Kampagne – und kann innerhalb von vier Tagen 100.000 € sammeln. Bis Juni kommen sogar 329.700 € zusammen, ergänzt durch weitere 251.000 € von einer Reihe größerer informeller Investoren.
Nachdem im Juli die Testkampagne von Prototype Nr. 5 mit mehreren etwa zwei Stunden langen Flügen erfolgreich abgeschlossen wird, folgt Ende des Monats der Erstflug des neuen Flugzeugs Nr. 6, einem weiteren Prototypen mit einem verbesserten und stärkeren Rumpf sowie erneuerten Elektronik- und Steuerungssystemen, die eine längere autonome Flugdauer ermöglichen.
Im September gewinnt Ampyx 100.000 € bei der Postcode Lottery Green Challenge – kaum überraschend, wenn man weißt, das der Juryvorsitzende Richard Branson heißt. Nun beginnt das Unternehmen mit dem Design des ersten kommerziellen Produkts, einem PowerPlane-System mit einer Spannweite von 16,5 m und einer Spitzenleistung von 850 kW. Dabei sollen Segelflugzeug und Halteseil zusammen weniger als 400 kg wiegen.

Die von Nykolai Bilaniuk im kanadischen Ottawa, Ontario, gegründete Firma LTA Windpower Inc. startet als eine Reihe von Ideen, die im Winter 2007/2008 zu einem anfänglichen Produktdesign weiterentwickelt werden. Im Sommer 2009 erfolgt die Beantragung des entsprechenden Patents.
Das PowerShip besteht aus einem Prallluftschiff, dessen unten angehängte Gondel durch flugzeugähnliche Tragflächen ersetzt wird. Am Ende einer jeden Tragfläche befindet sich ein Generatorengehäuse, dessen Propeller an der Hinterkante der Tragflächen zum Heck zeigt. Das Halteseil ist vorne mittig an der Tragfläche unterhalb des Blimp befestigt.
Das Konzept soll auch für kleine Einheiten bis zu 50 kW adaptiert werden. Informationen über weitere Entwicklungsschritte habe ich bislang nicht gefunden.

Unter dem Namen www.airborne-wind-turbine.com arbeiten Spezialisten aus den Bereichen Energieerzeugung und Luftfahrt unter der Leitung von Bernd Lau aus Berlin an einem Windturbinenkonzept, dessen Kern eine schwebende Windradturbine in einer Höhe von 300 – 1.000 m ist. Der Generator befindet sich auf dem Boden, und die Verbindung und Energieübertragung erfolgt über ein rotierendes Halteseil.
Im September 2010 wird auf einem ehemaligen sowjetischen Militärflughafen nahe Berlin ein erfolgreicher Test des ersten Demonstrators durchgeführt, der aus drei heliumgefüllten Ringen mit innen angebrachten Turbinenflügeln aus einem flexiblen Material besteht. Dabei dreht sich der mittlere der drei Ringe gegenläufig, vermutlich aus Gründen der Stabilisierung.
Das System wird auf der AWEC2011 in Delft sowie der AWEC2013 in Berlin vorgestellt, von weiteren Schritten ist bislang nichts bekannt. Technologisch ähnelt das System der Turbine von Altaeros Energies (s.u.).
Im September 2010 meldet
die Presse der Schlagzeile ‚Militärtechnologie trifft Höhenwind’,
daß sich nun auch das US-Unternehmen Honeywell mit
fliegenden Windkraftanlagen beschäftigt. Die Ingenieure entwickeln
den Entwurf für eine fliegende Windkraftanlage mit einer Leistung
von 2 MW, die weitgehend auf Technologien der unbemannten Flugzeuge
basiert, die Honeywell für das Department
of Defense herstellt.
Der Körper der Turbine stammt aus der Predator B Serie, während die Autonavigation und andere Elektroniksysteme von Spionage-Drohnen und ähnlichen Geräten kommen. Das Honeywell-Kraftwerk würde 17 m Durchmesser haben und zwei 1 MW Turbinen tragen, während sich der Generator an der Rückseite der Vorrichtung befinden würde, um die Stabilität zu steigern. Umsetzungsschritte sind bislang nicht erfolgt.
Im Portfolio 2008 des
kanadischen Produktdesigners Andrew
Leinonen aus
Toronto stellt dieser einige Zeichnungen von stromerzeugenden Luftschiffen
vor, die rein ästhetisch gesehen alle vorangegangen Entwürfe in
den Schatten stellen. Technische Aspekte werden allerdings außen
vor gelassen. Da die Abbildungen gesperrt sind, kann ich sie hier
leider nicht wiedergeben – aber eine Suche mit den entsprechenden
Stichworten erlaubt ihr schnelles Auffinden im Netz.
Die Firma Altaeros
Energies Inc. in
Boston, Massachusetts, wird im Dezember 2009 von
Studenten des MIT und der Universität Harvard gegründet. Das Unternehmen
verfolgt – ähnlich wie die o.g. Gruppe um Bernd Lau – das Konzept
eines schwebenden Donut, in dessen leerer Mitte sich ein Windrotor
dreht. Diesmal geht die Idee der torusförmigen, umhüllten Turbine
auf den Mitgründer Adam
Rein und
den späteren Firmenchef Ben
W. Glass zurück,
technische Hauptberaterin ist MIT-Prof. Sheila Widnall, und die
Firma entsteht als Teil des MIT Energy Ventures Kurses.
Das Höhenwindkraftwerk soll bis in eine Höhe von fast 2.000 m steigen, von wo aus der erzeugte Strom durch ein dickes Haltekabel zum Boden zurück geleitet wird. Einsatzbereit gemacht werden können die Turbinen in nur 24 Stunden.

Die Entwicklung der zum Patent angemeldeten Windkraftanlage basiert auf bewährten Techniken der Luftfahrt und Windenergie, wie beispielsweise die mit Helium gefüllte Hülle, die aus dem Sektor der Wetterüberwachung übernommen und angepaßt wird. Die Turbinen können dadurch ohne den Austausch von Helium für Monate in der Luft bleiben.
Altaeros erhält mehrerer 100.000 $ Anschubfinanzierung und sowie öffentliche F&E-Unterstützung durch die California Energy Commission und das Maine Technology Institute. Die Firma hat den Plan, bis 2011 einen voll funktionsfähigen 100 kW Prototyp zu entwickeln. Bis dahin werden ab November 2010 Experimente mit einem kleinen Modell der Altaeros Airborne Wind Turbine durchgeführt.
Im Oktober 2011 gewinnt das Team den ConocoPhillips Energy Prize, der von dem Öl- und Gasunternehmen ConocoPhillips und der Penn State University gemeinsam verliehen wird. Einen weiteren Motivationsschub gibt es, als die Federal Aviation Administration (FAA) im Dezember den Entwurf der Leitlinien veröffentlicht, um die neue Klasse der Höhenwindsysteme in die bestehenden Regelungen einzuordnen.
Im März 2012 gibt Altaeros bekannt, daß die Stromproduktion in großer Höhe mit einem automatisierten Prototyp erfolgreich demonstriert werden konnte. Die 10,7 m durchmessende Windturbine wird in Zusammenarbeit mit Doyle Sailmakers aus Salem, Massachusetts, hergestellt. Sie steigt vom Loring Commerce Center in Limestone, Maine, aus rund 100 m in die Höhe, erzeugt Strom, und landet wieder, in einem automatisierten Zyklus. Ausgestattet ist sie mit einer standardmäßigen 2,5 kW 3-Blatt-Windkraftanlage von 3,7 m Durchmesser. Nun soll das erste Produkt entwickelt werden.

Angst vor Stürmen und Wetter-Kapriolen hat man nicht. Die fliegende Turbine soll es sogar mit Windstärken im Hurrikan-Bereich aufnehmen können und verfügt im Ernstfall über Mechanismen, der sie langsam zu Boden schweben läßt. Diese Eigenschaften sollen den Schwebe-Generator auch für den Offshore-Einsatz und die Verwendung in entlegenen, schwer zugänglichen Gegenden prädestinieren.
Im September erhält Altaeros eine zweijährige Förderung durch das US-Landwirtschaftsministerium (USDA Phase II SBIR), die bis zu ihrem Projektende im August 2014 in acht aufeinanderfolgenden Teilphasen zu einer signifikanten Weiterentwicklung des Systems führen soll. Im Zwischenbericht vom August 2013 wird von zwei inhaltlichen Änderungen gesprochen: Für die aufblasbare Hülle wurde ein neuer Anbieter ausgewählt, der diese kostengünstiger herzustellen vermag, und nach Abschluß des endgültigen Hüllendesigns wurde die Größe reduziert, um im Budget zu bleiben.
Darüber hinaus verzögert sich die Auswahl des Antriebsstrangs, bis ein kleiner Rotor entworfen, hergestellt und getestet werden kann. Was nicht ganz nachvollziehbar ist, wenn man bedenkt, wie viele zigtausend verschiedene Modelle und Größen es bereits auf dem Markt gibt. Immerhin kann man in dem Video des Versuchs in Maine erkennen, daß als Rotor das Modell Skystream eingesetzt worden ist, das als eines der effizientesten überhaupt gilt (s.u. Neue Designs und Rotorformen). Man darf jedenfalls gespannt sein, wie es mit diesem Projekt weitergeht.
Daß man
sich inzwischen auch in Südkorea mit Höhenwindkraftanlagen beschäftigt,
belegt ein 2011 im
International Journal of Aeronautical and Space Sciences der Korean
Society for Aeronautical & Space Sciences erschienene Artikel
‚An Airborne Cycloidal Wind Turbine Mounted Using a Tethered Balloon’
von In-Seong Hwang, Wang-Gu Kang und Seung-Jo Kim. In der Studie
wird die Durchführbarkeit einer luftgestützten Windturbine
mit einer Leistung von 30 kW belegt.
Solarbetriebene Luftschiffe behandle ich in einem Unterkapitel der Elektrischen Mobilität (s.d.).
Auch für bodengebundene Systeme soll es möglich sein, beträchtlich
höhere Windgeschwindigkeiten zu nutzen, indem der natürliche
Wind gezielt
beschleunigt wird. Dies erfolgt in sogenannten Augmentor-Systemen,
die als nächstes beschrieben werden sollen.