
| Blättern |
TEIL C
Unter der Designs, die im Januar 2010 in den Blogs erscheinen,
fällt besonders das Konzept eines faltbaren 600 W Windkraftgenerators
namens Aero (o. Eolic) auf, der aus leichten Materialien
wie Kohlefaser und Aluminium besteht.

Die alternative Stromquelle der Designstudenten Marcos Madia, Sergio Ohashi und Juan Manuel Pantano aus Buenos Aires, Argentinien, läßt sich zu einem kompakten Paket zusammenfalten – oder mit einer einfach zu montierenden Teleskopstange auf ihre Funktionshöhe gebracht werden.

Bislang handelt es sich bei dem studentischen Projekt an der Buenos Aires University leider nur um einen Entwurf – obgleichl er technisch schon sehr gut durchdacht wirkt.
Eine Nummer größer ist das Agro E.Sustentable genannte
Design einer ebenfalls mobilen und ausfahrbaren Windkraftanlage, das
nur einen Monat später zu sehen ist und von den auch aus Argentinien
stammenden Designer Gabriel Contino, Camila
Fajgelbaum und María Montes de Oca entworfen
ist.
Das als robuster Anhänger konzeptierte System enthält neben dem in 4 Abschnitten versenkbaren Turm mit seinem ausklappbaren 500 W Windgenerator auch noch Batterien zur Speicherung des gewonnenen Stroms. Ausgefahren erreicht die Anlage eine Höhe von 6 m.
Auch die Blätter des Generators sind so entwickelt, daß sie zusammengefaltet werden können, wenn sie nicht in Gebrauch sind.

Dieses Design wirkt ebenfalls technisch ausgereift, und wird auch grafisch äußerst professionell präsentiert. Mit Blick auf Investoren wird ein Portfolio mit den Marketing-Möglichkeiten des Systems entworfen.
Um in diesem Anwendungsbereich zu bleiben, soll auch gleich ein weiteres
Design vom September 2010 vorgestellt werden, das
auf den Industriedesigner Jon Papst aus Ridge, New
York, zurückgeht.
Auch er stellt eine mobile Windkraftanlage vor, die er einfach Mobile Wind Turbine nennt, und die überall und jederzeit saubere Energie liefert, nur hat diese im vorliegenden Fall eine Größe, die ein eigenes 3-Achser-Transportfahrzeug erforderlich macht.
Dieses ist selbstverständlich ein Hybridträger, der auch den von der Turbine erzeugten Strom verwenden kann, um zu fahren. Als Backup steht in Dieselgenerator zur Verfügung.

Der zweiteilige Windturbinenturm mit Mittelgelenk, der aus einem leichten Thermoplastmaterial besteht, wird durch die Fahrzeughydraulik angehoben, worauf sich das Hauptfahrzeug mit Stützbeinen abstemmt, und den Turm zu stabilisieren.
Daß man sogar diese Dimension – zumindest am Bildschirm – noch übertreffen
kann, beweist der entsprechende Entwurf des Designers Volodya
Domaretskii aus der Ukraine.
Unter dem programmatischen Namen PROMETHEUS stellt er im März 2012 einen voll geländetauglichen Schwerlaster mit 5 Achsen vor, der in rauhen Umgebungen eine zuverlässige Versorgung mit Strom und Wasser gewährleisten soll.

Neben einem Teleskopausleger mit Windgenerator ist die fahrbare Station mit ausrollbaren, flexiblen PV-Paneelen, einem Wassererzeuger, Wasserfiltern, Wassertanks und einem Dieselgenerator ausgestattet. Dazu gibt es auch noch einm Kommunikationszentrum. Ein atmosphärischer Wasser-Generator ist in der Lage, pro Tag 700 Liter Trinkwasser zu produzieren.
Interessant ist, daß der weiter oben schon erwähnte John Knight (s.u. 2007)
in aktuell bearbeiteten Jahre 2010 die in San Diego
ansässige Firma Uprise Energy LLC gründet, die dann
im Oktober 2012 einen neu entwickelten, innovativen
und mobilen 50 kW Windenergie-Generator vorstellt – der sich bislang
allerdings noch in Arbeit befindet.
Das Portable Power Center (PPC) ist eine in sich geschlossene Einheit, die in einem Container zusammengefaltet und per LKW transportiert werden kann.
Die ausgefahrene Höhe der Maschine beträgt etwa 24 m, sie hat ein Gewicht von rund 5.300 kg, und die Turbinenblätter mit Blattanstellung, die durch TIPS an ihren Spitzen auffallen, sind 6,5 m lang. Damit soll die Anlage bei einem Wind von 20 km/h genug Strom für bis zu 15 durchschnittliche US-Haushalte liefern können, bei 32 km/h sogar für bis zu 70.

Zusätzlich dazu entwickelt die Firma eine halb transportable 100 kW Turbine namens HAWT 100, die ebenfalls in einen Standard-Container hineinpaßt.
Seit dem Juni 2013 wird allerdings nichts Neues mehr vermeldet, und Prototypen sind bislang auch noch keine gezeigt worden.
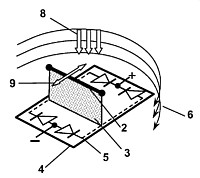
Bereits einen Schritt weiter ist die in Honolulu auf Hawaii beheimatete
Firma Natural Power Concepts Inc. (NPC), die im Juli 2010 den
Prototyp einer mobilen 3 kW Windkraftanlage vorstellt, die sich durch
ganz besondere Rotorblätter auszeichnet.
John Pitre, der die Turbine erfunden hat, hatte diese ursprünglich speziell für den Einsatz in Gebieten mit starken Stürmen entwickelt – weshalb die klappbaren Blätter entstanden. Sobald die Windgeschwindigkeit eine bestimmte Höhe erreicht, neigen sich die Blätter in eine geschlossene Position. Auf der Abbildung sind die Blätter in einer zu 50 % gefalteten Position. Die Turbine besitzt sieben Blätter, um auch niedrige Windgeschwindigkeiten effektiver einzufangen.

Bei den Tests auf dem Honolulu International Airport zeigt sich, daß diese Technik die Anlage nicht nur überlebensfähiger macht, sondern auch mobiler und leiser.
Das Unternehmen schließt daraufhin eine Lizenzvereinbarung mit Oshkosh Defense, einem Geschäftsbereich der Oshkosh Corp. in Wisconsin, um in den Folgemonaten eine Ausführung in voller Größe zu entwickeln, deren Einsatz sowohl bei humanitären oder Katastrophenhilfe-Missionen, wie auch für militärische Anwendungen gedacht ist.
Das zusätzlich mit PV-Paneelen ausgestattete System besitzt außerdem eine Batteriebank.
Beim aktuellen Update Ende 2014 sind keine weitere Entwicklungsschritte auffindbar – bis auf einige Aufnahmen eines REMM Power System von Oshkosh Defense, bei dem es sich vermutlich um die zuvor erwähnte Großausführung handelt. Details darüber werden jedoch unter Verschluß gehalten.

Ansonsten ist auf der NPC-Homepage die Rede von mehr als 30 Konzepten im Bereich Wind-, Wellen- und Gezeitenenergie, die sich in der Entwicklung befinden, und von denen die ersten im Jahr 2015 zur Kommerzialisierung bereitstehen sollen.
Zu den ästhetisch herausragenden Designs in diesem Jahr zählen die tragbaren
Windmühlen der Designerinnen Mary Huang und Jennifer
Kay aus Kalifornien, die im März 2010 in
den Blogs gezeigt werden.
Unter dem Namen Dandelion (Löwenzahn) ist ein Gesteck aus winzigen Rotoren zu sehen, das um die Schultern der Trägerin gelegt wird, und das seine eigene Energie erzeugt, während man geht – oder an einem stürmischen Tag einfach nur draußen herumsteht.
Im Falle dieses Prototyps wird der Strom für weiße LEDs genutzt, ebenso könnte man aber auch kleine elektronische Geräte damit aufladen.
Und das Ganze besteht auch noch zu 99 % aus recycelten Materialien.

Etwas praktischer sind allerdings die vom Wind angetriebenen Bambus-Lichter namens Flow, die ebenfalls im März 2010 von Alberto Vasquez, Gründer des Designbüros IgenDesgin in Budapest, Ungarn, vorgestellt werden.
Die als öffentliche Lichtmasten für den Strand in Kolumbien gedachten vertikalen Rotoren bestehen aus Windflügeln aus streckenweise halbierten Bambusstangen, die in Form einer Spirale übereinander sitzen und den Wind aus allen Richtungen erfassen.
Jedes Rohr hat an seinen beiden Enden eingelassene LEDs, um Licht nach unten zu projizieren. Abhängig von der Geschwindigkeit der Drehung, bilden die Lichtquellen entweder eine runde Dauerleuchtfläche, oder es ergeben sich langsame, wellenförmige Bewegungen und Lichtspiele.
Bis auf die Elektronik kann das Material lokal beschafft werden, außerdem sind die Lampen fast vollständig biologisch abbaubar. Die Verwendung des großen Mengen vorhandenen und billigen Bambus erleichtert auch die einfache Herstellbarkeit durch die einheimischen Bevölkerung.

Im Laufe des Frühjahr will IngenDesign in Zusammenarbeit mit der Moholy-Nagy-Universität für Kunst und Design in Budapest mit dem Bau eines Prototypen in voller Größe beginnen, der am Balaton aufgestellt werden soll, wo die Windbedingungen denen entlang der kolumbianischen Küste entsprechen. Sind die Tests erfolgreich, plant das Team, im nächsten Sommer dort die Lampen zu installieren.
Auf seiner Seite zeigt Vasquez zwar noch einige Fotos von der Herstellung des ersten Prototyps der Flow-Lampe aus Aluminium, doch eine Umsetzung der Pläne in Kolumbien scheint noch nicht erfolgt zu sein.
Ebenfalls im Wind drehen und dabei leuchten sollen die seltsamerweise Solarlight genannten
Windräder des Designers Eon Tae Yoon.
Das eigentlich als ,Windlight’ agierende Design besitzt Acrylblätter, die den Wind einfangen, und einen kleinen Generator, der für die Beleuchtung sorgt.
Aufgrund der Form des Sockels und des Gesamtbildes, das die rotierende Lampe bietet, kann man getrost von einer Hommage an die Glühbirne sprechen (dazu mehr unter Lichtdesign).
Daß es neue Ideen auch in größerem Maßstab gibt, beweist ein Konzept
aus Australien.

Nachdem das 100 Mio. $ teure Riesenrad in Melbourne, das Southern Star Observation Wheel, aufgrund der extremen Sommerhitze im letzten Jahr bis zu 3 m lange Risse in der Struktur bekam, und daraufhin – nur 40 Tage nach seiner Eröffnung – wieder stillgelegt werden mußte, begannen Designer darüber nachzudenken, was man mit dem Wahrzeichen nun anstellen könnte.
Im Februar 2010 präsentiert das Büro North, zusammen mit dem Fotografen Peter Bennetts und der Kreativagentur Squint Opera, den Vorschlag, daraus eine Aussichtsplattform zu machen, die ihren Strom von dem Rad gewinnt, das in eine futuristische Windmühle mit Segeln verwandelt werden soll.
Bislang ist es bei dem Design geblieben. Allerdings ist das Riesenrad, das inzwischen Melbourne Star heißt, komplett überholt und technisch modifiziert im Dezember 2013 wieder in Betrieb genommen worden – aber nicht ohne das Auftreten weiterer Probleme.
Vielleicht wäre die Windradlösung ja doch angebracht gewesen.

Im Mai 2010 berichten die Fachblogs von einer neuartigen,
ultra-effizienten und blattlosen Windturbine, deren Erfinder Howard
J. Fuller Jr. aus Fallon, Nevada, von einem Patent Nikolai Teslas
aus dem Jahr 1913 dazu inspiriert wurde.
Fuller, der im Rahmen einer in Greenville, New Hampshire, basierten Non-Profit-Organisation für wissenschaftliche Forschung namens Solar Aero Research aktiv ist, hatte seine Fuller Wind Turbine bereits 2006 zum Patent angemeldet (US-Nr. 7.695.242, erteilt 2010).
Das Prinzip ,erneuerten’, der Tesla-Turbine basiert auf einer Reihe von eng benachbarten, sehr dünnen und sehr glatten Metallplatten, die, durch Abstandshalter in der Form kleiner Tragflächen getrennt, von dem viskosen Luftstrom parallel zu den Platten angetrieben werden.

Die blattlose Windenergieanlage besitzt daher nur ein einziges rotierendes Bauteil (ein Verbund aus Turbine, Antriebswelle und Wechselstromgenerator) und keine hoch belasteten Lager. Der gesamte kompakte Mechanismus ist in einem geschlossenen Gehäuse untergebracht, mit vergitterten Ein- und Ausgangskanälen, um Tiere fernzuhalten.
Fuller stellt einen kleinen Versuchsrotor vor, soll aber auch bereits an einen groß angelegten Prototypen arbeiten.
Außerdem ist zu erfahren, daß sich eine Firma Solatec LLC darum bemüht, die Finanzierung für die Installation eines Prototyps in Nevada zu beschaffen.
Doch auch hier mußt wieder einmal konstatiert werden: nach diesen Meldungen tauchen weder der Erfinder, noch die genannten Gruppen und Unternehmen jemals wieder in den Medien auf.

Etwas konventioneller, dafür aber wesentlich besser nachzuvollziehen,
ist der Ansatz der Vibro-Wind Research Group unter
der Leitung von Prof. Frank Moon an der Cornell
University, der ebenfalls im Mai 2010 in
den Fachblogs präsentiert wird.
Das Studenten-Team im Abschlußsemester arbeitet an einer hocheffizienten und billigen Methode, um durch Wind hervorgerufene Schwingungen in saubere Energie zu verwandeln.
Unterstützt werden sie dabei durch einen Zuschuß des Academic Venture Fund (Cornell Center for a Sustainable Future) in Höhe von 100.000 $.
Ihre Konstruktion besteht aus einem Paneel, auf dem Oszillatoren aus Bauschaum montiert sind, wobei die Umwandlung von mechanischer in elektrische Energie mittels piezoelektrischer Wandler erfolgt.
Der Prototyp wird auf dem Dach der Rhodes Hall getestet, und neben dem piezoelektrischen Wandler wird auch die Durchführbarkeit der Verwendung einer elektromagnetischen Spule geprüft – doch leider läßt sich auch hier nicht nachweisen, daß der interessante Ansatz später weiter verfolgt wurde.

Ebenfalls im Mai 2010 erscheint in den Blogs ein grünes
Handy mit dem klangvollen Namen Aeolus, das aus der
Feder der Designerin Cyrene Quiamco aus Little Rock,
Arkansas, stammt, und auf den ersten Blick eher an einen kleinen Taschenventilator
erinnert als an ein Telefon.
Das aufgrund seines Aussehens etwas kritisch kommentierte Konzept wird zeitgleich von einem kleinen Windrad und auf der Oberfläche angebrachten Solarzellen mit Strom versorgt.
Sollte das Aeolus jemals auf den Markt kommen, wird man es mit einer Klemme am Lenkrad seines Fahrrads befestigen können. Außerdem ist geplant, das Gehäuse komplett aus recycelbaren Materialien herzustellen.

Im Juni 2010 wird ein sehr sinnvolles Design namens KinetiCompost gezeigt,
das eine schnelle, einfache und umweltfreundliche Möglichkeit darstellt,
nährstoffreichen Kompost für den Garten zu produzieren.
Der durch Windenergie angetriebene Komposter stammt von dem Designstudenten Benjamin Andrew Bangser an der Syracuse University.
Durch die Verwendung eines untersetzten Getriebes (200:1) dreht das Windrad die Komposttonne nur langsam, was die Vorgänge darinnen aber etwa 10-mal schneller ablaufen lassen soll.
Auch dieses Gerät soll zu 100 % aus recyceltem Material hergestellt werden – falls es denn über das Design hinaus umgesetzt wird.

Ein ausgesprochen rundes Design erscheint im Juni 2010 unter
dem Namen Wind2Go.
Dieser kugelförmige portable Windgenerator stammt von Goran Jurisa Basic aus Toronto, Kanada, und ist dessen Beitrag zum Create the Future Wettbewerb der Tech Briefs Media Group.
Der Rotor, der ein wenig an Abluftanlagen erinnert, hat die Maße 40 x 40 x 40 cm, und sitzt direkt auf dem zentrierten Generator. Beides zusammen läßt sich mittels einer Magnetkopplung auf den Basisträger stecken, in dem sich wiederum die Akkus befinden. Dieser kann dann im aufgeladenen Zustand entfernt und für diverse Anwendungszwecke genutzt werden.
Der Desiger rechnet damit, daß sein für Expeditionen, Katstrophenhilfe oder militärische Einsätze gedachter und nur 5 kg schwerer Windball bis zu 30 W generiert.

Schon im August 2010 wird ein weiterer Kugelrotor präsentiert,
der von dem Industriedesigner Arttu-Matti Immonen stammt.
Im Gegensatz zu seinem Vorgänger handelt es sich bei dem Aard Konzept allerdings um ein Sammelsystem, das sowohl Wind-, als auch Solarenergie nutzt und den gewonnen Strom in integrierten Batterien speichert.
Die Doppelnutzung geschieht, indem das System über mehrere flexible Photovoltaik-Module verfügt, die in aufgeklapptem Zustand gleichzeitig als Flügel wirken.
Wird der Wind zu stark, nimmt der Generators wieder eine sichere Kugelform ein.
Herstellen will der Designer seinen Rotor aus Aluminium, um leicht genug zu sein, auch schwachen Wind in Energie umwandeln zu können.
Nichtmetallische Rotorblätter entwickelt dagegen der niederländische
Designstudent Gijsbert Koren, der hierfür eine uralte
grüne Technologie einsetzt.

Sein Rotor, der im August 2010 erstmals öffentlich vorgestellt wird, hat nämlich Blätter aus Bambus, welche die Windmühle aufgrund ihres geringeren Gewichtes effizienter und preisgünstiger als andere Modelle machen sollen. Außerdem sehen diese Blätter wirklich grüner aus, als alles andere, was sich derzeit auf dem Markt befindet.
Koren nutzt als Grundlage den Entwurf der aus dem Jahr 1929 stammenden Bosman-Windmühle, deren Stahl-Flügel er durch Bambus.Flügel ersetzt.
Sein Master-Projekt an der TU Delft, das in Zusammenarbeit mit EvenDimmen, INBAR, Bosman Watermanagement und dem INHolland ComposietenLab Delft umgesetzt wird, hat aber noch einen anderen Hintergedanken.
Das Einkommen der lokalen Handwerker in Indien, welche Bambus-Produkte flechten (vor allem Körbe), ist wegen der Konkurrenz durch billigere Materialien stark heruntergegangen. Die in Indien handgeflochtenen Flügel sollen daher ein neues Produkt bilden, um die Lage der Betreffenden zu verbessern.
Die Flügel befinden sich noch in der Testphase, doch Koren hofft, sie trotzdem schon bald vermarkten zu können. Leider ist davon auch vier Jahre später noch nichts zu sehen.
Ebenfalls in der Testphase befindet sich ein ,neuartiges’,
Windrad, das in Frankreich Energie aus dem Fahrtwind vorbeifahrender
Lkw gewinnen soll. Wobei auf dem veröffentlichten (schlechten) Foto ein
ziemlich konventioneller, mehrstöckiger Savonius-Rotor zu sehen ist,
der von der kooperierenden Firma Cita stammt.
Wie die Presse im August 2010 berichtet, hat der französische Autobahnbetreiber Autoroute Paris-Rhin-Rhône (APRR) in der Region Burgund, an der Autobahn A6 südöstlich von Paris, eine 2 kW Windkraftanlage installiert, an der bis Mitte 2011 gemessen werden soll, wie viel Energie sich tatsächlich aus dem Fahrtwind Trucks gewinnen lasse.
Sollte der Test positiv ausfallen, könnten solche Windräder genutzt werden, um entlang der Autobahn Geräte wie Kameras, Wetterstationen oder Hinweisschilder mit einem Energiebedarf von weniger als 2 kWh zu betreiben, da die Kosten, um diese Geräte per Kabel anzuschließen, sehr hoch sind. Mit dem Ziel einer Versorgung größerer Standorte (Wechselverkehrszeichen, Rastplätze) sollen auch größere Windenergie-Projekte von 8 - 10 kW untersucht werden.
Dem Unternehmen zufolge habe man bereits ab 2008 mit den Planungen begonnen, und auch kleine Modelle mit normalen Windrädern getestet, die aber nicht genug Energie produziert hätten, und daher zum Betrieb der Geräte mit Solarzellen oder Batterien unterstützt werden müßten.
Die aktuellen Tests haben bereits dazu beigetragen, den Prototyp zu ändern. So haben die Form und Größe der Rotorblätter eine Reihe von Verbesserungen erfahren, die zu der gegenwärtigen Größe des Prototyps von 2 x 2 m geführt haben. Außerdem wird eine Druckluftbremse installiert, um die Drehung der Rotorblätter bei starkem Wind zu regulieren.
Leider ließ sich bislang nichts über die Ergebnisse des Versuchs finden, oder ob er weitergeführt wurde bzw. wird.

Im September 2010 wird in den Blogs das Konzept der
koreanischen Designer Sinhyung Cho, Hong Sun
Hye und Ryu Chan Hyeon veröffentlicht, das
unter dem Namen Wind Tunnel den Fahrtwind von U-Bahnen
in den Mega-Städten der Zukunft nutzen soll.
Die spindelförmigen Rotoren sind in gebogenen Schalen integriert, die der Tunnelrundung angepaßt sind, und die an ihrer Spitze eine Lichtquelle tragen, die aus dem selbst gewonnen Strom gespeist wird.
Überschußenergie soll verwendet werden, um verschiedene öffentliche Einrichtungen auf ebener Erde mit Strom zu versorgen.

Auch in Falle dieser Technologie möchte ich ähnliche Designs gleich im
Anschluß behandeln, denn davon gibt es so einige, auch wenn sie aus
dem Folgejahr stammen.
Bei dem Konzept Voltair des Industriedesigners Luís Castanheira aus Lissabon, Portugal, das im Februar 2011 gezeigt wird, handelt es sich um eine Windkraftanlage, die auf dem Mittelstreifen einer Autobahn plaziert wird.
In diesem Fall sind es die vorbeifahrenden Autos, deren Fahrtwind die kleinen Vertikalachen-Rotoren in Bewegung setzen.

Ein weiteres System für Züge, das in diesem Fall aber in das Schienenbettt
selbst eingelassen ist, stammt von den Designern Qian Jiang und Ale
Leonetti Luparinia aus Lund, Schweden, und erscheint im März 2011 in
den Fachblogs.
Das T-Box genannte Kompaktgerät, das zwischen die Schwellen montiert wird, nutzt die von einem fahrenden Zug erzeugte Windenergie, und soll alle mechanischen Komponenten für die Nutzung, Speicherung und Bereitstellung des gewonnenen Stroms beinhalten. Als Rotor ist ein dreiblättriger, gewundener Darrieus vorgesehen.
Die so erzeugte Energie soll an öffentliche Einrichtungen entlang der Bahnstrecke geliefert werden, die in entlegenen Gebieten möglicherweise noch nicht ans Stromnetz angeschlossen sind.
Die Designer rechnen vor, daß auf einer 1.000 m langen Eisenbahnstrecke etwa 150 T-Boxen untergebracht werden können. Ein ca. 200 m langer Zug mit einer Geschwindigkeit von 300 km/h würde für diese Strecke etwa 18 Sekunden brauchen – und dabei immerhin 2,6 kWh erzeugen.
Das Konzept war bereits 2010 mit dem LITE-ON Award des gleichnamigen chinesischen LED-Herstellers ausgezeichnet worden.
Doch so schön diese Idee auch ist – selbst im Nahverkehr mit Minutentakt
würde die Stillstandszeiten die Nutzungsdauer bei weitem überwiegen.
Trotzdem gibt es immer wieder Menschen, die sich mit derartigen Konzepten
beschäftigen.
Im Februar 2013 sind dies z.B. Studenten der Delhi University in Indien, welche die Genehmigung für ein Pilotprojekt erhalten, bei dem sie die schnellen Winde von U-Bahn-Zügen nutzen wollen, um Energie zu produzieren.
Der Vorschlag, der von einem Team aus 10 Studenten und zwei Lehrern entwickelt wurde, umfaßt kleine Turbinen, die an strategischen Stellen des insgesamt 196 km langen, und über 142 Stationen verfügenden U-Bahn-Netzes von Delhi installiert werden sollen. Um die optimalen Standorte zu erkennen, werden die Daten der Delhi Metro Rail Corp. mit den Geschwindigkeiten der Züge analysiert. Sabei stellt sich heraus, daß die besten Positionen Tunnel-Einfahrten und Übergangspunkte sind, wo die Züge von Untergrundstrecken zu offenen Abschnitten wechseln.
Nach Berechnungen des Teams können unter idealen Bedingungen pro Stunde 500 Wh erzeugt werden, nach Abzug von Reibung und anderen Verlusten etwa noch 200 Wh, was 4,8 kWh pro Tag entspricht. Nun soll als Pilotprojekt eine Turbine in einer der U-Bahn-Stationen der Stadt installiert werden.
Eine weitere ungewöhnliche Technologie wird im September 2010 von
dem tunesischen Erfinder Anis Aouini zum internationalen
Patent angemeldet (WO-Nr. 2012/039688).

Öffentlich bekannt wird das Saphonian genannte System allerdings erst im März 2012, als das von Aouini und seinem Partner Hassine Labaied 2013 gegründete und in Tunis beheimatete Startup Saphon Energy damit an die Öffentlichkeit geht. Der Name hat Punischen Wurzeln, da während der Ära des karthagischen Reiches (814 - 146 v. Chr.) ein Baal Saphon als Gottheit des Windes verehrt wurde.
Die neue Windkonverter besitzt keine rotierenden Blätter, stattdessen bewegt sich ein Segel-förmiger Körper mit dem Wind hin und her, und wandelt seine kinetische Energie in mechanische Energie, um Kolben zu bewegen. Die Bewegung in Form eines dreidimensionalen Achter-Musters sei größtenteils von Segelbooten inspiriert. Die Bewegungen der Kolben erzeugen einen Hydraulikdruck, der entweder in einem Hydraulikspeicher gespeichert, oder durch einen Hydraulikmotor und Generator in Elektrizität überführt werden kann.
Im Laufe der zwei Jahre werden mehrere Prototypen entworfen, entwickelt und getestet, wobei der ursprüngliche Entwurf radikal weiterentwickelt und verbessert wird. Mutig wird behauptet, daß die neue Technologie 2,3 mal so effizient sei, wie übliche Turbinen mit ihrem Wirkungsgrad zwischen 30 % und 40 %, und mindestens um 50 % billiger. Im Labor habe der Saphonian 78 % der Windenergie in Strom umgewandelt – was weit über der Betz-Grenze liegt.

Der Firma zufolge würde die neueste Prototyp-Version V.2 außerdem beweisen, daß der Saphonian robust, widerstandsfähig, und genauso einfach skalierbar ist, wie die aktuellen Blatt-Windkraftanlagen. Das nun vorgestellte Modell hat einen Durchmesser von 1,2 m bzw. eine Fläche von 1,13 m2, es besitzt 5 Kolben und eine hydraulische Energieübertragung.
Sobald ein Hersteller für die auch Zero-Blade genannte Technologie gefunden ist, soll es rund 18 bis 24 Monate dauern, bis das erste kommerzielle Gerät auf dem Markt zu bekommen sei – hoffen die Initiatoren.
Im Mai 2012 wird die Erfindung mit dem erstmals verliehenen Prix de l’Innovation KPMG ausgezeichnet; im Juni spricht Labaied auf dem TEDGlobal 2012 in Edinburgh, Schottland; und im November gibt es den von Intel und Abraj Capital gesponserten Preis der Maghreb Startup Initiative.
Der Sustainable Entrepreneurship Award 2013 in Wien, Österreich, wird dem System im April in der Kategorie ,Beste Idee’ verliehen, dazu gibt es in diesem Jahr auch noch einen Innovation Prize for Africa 2013 in Kapstadt, Südafrika. In der Presse erscheint das System auch 2014 noch ein paar mal – doch von einer kommerziellen Umsetzung, welche die skeptischen Kommentatoren eines Besseren belehren würde, ist noch immer nichts zu sehen. Hatte der verstorbene Carl Sagan doch berechtigtermaßen gesagt: „Außergewöhnliche Ansprüche erfordern außergewöhnliche Beweise.“

Im Oktober 2010 werden wieder einige neue Designs veröffentlicht,
wie beispielsweise die Solar Wind Mill von Dae
Yong Kim aus Korea.
Bei diesem Entwurf handelt es sich um eine Solarleuchte, deren Kranz aus PV-Paneelen sich in die Form eines liegenden Vielblatt-Windrotors umwandelt, sobald es dunkel wird.
Damit kann eine fast durchgehende Energieversorgung erwartet werden, welche zum Aufladen des lampeneigenen Akkus dient.
Ein ähnlicher Vielblatt-Rotor, der den schon weit über 100 Jahre alten
Texas-Windrotoren entspricht, begegnet uns im selben Monat – unter
dem schon fast inflationären Namen Aeolus System.

Das Interessante an diesem mobilen Konzept, das von der in den USA ansässigen Firma Engineering For The Earth Inc. vorgestellt wird, ist sein Zweck, nämlich Wasser zu entsalzen.
Entsalzung ist ein energieintensiver Prozeß, und die gegenwärtig wirtschaftlichste Form, die Umkehrosmose, benötigt dafür mehr als 3 kWh pro Kubikmeter Trinkwasser. Um Energie dafür zu liefern, werden vermehrt Windkraftanlagen und Photovoltaiksysteme verwendet.
Die neue Methode wandelt die Windenergie dagegen direkt in Wasserdruck für den Einsatz in Umkehrosmose-Anlagen um - ohne sie zunächst in elektrische Energie zu transformieren, wie es bislang üblich war. Die Umgehung der elektrischen Leistung hat der Firma zufolge mehrere signifikante Vorteile, darunter eine verbesserte Robustheit, höhere Zuverlässigkeit und niedrigere Kosten.
Das Aeolus-System benötigt nur minimale Windgeschwindigkeiten, um pro Einheit Trinkwasser für Gemeinden von bis zu 500 Personen zu liefern.
Das Unternehmen entwickelt hierfür feste Einheiten mit Rotorendurchmessern von 2,4 – 6 m, sowie die abgebildete transportable Version mit einerm 3,6 m Rotor. Während die kleineren Modelle zum Reinigen und Entsalzen von Brackwasser gedacht sind, kann mit den größeren Modellen auch Meerwasser entsalzt werden.
Es läßt sich jedoch nichts darüber finden, daß diese Projekte tatsächlich auch verwirklicht wurden.

Ebenfalls im Oktober 2010 wird mit dem Greenerator des
Designers Jonathan Globerson aus Sunny Isles Beach,
Florida, eine Kombination aus Solarmodul mit flexiblen Zellen und gewundener
Savonius-Windturbine vorgestellt, die sich mit wenig Aufand am Geländer
eines Balkons installieren läßt.
Das Konzept ist als Alternative für Mieter gedacht, die in einer Wohnung leben. Schließlich lassen sich Solarmodule nur schwer auf dem Balkon oder der Terrasse installieren, und viele Vermieter erlauben noch nicht einmal die Anbringung einer Schüssel für den Sat-Empfang.
Laut Globerson kann jede Einheit die Stromrechnung um mindestens 6 % reduzieren. Ob es der Greenerator auf den Markt schafft, ist allerdings ebenso unbekannt wie der Preis des interessanten Geräts. Bislang existiert nur ein Prototyp im Maßstab 1:4.
Und auch in diesem Monat wird wieder eine neue ,seltsame’ Windmühle
präsentiert, die diesmal auf den Erfinder Scott Apthorp aus
Erie, Pennsylvania, zurückgeht – der nun auf Suche nach Finanzierungsmöglichkeiten
für einen Prototypen ist.

Nachdem er bereits 15.000 $ für die Patentrecherche investiert hat, hat er selbst kein Geld mehr dafür. Zwar hatte bereits im Februar eine Firma namens Ashland Technology Inc. Interesse an der Innovation angemeldet, doch zu einer produktiven Zusammenarbeit scheint es nicht gekommen zu sein.
Die Apthorp Windmill ist ein Senkrechtachser mit sehr schmalen Blättern, dessen Leistung nicht an eine zentrale Antriebswelle abgegeben werden soll, sondern über strominduzierende Magnete, die an einem Paar von riesigen horizontalen Ringen angebracht sind.
Apthorp zufolge sollen die einzelnen Rotoren einer auf dem anderen gestapelt werden. Mehr als ein kleines Modell existiert bislang nicht.
Allerdings nimmt sich das MFX Design Studio aus Fairview, Pennsylvania, der Innovation an, und entwickelt gemeinsam mit Apthorp Bilder und Animationen von seinem patentierten Design, die dazu beigetragen sollen, potentielle Investoren oder Käufer für die neue Technologie zu gewinnen.
Die erwähnte Patentierung ließ sich noch nicht verifizieren, da ein von Apthorp 2008 angemeldetes Patent unter dem ,Namen Modular wind turbine system’ einen völlig anderen Aufbau hat (US-Nr. 8.148.841, erteilt 2012).
Im November 2010 erhält der Leipziger Hersteller Windependence
UG & Co. KG von Jo Nebe den Sonderpreis
des Innovationspreises der Industrievereinigung Verstärkte Kunststoffe
(AVK) für seine mobile Kleinwindkraftanlage Leewise 1000.

Die 350 W Anlage (bei 13 m/s), die sich in wenigen Minuten aufbauen und beispielsweise auch auf dem Dach montieren läßt, hat einen Durchmesser von 1 m, stabile Rotorblätter aus CFK-Laminat, wiegt nur 6 Kilo, und arbeitet besonders leise. In einem Meter Abstand wurden bei 8 m/s nur 50 Dezibel gemessen.
Als Preis werden 2.000 € angegeben, zu denen aber noch ein Batterieregelsystem für rund 500 € kommt, wenn man Akkus an das Windrad anschließen will, um auch in windarmen Zeiten Strom zu haben. Dazu kommen dann noch die Batterien selbst.
Auf der WindEnergy Business Conference der Deutsch-Amerikanischen Handelskammer im November in Chicago wird das System ebenfalls vorgestellt, und zwar von Vertretern der 2010 gegründeten Firma Autark Energy LLC aus Charleston, South Carolina, die als Tochtergesellschaft der Windependence auftritt.
Beim aktuellen Update Ende 2014 ist von den Firmen ebensowenig etwas zu finden, wie weitere Meldungen über den im Grunde interessant gestalteten Rotor.

Unter dem Titel Viva Light Tower wird ebenfalls im November 2010 in
den Blogs eine weitere netzunabhängige Straßenlampe präsentiert, die
neben Wind und Sonne auch noch biochemische Quellen zu ihrer Stromversorgung
nutzt.
Die Laterne, die aus dem in São Paulo, Brasilien, beheimateten Büro Chelles Hayashi Designs stammt, sieht wie eine interessante Idee aus, wird vermutlich aber aber ziemlich teuer werden.
Während oben an dem Laternenmast ein Windrotor mit aufgesetztem PC-Paneel rotiert, ist im unteren Teil ein Pflanzenkübel angebracht (samt Klettergerüst), unter dem sich ein integrierter Gärbehälter für organische Abfälle befindet.
Es ist kaum damit zu rechnen, daß dieses Konzept in absehbarer Zeit umgesetzt wird.
Möglicherweise praktikabler ist dagegen der Entwurf von Kleinrotoren,
die in Baukastenform miteinander verbunden werden.

Das Konzept unter dem anscheinend recht beliebten Namen Wind Cube stammt von den chinesischen Designern Liao-Hsun Chen und Wen-Chih Chang.
Der einzelne 100 W Windkraftgenerator, der sich an die Wand schrauben läßt, besteht aus Flügeln, dem Generator, einer Teleskopwelle, damit der Rotor herausgezogen oder wieder in den Träger versenkt werden kann, sowie den entsprechenden Stromsteckern zum Anschließen weiterer Einheiten.
Den Entwicklern zufolge sollen 15 Stück dieser Rotoren für einen 4-Personen-Haushalt ausreichen, da die einzelne Einheit (geschätzt) bis 21,6 kWh pro Monat erzeugt. Die hier angesetzte sehr niedrige Verbrauchsmenge soll für China zutreffen.
Das Design gewinnt einen der diesjährigen Liteon Awards, außerdem wird es mit dem International Design Excellence Award 2011 ausgezeichnet.
In diesem Jahr 2010 wird in Bethesda, Maryland, die
Firma Altenera Technology Inc. gegründet, die mit einem
recht ähnlich aufgebauten Modularsystem auf dem Markt kommen möchte,
das allerdings auf einem völlig anderen Energiewandler basiert.

Das Patent war bereits 2009 unter dem Titel ,Apparatus for harvesting energy from flow-induced oscillations and method for the same’ angemeldet worden (US-Nr. 8.258.644, erteilt 2012; vgl. US-Nr. 8.519.554, angemeldet 2010, erteilt 2013). Als Erfinder ist ein Morris A. Kaplan aus Rockville, Maryland, genannt.
In die Presse kommt die neue Windenergielösung namens BreezBee allerdings erst im Januar 2013, als Altenera unter die Finalisten des Cleantech Open Southeast Wettbewerbs gewählt wird.
Das kostengünstige, mobile, leichte und leise Wind-Harvester-Panel-System ist für nahezu alle Windverhältnisse geeignet, und soll auch eine hohe Leistung erreichen – die bislang allerdings nirgendwo näher beziffert wird.

Das interessante ist, daß auch diese Innovation ohne rotierende Teile auskommt, und dementsprechend auch keine Funkstörungen verursachen soll. Zum Ernten des Windes wird die patentierte, technisch solide und hocheffiziente Technologie verwendet, die auf vibrierenden Blättern, ähnlich Stimmgabeln, basiert.
Im Patent wird die Vorrichtung als ein Verfahren unter Verwendung eines quasi-stationären Oszillationsprozesses zur Stromerzeugung beschrieben, der durch die Wechselwirkung zwischen einer turbulenten Strömung und einer elastischen Schwingstruktur innerhalb eines magnetischen Feldes entsteht.
Die Vibrationswandler sind jeweils in modulare und einfach zu montierende Platten eingebaut, die wie Legosteine in Arrays kombiniert auf jede beliebige Größe skaliert werden können.
Die Firma kann ihr System im Februar 2013 auch auf dem ARPA-E Summit in Washington, D.C., vorstellen, wo es zumindest ins Halbfinale kommt, und im Juli gibt es eine Seed-Finanzierung von der Maryland Technology Development Corp. (TEDCO), einer unabhängigen Organisation, welche die Kommerzialisierung der Technologien aus Marylands Forschungsuniversitäten und Labors erleichtern soll.
Im Januar 2014 investiert die TEDCO 1,3 Mio. $ in 13 Start-ups des Bundesstaates, wobei auch Altenera mit 100.000 $ bedacht wird. Vielleicht hilft das dabei, den nächsten Schritt zu tun, und einen verifizierbaren Prototypen herzustellen.
Eine weitere Firma, die 2010 gegründet wird, ist die Agri
Wind Turbines von Jeff Brown aus Little Rock,
Arkansas.
Der Air-Force-Veteran Brown startet sein Unternehmen mit Hilfe des Arkansas Small Business and Technology Development Center (ASBTDC), um aus dem Small Business Innovation Research (SBIR)-Programm die Finanzierung der erforderlichen F&E-Arbeiten zu bekommen.
2011 gibt es einen Technology Transfer Assistance Grant von der Arkansas Science and Technology Authority um Browns Marktforschung zu unterstützen, und im September 2012 einen Zuschuß in Höhe von 100.000 $ aus dem US-Landwirtschaftsministerium, der verwendet werden soll, um bis Anfang 2014 die Machbarkeit der Technologie durch Computer-Modellierung zu testen.
Bei dem Projekt geht es darum, modifizierte Getreidesilos zu verwenden, um darauf Low-Cost-Vertikalachser-Windkraftanlagen zu installieren, deren gewonnene Energie als Druckluft in bestehenden oder neuen Silos gespeichert werden soll. Positiv für die Farmer ist, daß sie bei diesem Ansatz ihre bestehende Infrastruktur und Netzanbindung nutzen könnten.
Eine praktische Umsetzung ist bisher noch nicht erfolgt.
Ebenfalls im Jahr 2010 teilt sich die bereits 2000 gegründete
norwegische Firma SWAY AS, ein Spezialist für schwimmende Fundamente
von Offshore-Windkraftanlagen, in zwei eigenständige Unternehmen.

Während das eine unter dem bisherigen Namen auch weiterhin das angestammte Feld bedient, soll das Technologieunternehmen SWAY Turbine AS, mit Sitz in Bergen, ausschließlich eine getriebelose und leichte 10 MW Offshore-Windkraftturbinene entwickeln und vermarkten, für die feste und schwimmende Träger geeignet ist. Die Kommerzialisierung der Technologie ab dem Jahr 2015 soll dann mit anderen industriellen Partnern zusammen erfolgen.
Zu diesem Zeitpunkt stecken schon 7 Jahre an dynamischen Simulationen und Engineering in der Entwicklung, welche es ermöglicht haben, die grundlegenden Herausforderung der Hochskalierung durch mehrere ungewöhnliche Design-Lösungen zu überwinden, wie es so schön heißt.
Die ST10 Turbine hat einen Generator in Form eines Permanentmagnet-Ringes mit großem Durchmesser, der direkt von dem Rotor angetrieben wird. Jedes der drei Blätter ist an einer A-Rahmen-Trägerstruktur montiert, die den Generator überspannt.
Die Beine der Stützstruktur enden auf zwei unabhängigen Achsen, die auch als die Naben für den Generatorrotor dienen, während der äußere Rand des Generator-Rotors mit der Stützstruktur verbunden ist, um den Drehmoment vom Turbinenrotor zum Generator zu übertragen.
Im Oktober 2012 erläutert CTO und Mitbegründer Eystein Borgen die wichtigsten Merkmale der ST10 Offshore-Anlage auf einer internationalen Konferenz über Antriebskonzepte in Bremen, Deutschland. Sabei wird bekannt, daß das Unternehmen mit einer geschätzten Reduktion der Turbinenkosten im Vergleich zum derzeitigen Stand der Technik um 15 – 20 % rechnet.
Nun ist geplant, an der norwegischen Westküste, in der Nähe des Firmensitzes in Bergen, eine Pilotanlage in voller Größe mit einem Rotordurchmesser von 145 m zu installieren (andere Quellen: 164 m). Die Konzession hierfür wurde von der norwegischen Regierung bereits gewährt, und der staatseigene ENOVA-Fonds stellt 137 Mio. norwegische Kronen für das Projekt bereit.
Sway hatte bereits im März 2011 einen Prototypen (mit konventionellem Rotor) im Maßstab 1:6 zu Wasser gebracht, der jedoch bald darauf gesunken ist. Grund war die zu geringe Höhe des Schwimmers, der die Anlage über Wasser halten sollte. Bei 6,3 m hohen Wellen lief er voll.
Weitere Details über die neuartige ST10 Windturbine gibt es bislang nicht.
Anmerkung: Über Offshore-Windkraftanlagen gibt
es bereits ein eigenes Kapitelteil, das in Zukunft noch ausgebaut werden
soll (s.d.). Geplant ist ferner eine eigene Präsentation der Entwicklung
schwimmender Anlagen, da ich diese wesentlich sinnvoller erachte, als
Systeme mit massiven und schweren Fundamentierungen.
Weiter mit der Chronologie der neuen Designs und Rotorformen...